Розмелювальні машини і механізми з вальцьовим робочим органом
Механізми з вальцьовим робочим органом призначені для подрібнення і розтирання горіхів і розтирання маку.
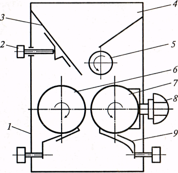
| Рис. 4.4 Механізм МДПІІ-1 з вальцьовим робочим органом 1 – корпус; 2 – регулювальний гвинт шибера; 3 – шибер; 4 – завантажувальний бункер; 5 - постачальний валок; 6 – ведучий розмелювальний валок; 7 – ведений розмелювальний валок; 8 – гвинт для регулювання зазору між валками; 9 - скребок |
Механізм МДПІІ(рис. 4.4) складається з корпуса, завантажувального бункера і редуктора. Робочими органи є валки, на які продукт подається через постачальний валок та шибер.
Корпус виконаний у вигляді двох щік, з'єднаних між собою стяжками. У щоках запресовані втулки, які відіграють роль підшипників ковзання для постачального і гладкого розмелювального валків.
Шибер призначений для регулювання ширини щілини, через яку продукт потрапляє на розмелювальні валки. Ширина щілини між постачальним валком і шибером може змінюватися за допомогою регулювального гвинта. У нижній частині корпуса розміщені скребки, що фіксуються гвинтом.
Обертання від привода універсальної кухонної машини через хвостовик передається безпосередньо ведучому валку, а від нього через шестерні – змінному веденому і постачальному валкам.
Ведений валок є змінним. Відстань між валками регулюється гвинтом.
Розмелювальні валки обертаються з різною частотою (170 і 200 об/хв) на зустріч один одному, забезпечуючи короткочасну дію на продукт, який піддається деформації стискання і зсуву. В нижній частині корпуса по дотичній до циліндричних поверхонь розмелювальних валків встановлено два скребка, які очищують поверхню валків від продукту.
Таблиця 4.2 Технічна характеристика розмелювальних машин і
Дата добавления: 2015-08-26; просмотров: 1397;
