Методика проведения измерений и описание экспериментальной установки.
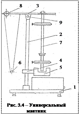
Общий вид универсального маятника представлен на рисунке 3.4.
На основании 1 закреплена колонка 2, на которой зафиксирован верхний кронштейн 3 и нижний кронштейн 4 с фотоэлектрическим датчиком 5.
После отвинчивания воротка 9 верхний кронштейн можно поворачивать вокруг колонки.
С одной стороны кронштейна 3 находится математический маятник 6, с другой на вмонтированных вкладышах – оборотный маятник 7.
Длину математического маятника можно регулировать при помощи воротка 8, а ее величину можно определить при помощи шкалы на колонке 2.
Оборотный маятник выполнен в виде стального стержня, на котором фиксированы два повернутые друг к другу лезвиями ножа и два подвижных груза.
Нижний кронштейн вместе с фотоэлектрическим датчиком можно перемещать вдоль колонки и фиксировать в произвольно выбранном положении.
Дата добавления: 2015-02-19; просмотров: 492;
