РАСЧЕТ ЗВУКОИЗОЛЯЦИИ ВНУТРЕННИХ ОГРАЖДАЮЩИХ КОНСТРУКЦИЙ ЖИЛЫХ И ОБЩЕСТВЕННЫХ ЗДАНИЙ
3.1 Индекс изоляции воздушного шума однослойными ограждающими конструкциями, а также двухслойными глухими остеклениями и перегородками, выполненными в виде двух облицовок по каркасу с воздушным промежутком, следует определять на основании рассчитанной частотной характеристики изоляции воздушного шума. Индекс изоляции воздушного шума перекрытиями с полом по упругому основанию и индекс приведенного уровня ударного шума под перекрытиями определяются непосредственно (без построения расчетных частотных характеристик). Допускается при ориентировочных расчетах определять индекс изоляции воздушного шума однослойными массивными ограждающими конструкциями (с поверхностной плотностью от 100 до 800 кг/м2) непосредственно без построения расчетной частотной характеристики изоляции воздушного шума.
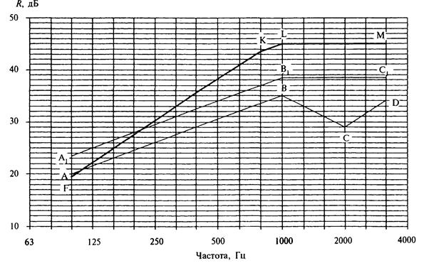
3.2 Частотную характеристику изоляции воздушного шума однослойной плоской ограждающей конструкцией сплошного сечения с поверхностной плотностью от 100 до 800 кг/м2 из бетона, железобетона, кирпича и тому подобных материалов следует определять, изображая ее в виде ломаной линии, аналогичной линии ABCD на рисунке 1.
Абсциссу точки В - fв следует определять по таблице 8 в зависимости от толщины и плотности материала конструкции. Значение fв следует округлять до среднегеометрической частоты, в пределах которой находится fв. Границы третьоктавных полос приведены в таблице 9.
Ординату точки В - Rвследует определять в зависимости от эквивалентной поверхностной плотности тэпо формуле
Rв = 20 lgтэ - 12, дБ. (5)
Таблица 8
| Плотность бетона g, кг/м3 | fв, Гц |
| ³ 1800 | 29000/h |
| 31000/h | |
| 33000/h | |
| 35000/h | |
| 37000/h | |
| 39000/h | |
| 40000/h | |
| Примечания 1 h - толщина ограждения, мм. 2 Для промежуточных значений gчастота fв определяется интерполяцией. |

Рисунок 1 - Частотная характеристика изоляции воздушного шума однослойным плоским ограждением
Таблица 9
| Среднегеометрическая частота 1/3-октавнойполосы | Границы 1/3-октавной полосы |
| 45 - 56 | |
| 57 - 70 | |
| 71 - 88 | |
| 89 - 111 | |
| 112 - 140 | |
| 141 - 176 | |
| 177 - 222 | |
| 223 - 280 | |
| 281 - 353 | |
| 354 - 445 | |
| 446 - 561 | |
| 562 - 707 | |
| 708 - 890 | |
| 891 - 1122 | |
| 1123 - 1414 | |
| 1415 - 1782 | |
| 1783 - 2244 | |
| 2245 - 2828 | |
| 2829 - 3563 | |
| 3564 - 4489 | |
| 4490 - 5657 |
Эквивалентная поверхностная плотность тэопределяется по формуле
тэ= К т, кг/м2, (6)
где т - поверхностная плотность, кг/м2 (для ребристых конструкций принимается без учета ребер);
К - коэффициент, учитывающий относительное увеличение изгибной жесткости ограждения из бетонов на легких заполнителях, поризованных бетонов и т.п. по отношению к конструкциям из тяжелого бетона с той же поверхностной плотностью.
Для сплошных ограждающих конструкций плотностью g = 1800 кг/м3 и более К = 1.
Для сплошных ограждающих конструкций из бетонов на легких заполнителях, поризованных бетонов; кладки из кирпича и пустотелых керамических блоков коэффициент К определяется по таблице 10.
Таблица 10
| Вид материала | Класс | Плотность, кг/м3 | К |
| Керамзитобетон | В 7,5 | 1500 - 1550 | 1,1 |
| 1300 - 1450 | 1,2 | ||
| 1,3 | |||
| 1,4 | |||
| В 12,5 - В 15 | 1700 - 1750 | 1,1 | |
| 1500 - 1650 | 1,2 | ||
| 1350 - 1450 | 1,3 | ||
| 1,4 | |||
| Перлитобетон | В 7,5 | 1400 - 1450 | 1,2 |
| 1300 - 1350 | 1,3 | ||
| 1100 - 1200 | 1,4 | ||
| 950 - 1000 | 1,5 | ||
| Аглопоритобетон | В 7,5 | 1,1 | |
| 1100 - 1200 | 1,2 | ||
| 950 - 1000 | 1,3 | ||
| В 12,5 | 1500 - 1800 | 1,2 | |
| Шлакопемзобетон | В 7,5 | 1600 - 1700 | 1,2 |
| В 12,5 | 1700 - 1800 | 1,2 | |
| Газобетон, пенобетон, газосиликат | В 5,0 | 1,5 | |
| 1,6 | |||
| 1,7 | |||
| Кладка из кирпича, пустотелых керамических блоков | 1500 - 1600 | 1,1 | |
| 1200 - 1400 | 1,2 | ||
| Гипсобетон, гипс (в том числе поризованный или с легкими заполнителями) | В 7,5 | 1,3 | |
| 1,4 | |||
| 1,5 | |||
| 1,6 |
Для ограждений из бетона плотностью 1800 кг/м3 и более с круглыми пустотами коэффициент К определяется по формуле
, (7)
где j - момент инерции сечения, м4;
b - ширина сечения, м;
hпр - приведенная толщина сечения, м.
Для ограждающих конструкций из легких бетонов с круглыми пустотами коэффициент К принимается как произведение коэффициентов, определенных отдельно для сплошных конструкций из легких бетонов и конструкций с круглыми пустотами.
Значение RВследует округлять до 0,5 дБ.
Построение частотной характеристики производится в следующей последовательности: из точки В влево проводится горизонтальный отрезок ВА, а вправо от точки В проводится отрезок ВС с наклоном 6 дБ на октаву до точки С с ординатой RС = 65 дБ, из точки С вправо проводится горизонтальный отрезок CD. Если точка С лежит за пределами нормируемого диапазона частот (fС > 3150 Гц), отрезок CD отсутствует.
Пример 4.Построить частотную характеристику изоляции воздушного шума перегородкой из тяжелого бетона плотностью 2300 кг/м3 и толщиной 100 мм.
Построение частотной характеристики производим в соответствии с рисунком 1. Находим частоту, соответствующую точке В,по таблице 8:
Гц.
Округляем до среднегеометрической частоты
-октавной полосы, в пределах которой находится fВ.
Определяем поверхностную плотность ограждения т = gh, в данном случае т = 2300×0,1 = 230 кг/м2.
Определяем ординату точки В по формуле (5), учитывая, что в нашем случае К = 1:
RB = 20 lgmэ - 12 = 20 lg230 - 12 = 35,2 » 35 дБ.
Из точки В влево проводим горизонтальный отрезок ВА, вправо от точки В - отрезок ВС снаклоном 6 дБ на октаву до точки С с ординатой 65 дБ. Точка С соответствует частоте 10 000 Гц, т.е. находится за пределами нормируемого диапазона частот.
Рассчитанная частотная характеристика изоляции воздушного шума рассмотренной перегородкой приведена на рисунке 2.

Рисунок 2 - Расчетная частотная характеристика к примеру 4
В нормируемом диапазоне частот изоляция воздушного шума составляет:
| f, Гц | ||||||||
| R, дБ |
Продолжение
| f, Гц | ||||||||
| Л, дБ |
Пример 5. Построить частотную характеристику изоляции воздушного шума перегородкой из керамзитобетона класса В 7,5, плотностью 1400 кг/м3 и толщиной 120 мм.
Находим частоту, соответствующую точке В, по таблице 8, при g = 1400 кг/м3 она составит:
Гц.
Округляем до среднегеометрической частоты
-октавной полосы, в пределах которой находится fВ.
Определяем поверхностную плотность ограждения т = gh = 1400×0,12 = 168 кг/м2.
Определяем ординату точки В. По таблице 10 находим коэффициент К = 1,2, следовательно эквивалентная поверхностная плотность составляет тэ= 168×1,2 = 201,6 кг/м2, а величина RВ = 20 lg201,6 - 12 = 34 дБ.
Из точки В влево проводим горизонтальный отрезок ВА, а вправо от точки В - отрезок ВС с наклоном 6 дБ на октаву до точки С с ординатой 65 дБ. Точка С в нашем случае находится за пределами нормируемого диапазона частот (рисунок 3).
В нормируемом диапазоне частот изоляция воздушного шума перегородкой составляет:
| f, Гц | ||||||||
| R, дБ |
Продолжение
| f, Гц | ||||||||
| R, дБ |
Пример 6.Построить частотную характеристику изоляции воздушного шума несущей частью перекрытия из многопустотных плит толщиной 220 мм и приведенной толщиной 120 мм, выполненных из тяжелого бетона плотностью g = 2500 кг/м3.
Для определения коэффициента К необходимо вычислить момент инерции сечения j.

Рисунок 3 - Расчетная частотная характеристика к примеру 5
Многопустотная плита шириной 1,2 м имеет 6 круглых пустот диаметром 0,16 м, расположенных посредине сечения. Момент инерции находим как разность моментов инерции прямоугольного сечения (j =
) и шести круглых пустот (j =
):
м4.
Определяем коэффициент К по формуле (7)
.
Средняя плотность плиты (с учетом пустотности) составляет 1364 кг/м3. По таблице 8 определяем частоту, соответствующую точке В:
Гц.
Округляем до среднегеометрической частоты третьоктавной полосы, в пределах которой находится fВ.
Определяем эквивалентную поверхностную плотность конструкции
тэ = 1,2×2500×0,12 = 360 кг/м2.
Находим по формуле (5) ординату точки В
RВ = 20 lgтэ, - 12 = 20 lg360 - 12 = 39,1 » 39 дБ.
Округляем до 0,5 дБ.
Из точки В влево проводим горизонтальный отрезок ВА, вправо - отрезок ВС с наклоном 6 дБ на октаву. Точка С попадает на последнюю третьоктавную полосу нормируемого частотного диапазона 3150 Гц (рисунок 4).
В нормируемом диапазоне частот изоляция воздушного шума составляет:
| f, Гц | ||||||||
| R, дБ |
Продолжение
| f, Гц | ||||||||
| R, дБ |

Рисунок 4 - Расчетная частотная характеристика к примеру 6
3.3 При ориентировочных расчетах индекс изоляции воздушного шума ограждающими конструкциями сплошного сечения из материалов, указанных в 3.2, допускается определять по формуле
Rw =37 lgm + 55 lgK -43, дБ. (8)
Пример 7. Рассчитать индекс изоляции воздушного шума многопустотной плиты перекрытия из тяжелого бетона плотностью 2500 кг/м3, толщиной 220 мм и приведенной толщиной 120 мм.
Коэффициент К был вычислен в примере 6, К = 1,2.
Определяем поверхностную плотность плиты т = 2500×0,12 = 300 кг/м2. Индекс изоляции воздушного шума составит:
Rw =37 lg300 + 55 lg1,2-43 = 91,65 + 4,35 - 43 = 53 дБ.
3.4 Расчеты, изложенные в 3.2 и 3.3, дают достоверные результаты при отношении толщины разделяющего ограждения (подлежащего расчету) к средней толщине примыкающих к нему ограждений в пределах
0,5 < h/hприм < 1,5.
При других отношениях толщин необходимо учитывать изменение звукоизоляции DR за счет увеличения или уменьшения косвенной передачи звука через примыкающие конструкции.
Для крупнопанельных зданий, в которых ограждающие конструкции выполнены из бетона, железобетона, бетона на легких заполнителях, поправка DR имеет следующие значения:
при 0,3 < h/hприм < 0,5 DR = +1 дБ;
при 1,5 < h/hприм < 2 DR = -1 дБ;
при 2 < h/hприм < 3 DR = -2 дБ.
Для зданий из монолитного бетона величина DR должна быть уменьшена на 1 дБ.
В каркасно-панельных зданиях, где элементы каркаса (колонны и ригели) выполняют роль виброзадерживающих масс в стыках панелей, вводится дополнительно поправка к результатам расчета DR = +2 дБ.
3.5 Частотную характеристику изоляции воздушного шума однослойной плоской тонкой ограждающей конструкцией из металла, стекла, асбоцементного листа, гипсокартонных листов (сухой гипсовой штукатурки) и тому подобных материалов следует определять графическим способом, изображая ее в виде ломаной линии, аналогичной линии ABCD на рисунке 5.
Координаты точек В и С следует определять по таблице 11, при этом значения fB и fCокругляются до ближайшей среднегеометрической частоты
-октавной полосы. Наклон участка АВ (рисунок 5) следует принимать 4,5 дБ на октаву, участка CD - 7,5 дБ на октаву.

Рисунок 5 - Частотная характеристика изоляции воздушного шума однослойным плоским тонким ограждением
Таблица 11
| Материалы | Плотность, кг/м3 | fB, Гц | fC, Гц | RB, дБ | RC, дБ |
| 1. Сталь | 6000/h | 12000/h | |||
| 2. Алюминиевые сплавы | 2500 - 2700 | 6000/h | 12000/h | ||
| 3. Стекло силикатное | 6000/h | 12000/h | |||
| 4. Стекло органическое | 17000/h | 34000/h | |||
| 5. Асбоцементные листы | 9000/h | 18000/h | |||
| 9000/h | 18000/h | ||||
| 10000/h | 20000/h | ||||
| 6. Гипсокартонные листы (сухая гипсовая штукатурка) | 19000/h | 380000/h | |||
| 19000/h | 38000/h | ||||
| 7. Древесно-стружечная плита (ДСП) | 13000/h | 26000/h | |||
| 13500/h | 27000/h | 30,5 | |||
| 8. Твердая древесно-волокнистая плита (ДВП) | 19000/h | 38000/h | |||
| Примечание - h - толщина, мм. |
Пример 8.Требуется определить изоляцию воздушного шума глухим металлическим витражом, остекленным одним силикатным стеклом толщиной 6 мм.
Находим по таблице 11 координаты точек В и С, fB = 6000/6 = 1000 Гц, fC = 12000/6 = 2000 Гц, RB= 35 дБ, RC = 29 дБ. Строим частотную характеристику в соответствии со схемой на рисунке 5. Из точки В проводим влево отрезок ВА снаклоном 4,5 дБ на октаву, из точки С вправо - отрезок CD с наклоном 7,5 дБ на октаву (рисунок 6).

Рисунок 6 - Расчетная частотная характеристика к примеру 8
В нормируемом диапазоне частот изоляция воздушного шума витражом составляет:
| f, Гц | ||||||||
| R, дБ | 21,5 | 24,5 | 27,5 | 30,5 |
Продолжение
| f, Гц | ||||||||
| R, дБ | 33,5 | 31,5 |
3.6Частотная характеристика изоляции воздушного шума ограждающей конструкцией, состоящей из двух тонких листов с воздушным промежутком между ними (двойные глухие остекления, перегородки в виде двух обшивок из одинарных листов сухой гипсовой штукатурки, металла и т.п. по каркасу из тонкостенного металлического или асбоцементного профиля, деревянных брусков), при одинаковой толщине листов строится в следующей последовательности:
а) строится частотная характеристика изоляции воздушного шума одной обшивкой по 3.5 - вспомогательная линия ABCD на рисунке 7. Затем строится вспомогательная линия A1B1C1D1 путем прибавления к ординатам линии ABCD поправки DR1 на увеличение поверхностной плотности по таблице 12 (в данном случае 4,5 дБ). Каркас при этом не учитывается;
Таблица 12
| mобщ/m1 | DR1, дБ | mобщ/m1 | DR1, дБ |
| 1,4 | 2,0 | 2,7 | 6,5 |
| 1,5 | 2,5 | 2,9 | 7,0 |
| 1,6 | 3,0 | 3,1 | 7,5 |
| 1,7 | 3,5 | 3,4 | 8,0 |
| 1,8 | 4,0 | 3,7 | 8,5 |
| 2,0 | 4,5 | 4,0 | 9,0 |
| 2,2 | 5,0 | 4,3 | 9,5 |
| 2,3 | 5,5 | 4,6 | 10,0 |
| 2,5 | 6,0 | 5,0 | 10,5 |
б) определяется частота резонанса конструкции по формуле
, Гц, (9)
где
и
- поверхностные плотности обшивок, кг/м2 (в данном случае
=
);
, Гц, (10)
d - толщина воздушного промежутка, м.

Рисунок 7 - Частотная характеристика изоляции воздушного шума конструкцией, состоящей из двух листов с воздушным промежутком при одинаковой толщине листов
Значение частоты fpокругляется до ближайшей среднегеометрической частоты
-октавной полосы. До частоты 0,8fp включительно частотная характеристика звукоизоляции конструкции совпадает со вспомогательной линией A1B1C1D1(точка Е рисунка 7). На частоте fpзвукоизоляция принимается на 4 дБ ниже линии A1B1C1D1(точка F, рисунок 7);
в) на частоте 8fp(три октавы выше частоты резонанса) находится точка К с ординатой RK = RF + H, которая соединяется с точкой F. Величина H определяется по таблице 13 в зависимости от толщины воздушного промежутка. От точки К проводится отрезок KL с наклоном 4,5 дБ на октаву до частоты fB (параллельно вспомогательной линии A1B1C1D1).
Таблица 13
| Толщина воздушного промежутка d, мм | Величина Н, дБ |
| 15 - 25 | |
Превышение отрезка KL над вспомогательной кривой A1B1C1D1представляет собой поправку на влияние воздушного промежутка DR2 (в диапазоне выше 8fp). В том случае когда fB = 8fp, точки К и L сливаются в одну. Если fB < 8fp, отрезок FK проводится только до точки L, соответствующей частоте fB. Точка К в этом случае лежит вне расчетной частотной характеристики и является вспомогательной;
г) от точки L до частоты 1,25fB (до следующей
-октавной полосы) проводится горизонтальный отрезок LM. На частоте fС находится точка N путем прибавления к значению вспомогательной линии A1B1C1D1 поправки DR2 (т.е. RN = RСl + DR2) и соединяется с точкой М. Далее проводится отрезок NP с наклоном 7,5 дБ на октаву.
Ломаная линия A1EFKLMNP представляет собой частотную характеристику изоляции воздушного шума рассматриваемой конструкции.
Пример 9.Требуется построить частотную характеристику изоляции воздушного шума перегородкой, выполненной из двух гипсокартонных листов (сухой гипсовой штукатурки) толщиной 14 мм, g = 850 кг/м3 по деревянному каркасу. Воздушный промежуток имеет толщину 100 мм.
Строим частотную характеристику звукоизоляции для одного гипсокартонного листа в соответствии с 3.5. Координаты точек В и С определяем по таблице 11:
Гц; RB = 34 дБ;
Гц; RС = 28 дБ;
Строим вспомогательную линию ABCD; сучетом поправки DR1 по таблице 12, равной 4,5 дБ, строим вспомогательную линию A1B1C1D1 на 4,5 дБ выше линии ABCD (рисунок 8).

Рисунок 8 - Расчетная частотная характеристика к примеру 9
Определяем частоту резонанса по формуле (9). Поверхностная плотность листа СГШ т = gh = 850×0,014 = 11,9 кг/м2.
Гц.
На частоте 80 Гц находим точку F на 4 дБ ниже соответствующей ординаты линии A1B1C1D1, RF = 16,5 дБ.
На частоте 8fp(630 Гц) находим точку К с ординатой RK = RF + H = 16,5+26 = 42,5 дБ (Н = 26 дБ по таблице 13). От точки К проводим отрезок KL до частоты fB = 1250 Гц с наклоном 4,5 дБ на октаву, RL= 47 дБ. Превышение отрезка KL над вспомогательной линией A1B1C1D1 дает нам величину поправки DR2 = 8,5 дБ.
От точки L проводим вправо горизонтальный отрезок LM на одну
-октавную полосу. На частоте fC = 2500 Гц строим точку N - RN = RC1 + DR2 = 32,5 + 8,5 = 41 дБ. От точки N проводим отрезок NP с наклоном 7,5 дБ на октаву.
Линия FKLMNP представляет собой частотную характеристику изоляции воздушного шума данной перегородкой. В нормируемом диапазоне частот звукоизоляция составляет:
| f, Гц | ||||||||
| R, дБ | 19,5 | 22,5 | 36,5 | 39,5 |
Продолжение
| f, Гц | ||||||||
| R, дБ | 42,5 | 45,5 | 43,5 |
3.7 В тех случаях когда перегородка имеет конструкцию, описанную в 3.6, но одна или обе ее обшивки состоят из двух не склеенных между собой листов, ее частотная характеристика изоляции воздушного шума строится в соответствии с 3.6, но с учетом увеличения поверхностных плотностей m1, т2и тобщ.При этом звукоизоляция на частоте fСувеличивается на DR3 = 2 дБ, если одна из обшивок состоит из двух слоев (другая - из одного слоя), и DR3 = 3 дБ, если обе обшивки состоят из двух слоев листового материала. При построении частотной характеристики на графике следует отметить точку S на частоте fС с ординатой RS = RN + DR3 = RC + DR1 + DR2 + DR3, из которой проводится вправо отрезок ST c наклоном 7,5 дБ на октаву.
3.8 Частотная характеристика изоляции воздушного шума каркасно-обшивной перегородкой, выполненной из одного из указанных в 3.5 материалов, при различной толщине листов обшивки (соотношение толщин не более 2,5), а также двойного глухого остекления при различной толщине стекол строится в следующей последовательности.
Строится частотная характеристика изоляции воздушного шума одним листом (большей толщины) по 3.5 - линия ABCD (рисунок 9). Определяется частота fC2для листа обшивки меньшей толщины. Строится вспомогательная линия A1B1до частоты fB путем прибавления к значениям звукоизоляции первого (более толстого) листа поправки DR1 на увеличение поверхностной плотности ограждения по таблице 12 - DR1. Между частотами fBl и fC2проводятся горизонтальный отрезок В1С1и далее отрезок C1D1 с наклоном 7,5 дБ на октаву.

Рисунок 9 - Частотная характеристика изоляции воздушного шума конструкцией, состоящей из двух листов с воздушным промежутком между ними при различной толщине листов
Определяется частота резонанса конструкции fр по формуле (9). До частоты 0,8fр включительно частотная характеристика изоляции воздушного шума конструкцией совпадает со вспомогательной линией A1B1. На частоте fрзвукоизоляция принимается на 4 дБ ниже вспомогательной линии А1В1(точка F, рисунок 9).
На частоте 8fр находится точка К с ординатой Rл = RF + H, где Н - величина, определяемая по таблице 13 в зависимости от толщины воздушного промежутка.
От точки К частотная характеристика строится параллельно вспомогательной линии A1B1C1D1,т.е. проводятся отрезок KL с наклоном 4,5 дБ на октаву до частоты fВ1, а затем горизонтальный отрезок LM до частоты fC2 и далее отрезок MN с наклоном 7,5 дБ на октаву.
Если частота fВ < 8fp,отрезок FK проводится только до точки L, соответствующей частоте fВ. Точка К в этом случае лежит вне частотной характеристики и является вспомогательной.
Ломаная линия A1EFKLMN представляет собой частотную характеристику изоляции воздушного шума рассматриваемой конструкцией.
Пример 10.Требуется построить частотную характеристику изоляции воздушного шума двойным глухим металлическим витражом, остекленным стеклами 6 и 4 мм, расстояние между стеклами 60 мм.
Строим частотную характеристику изоляции для стекла 6 мм (линия ABCD, рисунок 10). Координаты точек В и С определяем по таблице 11; fВ = 6000/6 = 1000 Гц; RB= 35 дБ; fC = 12000/6 = 2000 Гц; RC= 29 дБ.
Для тонкого стекла fС2 = 12000/4 = 3000 » 3150 (округляем до ближайшей среднегеометрической частоты
-октавной полосы).
Определяем поправку DR, по таблице 12 mобщ/m1 = 25/15 = 1,66; DR1 = 3,5 дБ.
Строим вспомогательную линию A1B1C1. Отрезок A1B1проводим на 3,5 дБ выше отрезка АВ, далее - горизонтальный отрезок B1C1 до частоты fС2 = 3150 Гц (точка D1 лежит вне нормируемого диапазона частот).
Определяем частоту резонанса конструкции по формуле (9)
Гц.
Поскольку частота резонанса лежит на границе нормируемого частотного диапазона, точки А1и Е в данном случае не входят в частотную характеристику, которую требуется построить. На частоте 100 Гц находим точку F c ординатой RF = 20 + 3,5 - 4 = 19,5 дБ.
На частоте 8fр = 800 Гц отмечаем точку К с ординатой RK = RF + H = 19,5 + 24 = 43,5 дБ и соединяем ее с точкой F. Далее проводим отрезок KL до следующей
-октавной полосы (fB = 1000 Гц) и горизонтальный отрезок LM до частоты fС2 = 3150 Гц. Точка N в данном случае лежит за пределами нормируемого диапазона частот.

Рисунок 10 - Расчетная частотная характеристика к примеру 10
Линия FKLM представляет собой частотную характеристику изоляции воздушного шума данной конструкцией, в нормируемом диапазоне частот звукоизоляция составляет:
| f, Гц | ||||||||
| R, дБ | 19,5 | 27,5 | 35,5 |
Продолжение
| f, Гц | ||||||||
| R, дБ | 43,5 |
3.9 Частотная характеристика изоляции воздушного шума каркасно-обшивной перегородкой из одного из указанных в 3.5 материалов при заполнении воздушного промежутка пористым или пористо-волокнистым материалом строится в следующей последовательности.
Строится частотная характеристика звукоизоляции с незаполненным воздушным промежутком в соответствии с 3.6, 3.7 или 3.8. При этом в общую поверхностную плотность конструкции то6щпри определении поправки DR1 включается поверхностная плотность заполнения воздушного промежутка.
Частота резонанса конструкции fpпри заполнении воздушного промежутка полностью или частично минераловатными и стекловолокнистыми плитами определяется по формуле (9).
При заполнении промежутка пористым материалом с жестким скелетом (пенопласт, пенополистирол, фибролит и т.п.) частоту резонанса следует определять по формуле
, Гц, (11)
где т1 и т2 - поверхностные плотности обшивок, кг/м2;
d - толщина воздушного промежутка, м;
Ед - динамический модуль упругости материала заполнения, Па.
Если обшивки не приклеиваются к материалу заполнения, значения Едпринимаются с коэффициентом 0,75.
До частоты резонанса включительно (f £ fp)частотная характеристика звукоизоляции конструкции полностью совпадает с частотной характеристикой, построенной для перегородки с незаполненным воздушным промежутком.
На частотах f ³ 1,6fpзвукоизоляция увеличивается дополнительно на величину DR4 (таблица 14).
Таблица 14
| Материал заполнения | Заполнение промежутка | DR4 |
| Пористо-волокнистый (минеральная вата, стекловолокно) | 20 % | |
| 30 % | ||
| 40 % | ||
| 50 - 100 % | ||
| Пористый с жестким скелетом (пенопласт, фибролит) | 100 % |
При построении частотной характеристики звукоизоляции конструкции на частоте f = 1,6fp (2 третьоктавные полосы выше частоты резонанса) отмечается точка Q с ординатой на величину DR4 выше точки, лежащей на отрезке FK, и соединяется с точкой F. Далее частотная характеристика строится параллельно частотной характеристике звукоизоляции конструкции с незаполненным воздушным промежутком - линия A1EFQK1L1M1N1P1(рисунок 11).
Пример 11.Требуется построить частотную характеристику изоляции воздушного шума перегородкой, выполненной из двух листов сухой гипсовой штукатурки толщиной 10 мм, g = 1100 кг/м3 по деревянному каркасу, воздушный промежуток d = 50 мм заполнен минераловатными плитами ПП-80, g = 80 кг/м3.
Строим частотную характеристику звукоизоляции для одного гипсокартонного листа. Координаты точек В и С определяем по таблице 11:
Гц; RB = 36 дБ;
Гц; RС = 30 дБ.
Общая поверхностная плотность ограждения включает в себя две обшивки с т1 = т2 = gh = 1100×0,01 = 11 кг/м2 и заполнение 80´0,05 = 4 кг/м2, то6щ = 26 кг/м2.
mобщ/т1 = 26/11 = 2,36; по таблице 12 находим DR1 = 5,5 дБ.
Строим вспомогательную линию A1B1C1на 5,5 дБ выше линии AВС (рисунок 12). Точка С лежит уже вне нормируемого диапазона частот.

Рисунок 11 - Частотная характеристика изоляции воздушного шума каркасно-обшивной перегородкой с заполнением воздушного промежутка

Рисунок 12 - Расчетная частотная характеристика к примеру 11
Определяем частоту резонанса конструкции по формуле (9)
Гц.
На частоте 0,8fp = 100 Гц отмечаем точку Е с ординатой RЕ = 16,5 + 5,5 = 22 дБ, на частоте fp = 125 Гц - точку F c ординатой RF= 18 + 5,5 - 4 = 19,5 дБ.
На частоте 8fp= 1000 Гц отмечаем точку К с ординатой RK = RF + H = 19,5 + 24 = 43,5 дБ и соединяем ее с точкой F. Далее до частоты fB = 2000 Гц проводим отрезок KL с наклоном 4,5 дБ на октаву, RL = 48 дБ, до следующей
-октавной полосы 2500 Гц горизонтальный отрезок LM. На частоте fC= 4000 Гц отмечаем точку N с ординатой
RN = RC1 + DR2 = RC + DR1 + DR2 = 30 + 5,5 + 6,5 = 42 дБ.
Линия EFKLMN является частотной характеристикой изоляции воздушного шума перегородкой с незаполненным воздушным промежутком.
На частоте 1,6fp = 200 Гц отмечаем точку Q с ординатой rq = 25 + 5 = 30 дБ (по таблице 14 поправка DR4 = 5 дБ) и соединяем ее с точкой F. Далее строим частотную характеристику параллельно линии FKLMN, прибавляя к ее значениям поправку DR4 = 5 дБ.
В нормируемом диапазоне частот изоляция воздушного шума данной перегородкой составляет:
| f, Гц | ||||||||
| R, дБ | 19,5 | 24,5 | 32,5 | 40,5 |
Продолжение
| f, Гц | ||||||||
| R, дБ | 48,5 | 51,5 |
3.10Индекс изоляции воздушного шума Rw,дБ, междуэтажным перекрытием со звукоизоляционным слоем следует определять по таблице 15 в зависимости от величины индекса изоляции воздушного шума несущей плитой перекрытия Rw0,определенного в соответствии с 3.2 или 3.3 настоящего Свода правил и частоты резонанса конструкции fp,Гц, определяемой по формуле (11). В формуле Eд - динамический модуль упругости материала звукоизоляционного слоя, Па, принимаемый по таблице 16; m1 - поверхностная плотность несущей плиты перекрытия, кг/м2; m2 - поверхностная плотность конструкции пола выше звукоизоляционного слоя (без звукоизоляционного слоя), кг/м2; d - толщина звукоизоляционного слоя в обжатом состоянии, м, определяемая по формуле
d = d0(1 - e),(12)
где d0 - толщина звукоизоляционного слоя в необжатом состоянии, м;
e - относительное сжатие материала звукоизоляционного слоя под нагрузкой, принимаемое по таблице 16.
Таблица 15
| Конструкция пола | fp, Гц | Индекс изоляции воздушного шума перекрытием Rw, дБ, при индексе изоляции несущей плитой перекрытия Rw0, дБ | |||||
| 1. Деревянные полы по лагам, уложенным на звукоизоляционный слой в виде ленточных прокладок с Eд = 5×105 - 12×105 Па при расстоянии между полом и несущей плитой 60 - 70 мм | |||||||
| - | |||||||
| - | - | ||||||
| - | - | - | - | ||||
| 2. Покрытие пола на монолитной стяжке или сборных плитах с т = 60 - 120 кг/м2 по звукоизоляционному слою с Eд = 3×105 - 10×105 Па | - | ||||||
| - | - | ||||||
| 3. Покрытие пола на монолитной стяжке или сборных плитах с т = 60 - 120 кг/м2 по звукоизоляционному слою из песка с Eд = 12×106 Па | - | ||||||
Таблица 16
| Материалы | Плотность, кг/м3 | Динамический модуль упругости Eд, Па, и относительное сжатие e материала звукоизоляционного слоя при нагрузке на звукоизоляционный слой, Па | |||||
| Eд | e | Eд | e | Eд | e | ||
| 1. Плиты минераловатные на синтетическом связующем: | |||||||
| полужесткие | 70 - 90 | 3,6×105 | 0,5 | 4,5×105 | 0,55 | - | - |
| 95 - 100 | 4,0×105 | 0,5 | 5,0×105 | 0,55 | - | - | |
| жесткие | 110 - 125 | 4,5×105 | 0,5 | 5,5×105 | 0,5 | 7,0×105 | 0,6 |
| 130 - 150 | 5,0×105 | 0,4 | 6,0×105 | 0,45 | 8,0×105 | 0,55 | |
| 2. Плиты из изовербазальтового волокна на синтетическом связующем | 70 - 90 | 1,9×105 | 0,1 | 2,0×105 | 0,15 | 2,6×105 | 0,2 |
| 100 - 120 | 2,7×105 | 0,08 | 3,0×105 | 0,1 | 4,0×105 | 0,15 | |
| 125 - 150 | 3,6×105 | 0,07 | 5,0×105 | 0,08 | 6,5×105 | 0,1 | |
| 3. Маты минераловатные прошивные по ТУ 21-24-51-73 | 75 - 125 | 4,0×105 | 0,65 | 5,0×105 | 0,7 | - | - |
| 126 - 175 | 5,0×105 | 0,5 | 6,5×105 | 0,55 | - | - | |
| 4. Плиты древесно-волокнистые мягкие по ГОСТ 4598-86 | 10×105 | 0,1 | 11×105 | 0,1 | 12×105 | 0,15 | |
| 5. Прессованная пробка | 11×105 | 0,1 | 12×105 | 0,2 | 12,5×105 | 0,25 | |
| 6. Песок прокаленный | 1300 - 1500 | 120×105 | 0,03 | 130×105 | 0,04 | 140×105 | 0,06 |
| 7. Материалы из пенополиэтилена и пенополипропилена: | |||||||
| Велимат | 1,4×105 | 0,19 | 1,6×105 | 0,37 | 2,0×105 | 0,5 | |
| Пенополиэкс | 1,8×105 | 0,02 | 2,5×105 | 0,1 | 3,2×105 | 0,2 | |
| Изолон (ППЭ-Л) | 2×105 | 0,05 | 3,4×105 | 0,1 | 4,2×105 | 0,2 | |
| Энергофлекс, Пенофол, Вилатерм | 2,7×105 | 0,04 | 3,8×105 | 0,1 | - | - | |
| Парколаг | 2,6×105 | 0,1 | 3,7×105 | 0,15 | 4,5×105 | 0,2 | |
| Термофлекс | 4×105 | 0,03 | 4,8×105 | 0,1 | - | - | |
| Порилекс (НПЭ) | 4,7×105 | 0,15 | 5,8×105 | 0,2 | - | - | |
| Этафом (ППЭ-Р) | 6,4×105 | 0,02 | 8,5×105 | 0,1 | 9,2×105 | 0,2 | |
| Пенотерм (НПП-ЛЭ) | 6,6×105 | 0,1 | 8,5×105 | 0,2 | 9,2×105 | 0,25 | |
| Примечания 1 Для нагрузок на звукоизоляционный слой, не указанных в этой таблице, величины Eд и e следует принимать по линейной интерполяции в зависимости от фактической нагрузки. 2 В таблице даны ориентировочные величины Eд и e, более точные данные следует брать из сертификатов на материалы, в которых эти величины должны быть приведены. |
Пример 12.Требуется рассчитать индекс изоляции воздушного шума междуэтажным перекрытием. Перекрытие состоит из железобетонной несущей плиты g = 2500 кг/м3 толщиной 10 см, звукоизоляционных полосовых прокладок из жестких минераловатных плит плотностью 140 кг/м3 толщиной 4 см в необжатом состоянии и дощатого пола толщиной 35 мм на лагах сечением 100´50 мм с шагом 50 см. Полезная нагрузка 2000 Па.
Определяем поверхностные плотности элементов перекрытия:
т1 = 2500×0,1 = 250 кг/м2;
т2= 600 0,035 (доски) + 600×0,05×0,1×2 (лаги) = 27 кг/м2.
Нагрузка на прокладку (с учетом того, что на 1 м2 пола приходятся 2 лаги)
Па.
В соответствии с 3.3 находим величину Rw0 для несущей плиты перекрытия:
Rw0 = 37 lgт - 43 = 37 lg250 - 43 = 88,7 - 43 = 45,7 » 46 дБ.
Находим частоту резонанса конструкции по формуле (11) при Eд = 8,0×105 Па, e = 0,55 (таблица 16), d = 0,04(1 - 0,55) = 0,018 м.
Гц.
По таблице 15 находим индекс изоляции воздушного шума данным междуэтажным перекрытием Rw = 52 дБ.
Пример 13.Требуется рассчитать индекс изоляции воздушного шума междуэтажным перекрытием. Перекрытие состоит из железобетонной несущей плиты g = 2500 кг/м3 толщиной 10 см, упругой прокладки из пенополиэтиленового материала Изолон толщиной 8 мм, цементно-песчаной стяжки g = 1800 кг/м3 толщиной 40 мм и паркета на битумной мастике по твердой ДВП толщиной 4 мм, g = 1100 кг/м3.
Определяем поверхностные плотности элементов перекрытия:
m1 = 2500×0,1 = 250 кг/м2;
m2 = 1800×0,04 (стяжка) + 1100×0,004 (ДВП) + 10,6 (паркет) = 72 + 4,4 + 10,6 = 87 кг/м2.
Индекс изоляции воздушного шума несущей плитой перекрытия определен в примере 12 - Rw0 = 46 дБ.
По таблице 16 принимаем характеристики материала упругой прокладки: Eд = 2×105 Па, e = 0,05 и определяем толщину прокладки в обжатом состоянии: d = 0,008(1 - 0,05) = 0,0076 м. Находим частоту резонанса конструкции по формуле (11)
Гц.
По таблице 15 находим индекс изоляции воздушного шума данным междуэтажным перекрытием Rw = 53 дБ.
3.11Индекс приведенного уровня ударного шума Lnw под междуэтажным перекрытием с полом на звукоизоляционном слое следует определять по таблице 17 в зависимости от величины индекса приведенного уровня ударного шума для несущей плиты перекрытия (сплошного сечения или с круглыми пустотами) Lnw0,определенной по таблице 18, и частоты собственных колебаний пола, лежащего на звукоизоляционном слое, f0, определяемой по формуле
, Гц, (13)
где Eд - динамический модуль упругости звукоизоляционного слоя, Па, принимаемый по таблице 16;
d - толщина звукоизоляционного слоя в обжатом состоянии, м;
т2- поверхностная плотность пола (без звукоизоляционного слоя), кг/м2.
Таблица 17
| Конструкция пола | f0, Гц | Индексы приведенного уровня ударного шума под перекрытием Lnw при индексе для несущей плиты перекрытия Lnw0 | ||||||
| 1. Деревянные полы по лагам, уложенным на звукоизоляционный слой в виде ленточных прокладок с Eд = 5×105 - 12×105 Па при расстоянии между полом и несущей плитой 60 - 70 мм | ||||||||
| 2. Покрытие пола на сборных плитах с т = 30 кг/м2 по звукоизоляционному слою с Ед = 3×105 - 10×105 | ||||||||
| 3. Покрытие пола на монолитной стяжке или сборных плитах с т = = 60 кг/м2по звукоизоляционному слою с Ед = 3×105 - 10×105 Па | ||||||||
| 4. То же, по звукоизоляционному слою из песка с Ед = 12×106 Па | ||||||||
| 5. Покрытие пола на монолитной стяжке или сборных плитах с т = = 120 кг/м2 по звукоизоляционному слою с Ед= 3×105 - 10×105 Па | ||||||||
| 6. То же, по звукоизоляционному слою из песка с Ед = 12×106 Па | ||||||||
| Примечание - При промежуточных значениях поверхностной плотности стяжки (сборных плит) индексы следует определять по интерполяции, округляя до целого |
Дата добавления: 2014-12-06; просмотров: 4974;
