Требования к надежности и безопасности
Процессы формирования, расформирования и передвижения любых категорий поездов и в особенности поездов повышенной массы и длины относятся к так называемым опасным технологическим процессам. Пропуск поездов повышенной массы и длины, в том числе
соединенных поездов, является фактором интенсивного развития транспорта. Организация формирования, расформирования и пропуска таких поездов при определенных значениях параметров является экономически эффективным средством повышения пропускной и перерабатывающей способности железных дорог. Однако формирование поездов повышенной массы и длины и соединенных поездов должно осуществляться таким образом, чтобы обеспечивалась определенная защищенность от возникновения опасных отказов, угрожающих безопасности движения поездов и жизни людей. Задача безопасности опасных технологических процессов заключается в создании условий, при которых технологический процесс не переходил бы в опасное состояние в результате возникновения отказов и ошибок оперативного персонала (в том числе машинистов), управляющего движением поездов. Надежность-свойство системы, технологического процесса находиться в нормальном (безопасном) работоспособном состоянии. Необходимо обеспечить формирование и передвижение поезда в течение некоторого времени tn > Т, где Т-время от формирования до расформирования поезда. В общем виде функция надежности имеет вид:
Р(Т) = Р{tн >T}
Рассмотрим надежность одиночного, двойного и тройного соединения поездов по упрощенной схеме. В качестве первичных элементов расчета надежности поезда можно принять вагон и локомотив. Отказы вагонов и локомотивов можно принять как независимые друг от друга события. Для независимых событий появление отказа одного из них не изменяет вероятность появления отказа другого, т. е. вероятность отказа вагона не зависит от отказов других вагонов состава и локомотива, равно как вероятность отказа локомотива не зависит от вероятности отказа других локомотивов поезда и вагона.

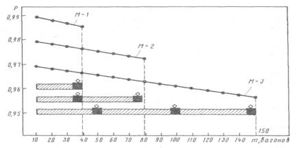
Рис. 14.1. Графики функции надежности одинарных и соединенных поездов в зависимости от числа вагонов и локомотивов
При этих допущениях надежность поезда

где Piв - надежность вагона; Pjл - надежность локомотива; m-число вагонов в составе;
М-число локомотивов в поезде; П -знак произведения вероятностей.
Параметры вагонов и локомотивов в целом как отдельных систем пока еще строго не нормированы. Имеются статистические данные об отказах различных узлов вагонов (обрывы поездов вследствие неисправностей автосцепки, хребтовой балки, саморасцепов автосцепки, заклинивания колесных пар и прочего брака вагонов и локомотивов).
Отчетные данные об отказах вагонов и локомотивов устанавливаются за большой промежуток времени (месяц, квартал, год). Численные значения надежности необходимы, однако, за относительно небольшие промежутки времени, соизмеримые с фактическим временем «жизни» поезда между станциями технического обслуживания или от начала формирования до расформирования.
Предположив, например, что надежность вагона равна 0,960, локомотива 0,95, надежность
поезда из 57 вагонов составит
Р =
= 0,3, т. е. явно
недостаточное для практики значение. Этот пример показывает, насколько высокие требования предъявляются к надежности подвижного состава для обеспечения гарантированной надежности передвижения поездов.
Если принять надежность вагона 0,999 и локомотива 0,95, то для одиночного поезда при 40 вагонах в составе надежность поезда равна 0,913; для двойного поезда при 80 вагонах в составе-0,833 и для тройного поезда при 150 вагонах в составе-0,738. Следовательно, при росте числа вагонов в составе поезда надежность поезда заметно снижается. Даже относительно высокая надежность вагона 0,999 не обеспечивает достаточный уровень надежности поезда: на каждые 1000 одиночных поездов будет приходиться в среднем 87 случаев отказа, двойных-167 и строенных - 262 случая отказов. Если надежность вагонов повысить до 0,9999, то в случае одиночного поезда надежность составит 0,946, двойного-0,985 и строенного-0,861. На рис. 14.1 приведены функции надежности одиночного, сдвоенного и строенного поездов соответственно при одном, двух и трех локомотивах с надежностью вагона Рв = 0,9999 и локомотива Рл = 0,99. Обеспечение высокой надежности подвижного состава, надежности и безопасности формирования, расформирования и передвижения поездов повышенной массы и длины требует совершенствования методов и средств повышения конструкционной, производственной надежности, совершенствования методов, технического уровня обслуживания вагонов и локомотивов в процессе эксплуатации. Это особенно важно в настоящее время, когда внедряется передовой опыт удлинения гарантийных участков безопасного проследования поездов с десятиминутными стоянками на крупных технических станциях для смены локомотивов и локомотивных бригад. Требуется внедрение комплекса мер по обеспечению сохранности вагонного парка в процессе эксплуатации, улучшения качества всех видов ремонта, подготовки вагонов к перевозкам в районах погрузки и выгрузки путем дальнейшего развития и создания новых крупных механизированных пунктов (ППВ). Ведутся работы по созданию аппаратуры для выявления дефектов колес, оборудования для средств технической диагностики, устройств для выявления тормозных колодок с предельным износом. Необходимо существенно усилить техническое оснащение ПТО крупных сортировочных станций, что даст возможность удлинить гарантийные участки безостановочного проследования поездов.
На рис. 14.2 показана схема размещения в парках приема и отправления сортировочной станции тележек для осмотра и ремонта вагонов, а также устройств для автоматического соединения рукавов, тоннелей для перехода через пути и другого оборудования. Для механизации труда работников ПТО предусмотрены два поста диагностики вагонов ПД в движущихся поездах. Первый пост размещается на расстоянии 10-12 км от узловой сортировочной станции. Здесь размещается
аппаратура теплового контроля букс, выявления неисправностей колес по кругу катания, а также различители типа букс, краскоотметчики неисправных вагонов, устройства для немедленной остановки поезда в случае высокого нагрева букс. Второй пост диагностики размещают в горловине ПП. На нем предусматривают устройства для выявления проката, износа гребней колес и проверки роликовых подшипников, а также счетчик осей вагонов и краскоотметчики неисправных вагонов.
Информация с постов диагностики передается по каналам технологической связи оператору ПТО в парке приема, а затем по громкоговорящей станционной связи осмотрщикам парка приема. Тормозная магистраль состава подключается к стационарному устройству для централизованной разрядки тормозов.
Центр автоматической системы проверки тормозов и выявления неотпущенных тормозов размещается в головной части парка в помещении ПТО парка отправления. В АСУ ПТО наряд на ремонт вагонов передается по телетайпу оператору ПТО. Аппаратуру теплового контроля букс (типа ПОНАБ) рекомендуется устанавливать на подходах к сортировочным станциям и настраивать ее на низкую температуру (примерно 70° С при температуре воздуха 0°С). В результате, как показывает опыт, примерно на 15% увеличивается объем работы по осмотру подшипников на ПТО сортировочной станции, но сокращается на 30% число остановок поезда по показаниям аппаратуры ПОНАБ на расположенных за ней гарантийных участках. Ввиду того что прибывающие поезда часто останавливаются на подходе к узлу, и перегревшиеся буксы остывают, целесообразно удалять ПОНАБ на расстояние 10-20 км.
В 70-х годах организация ремонта локомотивов заключалась в том, что детали и узлы разбирали непосредственно на локомотивах, некоторые из них снимали для ремонта в заготовительных цехах, где их восстанавливали, после чего устанавливали на тот же локомотив.

- электрифицированная теленка для осмотра Ваганов; -вагоноремонтная тележка;
• - устройство для автоматического соединения рукавов;
• - устройство для выявления неотпустивших тормозов
Рис. 14.2. Схема технических средств ПТО сортировочной станции: 0/7/7- оператор ПТО парка прибытия; О ПО - оператор ПТО парка отправления
Такая система не обеспечивала необходимого уровня надежности локомотивов. В настоящее время в локомотивных депо внедряется новая технология технического обслуживания (ТО) и текущего ремонта (ТР) по принципу специализации депо по сериям локомотивов и видам ремонта.
Трудоемкие текущие ремонты ТР-2, ТР-3 концентрируются на базовых депо, а к базовым депо приписывают близлежащие депо-сателлиты. Основные производственные участки оснащаются новыми подъемно-транспортными средствами, применяются крупноагрегатные и агрегатные методы ремонта на основе взаимозаменяемости узлов локомотивов на заранее отремонтированные и испытанные. Создаются механизированные и автоматизированные комплексы, поточные линии и позиции. Успешно применяются новые технологические процессы наплавки и сварки деталей локомотивов с помощью автоматов и полуавтоматов, термическая обработка деталей токами высокой частоты, очистка деталей в расплаве солей,электрохимический и электроконтактный способы удаления наработки с деталей, гальваническое восстановление моторно-осевых подшипников и другие современные технологии (роботы, манипуляторы, плазменное и вакуумное напыление).
Все эти меры направлены на повышение надежности локомотивного парка, и вместе с мерами по повышению надежности вагонов они составляют основы высокоэффективной организации движения поездов, в том числе повышенной массы и длины. Для обеспечения вождения соединенных и других поездов повышенной массы на современной научно-технической основе необходима реконструкция станций и обоснованная система удлинения приемоотправочных путей.
Дата добавления: 2016-06-02; просмотров: 1359;
