Стовпчасті й суцільні фундаменти
Стовпчасті фундаменти влаштовують при невеликих навантаженнях, коли тиск від будівлі на основу менший від нормативного або коли шар ґрунту основи залягає на великій глибині.
Стовпчасті фундаменти можуть бути монолітними та збірними (рис. 4.14; 4.15).

Рис.4. 14 Стовпчасті фундаменти під цегляні стовпи:
а - бутовий фундамент; б - бутобетонний; в - із залізобетонних блоків-подушок; г - із залізобетонного блока-плити; 1 - цегляний стовп; 2 - блок-подушка; 3-блок-плита
Під цегляні стовпи стовпчасті фундаменти виконують бутовими, бетонними, бутобетонними, залізобетонними. Верхня частина таких фундаментів повинна бути ширшою опор, які спираються на них не менше ніж на 200 мм. Переріз повинен бути не меншим: бутових і бутобетонних - 0,6x0,6 м; бетонних - 0,4х0,4 м (рис. 4.14).
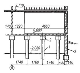
Під колони заводського виготовлення із залізобетону застосовують фундаменти стаканного типу. їх укладають на шар піску завтовшки 100-150 мм або на блоки-плити (рис. 4.15).
Стовпчасті фундаменти можуть влаштовувати і під стіни. В цьому випадку стовпи розташовують обов’язково під кожним рогом будівлі, у місцях перетину і примикання стін, під простінками і через 3-6 м на глухих ділянках стін.
|
|
Рис.4. 15 Стовпчасті фундаменти під колони: а-план фундаментів; б-монолітний фундамент під монолітну колону; в - збірний фундамент із башмака стаканного типу; г-збірний фундамент із блока-стакана та опорних плит; д - розріз; 1 - башмак стаканного типу; 2 - збірна залізобетонна колона; 3 - монолітний ступінчастий фундамент; 4 - монолітна колона; 5-піщана підготовка; 6-цементний розчин; 7-збірні залізобетонні опорні плити; 8 - цокольна панель.
|
Стовпи перекривають залізобетонними фундаментними балками. Для захисту їх від сил здимання ґрунту та від вільного осідання їх під ними роблять піщану або шлакову підсипку 0,5-0,6 м завтовшки (рис. 4.16).
Суцільні фундаменти влаштовують під усією площею будівлі у вигляді масивної монолітної залізобетонної плити, яка забезпечує рівномірне осідання всієї будівлі й може захищати підлогу підвалу від значного тиску ґрунтових вод (рис. 4.17).
Їх споруджують в багатоповерхових будівлях при великих навантаженнях від будівлі та слабких і неоднорідних ґрунтах.

Рис.4. 16 Стовпчасті фундаменти під стіни:
а-кам’яні; б-панельні; в-дерев’яні; 1 - фундаментні стовпи; 2-цоколь із цегли; 3-шлак (пісок); 4-вимощення; 5 - фундаментний стакан; 6-залізобетонний стовп; 7 - фундаментна балка; 8- фундаментний блок; 9 - фундаментно-цокольна балка; 10 - гідроізоляція; 11 - стінова панель

Рис.4. 17 Суцільні фундаменти з монолітних залізобетонних плит в плані та в розрізі:
а-плоска (безбалочна); б-ребриста плита; 1 - ребриста плита; 2 - перекриття; 3-суцільна плита; 4 - піщана підготовка
Фундаментна плита може бути плоскою або ребристою з розташуванням ребер під несучі стіни або колони. Ребриста конструкція забезпечує зниження витрат сталі та бетону, але вимагає більших затрат праці, ніж суцільна (плитна). При виконанні фундаментів із суцільних плит спрощується опалубка, арматурні роботи, підвищується механізація бетонних робіт. Завдяки меншій трудомісткості фундаменти з плит суцільного перерізу мають більше застосування в будівництві.
Товщина фундаментної плити визначається в залежності від прольоту несучих конструкцій та типу плити й складає для ребристих плит 1/8-1/10 прольоту, а для суцільної плити 1/6-1/8 прольоту.
У практиці будівництва під інженерні споруди (телевізійні вежі, димарі та ін.) застосовують суцільні фундаменти коробчастого типу.
Пальові фундаменти
Стержні з бетону, залізобетону та інших матеріалів в товщі ґрунтової основи, що сприймають навантаження від будівлі, називають пальовим фундаментом. Такі фундаменти складаються із заглиблених в ґрунт паль і ростверку (розподільної балки або плити).
Ростверк забезпечує рівномірну передачу навантаження від будівлі. Палі, що проходять слабкі шари ґрунту і передають навантаження на міцний ґрунт, називають палями-стояками; палі, які не досягають міцного ґрунту, а тільки ущільняють товщу основи і передають навантаження на ґрунт тертям, що виникає між бічною поверхнею палі та ґрунтом, називають висячими (рис. 4.18).
Несуча здатність паль, їх розміри, кількість і розташування в обох випадках визначається розрахунком.
За способом заглиблення в ґрунт палі бувають забивніта набивні.
Забивні палі виготовляють на заводах і заглиблюють методом забивки, вдавлювання або вібрації. За матеріалом забивні палі бувають: залізобетонні та дерев’яні.
Найбільш поширені в сучасному будівництві залізобетонні забивні палі. При їх забивці верхню частину палі, яка руйнується, зрізають і посилюють збірним залізобетонним оголовком, а порожнину між оголовком і палею замонолічують.

Рис.4. 18 Види пальових фундаментів:
а - палі-стояки; б, в - висячі палі; 1 - паля забивна; 2 - ростверк; 3 - паля набивна

| Рис.4. 19 Фундамент із забивних паль: а - розріз фундаменту; б - залізобетонна суцільна призматична паля; в-паля з круглою порожниною; г-паля трубчаста; д-дерев'яна паля; е - залізобетонна пірамідальна паля; 1 - забивна паля; 2-залізобетонний ростверк; 3 - гідроізоляція; 4-стіна; 5-стальний бугель; 6,7-стальний башма |
Для захисту дерев’яної палі від розмочалювання під час забивання на верхній кінець її надягають стальний бугель, а на нижній - стальний башмак. При дерев’яних палях ростверк також роблять із дерева.
За перерізом забивні палі бувають:
- призматичні залізобетоннісуцільного перерізу (рис. 4.19), розмірами 200x200 і 300x300 мм, завдовжки 3-12 м;
- призматичні залізобетонні з круглою порожниною, розмірами 250x250 і 300x300 мм, завдовжки 4-12 м;
- трубчасті залізобетонні, діаметром 400800 мм, завдовжки 4-12 м;
- дерев’яні з колод хвойних порід, діаметром у верхньому відрубі не менше 180 мм. їх застосовують тільки в ґрунтах зі сталою вологістю, стовбур покривають бітумною мастикою, забивають нижче рівня ґрунтових вод, щоб уникнути загнивання;
- пірамідальні - з верхнім перерізом 300x300 мм і нахилом бокових граней до 14°, довжиною 5-12 м. Вони мають більшу несучу здатність за призматичні палі.
Набивні палі (рис. 4.20) виготовляють із монолітного бетону, укладеного в попередньо пробурені свердловини, об’єднані зверху ростверком. Вони бувають діаметром 400-700 мм, завдовжки не менше 10 м. Нижня частина палі може бути поширена. їх влаштовують на будівельному майданчику.
Буронабивні палі (рис. 4.20) влаштовують в сухих ґрунтах без кріплення стінок свердловин; в вологих ґрунтах - з закріпленням стінок свердловин глинистим розчином або обсадними трубами, що виймаються. Для збільшення несучої здатності буронабивних паль їх виконують з поширеною п’ятою.
Для фундаментів у витрамбуваних котлованах котловани утворюють під окремі фундаменти спеціальним трамбуванням з послідовним їх заповненням бетонною сумішшю. Утрамбована зона ґрунту, яка виникла в результаті трамбування, дозволяє фундаменту при невеликій глибині сприймати значні навантаження.

Рис.4. 20 Набивні палі та фундаменти у витрамбуваних котлованах:
а-розріз фундаменту з набивної палі; б - буронабивна паля з однаковим перерізом ствола; в-те ж з поширеною п’ятою; г - витрамбуваний котлован; 1 - набивна паля; 2 -залізобетонний ростверк; 3 - гідроізоляція; 4-стіна; 5 -поширена п’ята; 6 -ущільнена зона ґрунту
Угорі палі з’єднують між собою залізо-бетонним ростверком, який може бути збірним або монолітним (рис. 4.21). Монолітні ростверки улаштовують під цегляні та великоблочні будівлі, збірні - під великопанельні будівлі. Ширина ростверку приймається рівною товщині стіни, але не меншою 400 мм при висоті 400-500 мм.
Розміщення паль під будівлю визначається конфігурацією його фундаменту в плані й залежить від величини діючих навантажень, ґрунтових умов і характеру роботи палі в ґрунті.
За глибиною закладення палі бувають: короткі (3-6 м) та довгі (більше 6 м). Під колони палі розміщують у вигляді куща (групами). Мінімальна кількість паль під колону 3, максимальна не регламентується (рис. 4.21).
Під стіни палі розташовують (рис. 4.21) в один, два ряди або в шаховому порядку.
|
|
|
|
| |
| Рис.4. 21 Розташування паль під будівлею: а - однорядне розташування паль в плані та в розрізах; б - шахове; в - дворядне для будівель з кам’яними стінами; г - кущ паль під колону; д - ростверки (монолітний і збірний); 1 - паля; 2-залізобетонний збірний ростверк; 3-стіна; 4-арматура голови палі; 5 - щебенева або бетонна підготовка; 6-монолітний залізобетонний ростверк; 7- колона; 8-збірний залізобетонний оголовок палі; 9-бетон; 10-стінові блоки |
Короткі палі розміщують в один ряд; а для паль завдовжки 6-7 м однорядне розміщення не рекомендується, щоб не було перекосу паль. Крок паль під несучі стіни приймається однаковий.
Кожна паля одержує в проекті свій порядковий номер, а осі пальових рядів прив’язують до координаційних осей будівлі. Відстань між осями висячих паль повинна бути не меншою трьох діаметрів і не меншою 70 см.
У залежності від конструкції підземної частини будівлі пальові фундаменти можуть бути з високими та низькими ростверками.
При пальових фундаментах з низьким ростверком (в будівлях без підвалу) підошва ростверку повинна бути на 0,15 м нижче планувальних відміток.
У будівлях з підвалами ростверк під зовнішні стіни закладають так, щоби відмітка підошви була на рівні відмітки підлоги підвалу; а під внутрішні стіни — з відміткою верху, рівною відмітці підлоги в підвалі.

Рис.4. 22 Безростверкові польові фундаменти в панельних будівлях:
1 - паля; 2 - оголовок; 3 - цокольна панель
В панельних будівлях з малим кроком поперечних стін і перекриттям розміром на кімнату застосовують безростверкові пальові фундаменти (рис. 4.22). При цьому роль поздовжніх ростверків виконують зовнішні цокольні панелі, роль поперечних - поперечні стіни першого поверху, а панелі перекриття на рівні підлоги першого поверху спираються на оголовки паль. Ця конструкція вимагає розміщення верхньої опорної поверхні оголовків з точністю 7-10 мм. Кожна панель несучих стін технічного підпілля та першого поверху повинна спиратись по довжині не менше ніж на дві палі. Палі не повинні розташовуватись під прорізами.
Безростверкове рішення пальових фундаментів забезпечує достатню надійність будівлі та зменшує вартість, трудомісткість і витрати матеріалу в порівнянні з ростверковим рішенням.
Пальові фундаменти застосовують при будівництві на слабких стисливих ґрунтах, у складних геологічних умовах; при зведенні будівель підвищеної поверховості з великими навантаженнями незалежно від типу ґрунту; при будівництві безпідвальних будівель.
Їх можуть використовувати не тільки на слабких ґрунтах, а й на достатньо міцних. Влаштування пальових фундаментів, навіть на природній основі, за вартістю трудомісткості та витрат матеріалу значно ефективніше стрічкових збірних фундаментів.
Дата добавления: 2016-02-20; просмотров: 5957;

Рис.4. 15 Стовпчасті фундаменти під колони: а-план фундаментів; б-монолітний фундамент під монолітну колону; в - збірний фундамент із башмака стаканного типу; г-збірний фундамент із блока-стакана та опорних плит; д - розріз; 1 - башмак стаканного типу; 2 - збірна залізобетонна колона; 3 - монолітний ступінчастий фундамент; 4 - монолітна колона; 5-піщана підготовка; 6-цементний розчин; 7-збірні залізобетонні опорні плити; 8 - цокольна панель.