Стрічкові фундаменти
Стрічкові фундаменти найчастіше застосовують у житловому будівництві. Конструкція цих фундаментів дозволяє найбільш рівномірно передавати та розподіляти навантаження на ґрунт основи.
Стрічковий фундамент являє собою безперервну підземну стіну, яка передає навантаження від надземних стін або колон ґрунтові через розширену нижню частину (подушку) та піщану або щебеневу підсипку завтовшки 50-100 мм (рис. 4.5, а).
Розширення подушки необхідне для приведення у відповідність величини додаткового тиску під підошвою фундаменту несучій здатності ґрунту, тому що величина розрахункового тиску на ґрунт менша розрахункового опору кам’яних або бетонних стін.
За обрисом у профілі стрічковий фундамент під стіну в найпростішому випадку являє собою прямокутник (рис. 4.5, а). Його ширину приймають більшою від товщини стін з кожного боку на 50 — 150 мм. Однак прямокутний переріз фундаменту допустимий тільки при невеликих навантаженнях на фундамент і високій несучій здатності ґрунту.
Найчастіше для передачі тиску на ґрунт і забезпечення його потрібної несучої здатності треба збільшувати площу підошви фундаменту розширенням її. Теоретичною формою перерізу фундаменту є трапеція
(рис. 4.5, в), де кут а визначає поширення тиску й береться для бутової кладки й бутобетону від 27° до 33°, для бетону - 45°. Влаштування трапецієподібних фундаментів вимагає великих трудових затрат, тому на практиці такі фундаменти в залежності від розрахункової ширини підошви виконують прямокутними або ступінчастої форми (рис. 4.5, б, г) з дотриманням правила, щоб габарити фундаменту не виходили за межі його теоретичної форми. Перехід до розширеної підошви виконується уступами. Уступи приймають завширшки не більше 2025 см, а заввишки - відповідно не менше 40-50 см.
За способом влаштування стрічкові фундаменти бувають монолітні та збірні. Монолітні фундаменти роблять бутові, бутобетонні, бетонні (рис. 4.7).
Бутові фундаменти укладають із бутового каменю на цементному розчині з перев’язкою вертикальних швів. Ширина бутових фундаментів приймається не меншою 0,6 м для кладки з рваного буту й 0,5 м - з бутової плити. Висота повинна бути не меншою двох рядів кладки, а відношення висоти до його виносу - не меншим 1,5-2. Перший ряд кладуть насухо з великого постелистого каменю з засипкою щебнем, трамбуванням й заливкою всіх порожнин складним або цементним рідким розчином. Наступні ряди каменю укладають правильними горизонтальними рядами на густому розчині так, щоб камені вищого ряду перекривали вертикальні шви нижчого ряду. Такі фундаменти потребують великих затрат праці.
Найбільш економічними з монолітних фундаментів є бутобетонні. їх виконують із бетону класу С8/10 (і вище) та бутового каменю, який добавляється в процесі зведення фундаменту. Бетонну суміш укладають шарами завтовшки 0,2 м з вібрацією кожного шару в щитовій опалубці. Розміри каменів повинні бути не більше як 1/3 ширини фундаменту.
Уширення фундаментів ведуть уступами завширшки 150-250 мм і висотою 300 мм. Найменша ширина бутобетонних фундаментів 350 мм. У порівнянні з фундаментами з бутового каменю вони менш трудомісткі, але відрізняються підвищеними затратами цементу.
Бетонні фундаменти виконують в опалубці з монолітного бетону класу міцності на стиск В 7,5—В 30.
Влаштування таких фундаментів вимагає великих затрат цементу. Бутові та бутобетонні фундаменти трудомісткі при спорудженні й застосовуються у районах, де бутовий камінь є місцевим матеріалом. Щоби знизити трудомісткість їх зведення, застосовують багаторазову оборотну інвентарну опалубку.
В сучасному будівництві найбільш поширені стрічкові фундаменти зі збірних елементів заводського виготовлення.
Збірні стрічкові фундаменти під стіни складаються зі залізобетонних плит трапецієподібного перерізу й прямокутних суцільних бетонних стінових блоків. Торці блоків мають вертикальну борозну для шпонки з розчину (рис. 4.8, а, в).
При рівні ґрунтових вод нижчому підошви фундаменту можуть застосовуватися блоки з пустотами (рис. 4.8, б, г).
Залізобетонні плити фундаментів укладають на вирівняну поверхню основи при піщаних ґрунтах або на піщану підготовку 100—150 мм завтовшки.
Бетонні блоки для стін фундаменту укладають на розчині з обов’язковим перев’язуванням вертикальних швів. Товщина швів приймається рівною 20 мм (рис. 4.9).
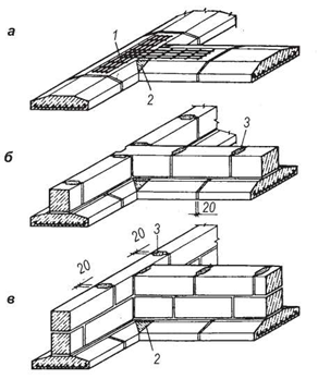
Рис.4. 10 Сполучення фундаментів поздовжніх і поперечних стін: а - сполучення фундаментних плит; б - те саме блоків непарного ряду; в - те саме парного; 1 - сітка з круглої сталі діаметром 6-10 мм; 2 - ділянка, що бетонується на місці; 3 - заповнення шва розчином
|
Рис.4. 11 Конструктивне рішення переривчастих збірних стрічкових фундаментів: а-фрагмент схеми розташування фундаментних плит; б-загальний вигляд; 1 - фундаментна плита; 2 - бетонний блок; б - відстань між фундаментними плитами
|
| Рис.4. 12 Панельні конструкції стрічкових фундаментів: а - під зовнішню стіну; б - під внутрішню стіну |

При улаштуванні фундаментів на основах із тривалим і нерівномірним осіданням їх додатково посилюють стальною арматурою, за рахунок виконання армованого шва й армованого бетонного поясу (рис. 4.13, а).
Армований шов виконують завтовшки 30-50 мм із поздовжніх стальних стержнів, утоплених в шар розчину зверху фундаментних плит.
Завершує фундаментну стіну армований бетонний пояс завтовшки 100-150 мм. Армований шов і пояс проходять неперервною стрічкою по периметру стін стрічкового фундаменту. Це підвищує жорсткість і запобігає появі тріщин при нерівномірному осіданні будівлі.
| Рис.4. 13 Улаштування фундаментів: а - на основах з нерівномірним осіданням; б - на ділянках зі значними похилами; 1 - армований пояс завтовшки 30-50 мм; 2-армований шов завтовшки 100-150 мм; 3-дошки, обгорнуті руберойдом |
Якщо треба забезпечити незалежну про-садку двох суміжних ділянок будівлі (на-приклад, при різній поверховості їх, або при різній структурі ґрунту), то фундаменти розділяють наскрізними вертикальними зазорами, які називають деформаційними швами (рис. 4.13, в).
У зазори вставляють дошки, обгорнуті руберойдом, а вертикальні шви з обох сторін заповнюють бітумом.
Деформаційні шви розділяють стрічкові фундаменти на відсіки, які забезпечують незалежне вертикальне зміщення окремих частин будівлі. Цим запобігається поява деформаційних тріщин при нерівномірному осіданні будівлі.
Дата добавления: 2016-02-20; просмотров: 4056;

Рис.4. 10 Сполучення фундаментів поздовжніх і поперечних стін: а - сполучення фундаментних плит; б - те саме блоків непарного ряду; в - те саме парного; 1 - сітка з круглої сталі діаметром 6-10 мм; 2 - ділянка, що бетонується на місці; 3 - заповнення шва розчином
Рис.4. 11 Конструктивне рішення переривчастих збірних стрічкових фундаментів: а-фрагмент схеми розташування фундаментних плит; б-загальний вигляд; 1 - фундаментна плита; 2 - бетонний блок; б - відстань між фундаментними плитами