Статические характеристики триода
Закон степени 3/2. Количественную оценку зависимости тока в триоде от напряжений его электродов можно провести, заменив оба напряжения, создающие результирующее электрическое поле у катода, некоторым эквивалентным напряжением, подведенным к одному из электродов лампы и создающим такое же суммарное поле у катода. Это напряжение называется действующим и обозначается через
. Эквивалентный электрод располагается в плоскости витков сетки (см.рис.3).
Применение понятия действующего напряжения позволяет привести триод к эквивалентному диоду (рис.4) и воспользоваться соотношениями, справедливыми для диода.
Действующее напряжение вычисляется, исходя из того, что напряженность поля у катода в триоде и в эквивалентном диоде одинакова, а сетка в триоде достаточно густая, так что поле у катода триода можно считать однородным. При этих условиях действующее напряжение оказывается равным
=
+
, (1)
где
- проницаемость триода – коэффициент, представляющий собой отношение емкости анод – катод
к емкости сетка – катод
(
=
/
).
Равенство (1) можно интерпретировать следующим образом. Напряжение сетки
, подведенное к аноду эквивалентного диода, действует в пространстве у катода так же, как и в триоде, поэтому оно входит без какого-либо коэффициента в действующее напряжение. Анодное напряжение действует в околокатодном пространстве значительно слабее из-за того, что анод расположен дальше от катода, чем сетка, а также из-за экранирования сеткой околокатодного пространства, поэтому анодное напряжение входит в действующее напряжение с коэффициентом
, меньшим единицы (
< 1). Применительно
к графикам распределения потенциала в междуэлектродном пространстве триода (см. рис.3б) действующее напряжение
относится к сечению “
”.
Таким образом, проницаемость характеризует степень ослабления влияния напряжения анода
на напряженность поля вблизи катода. Чем сетка гуще, тем меньше проницаемость.
Заменив триод эквивалентным диодом, можно применить к этому диоду закон степени 3/2. В качестве анодного напряжения диода при этом используется действующее напря-жение, определяемое формулой (1). Ток диода, входящий в выражение закона степени 3/2, в случае триода представляет собой весь ток, который создается электронами, движущимися от катода к аноду и сетке, т.е. катодный ток.
Следовательно, уравнение катодного тока в триоде имеет вид
=
+
= k
= k (
+
)3/2, (2)
Коэффициент k, входящий в формулу (2 был определен ранее (см. лекцию № 13).
Закон степени 3/2 позволяет находить суммарный ток триода, не разделяя его на составляющие. При
< 0 катодный ток равен анодному и выражение (2) может быть использовано для расчета анодного тока по известным напряжениям электродов.
С помощью закона степени 3/2 можно определить напряжение запирания
при заданном напряжении анода. Положив в выражении (2)
= 0 и подставив в него значение
=
, получим
= -
(3)
Закон степени 3/2 для триода позволяет дополнить определение проницаемости лампы. Для этого, приравняв нулю дифференциал катодного тока (
= 0), определенный в соответствии с выражением (2),
=
,
найдем
= -
при
=0 (или
=const). (4)
Из формулы (4) следует, что проницаемость триода показывает, на сколько вольт необходимо изменить напряжение сетки, чтобы при изменении анодного напряжения на 1 В катодный ток остался постоянным. Проницаемость является положительной величиной, а знак минус в выражении (4) компенсирует противоположность знаков приращений напряжений анода и сетки.
В итоге, закон степени 3/2 дает возможность построить теоретические статические вольт-амперные характеристики катодного тока триода.
Статические характеристики триода. В статическом режиме зависимости анодного и сеточного токов триода от напряжений анода и сетки выражаются четырьмя семействами характеристик: анодно-сеточных (прямой передачи)
и сеточных (входных)
при
= const; анодных (выходных)
и сеточно-анодных (обратной связи)
при
= const.
Анодно-сеточные и сеточные характеристики (рис.5). Семейство анодно-сеточных характеристик триода показано на рис.5а. В общих чертах вид этих характеристик в области
< 0, когда анодный ток равен катодному, определяется законом степени 3/2. Однако реальные характеристики даже в области
< 0 отличаются от теоретических. Они идут несколько более полого, чем теоретические характеристики, и медленнее приближаются к оси абсцисс вблизи напряжения запирания. Для сравнения одна из теоретических характеристик показана на рисунке штриховой линией.
Главные причины отклонения реальных характеристик триода от теоретических те же, что и в случае с диодом. Спе
цифические для триода причины состоят в проявлении островкового и краевого эффекта.
Существо островкового эффекта заключается в неравномерной эмиссии электронов с поверхности катода из-за неодинаковой величины электрического поля у катода. При ост
ровковом эффекте из участков катода (островков), расположенных против междувитковых промежутков, наблюдает-
ся более интенсивная эмиссия, чем из участков катода, расположенных против витков сетки.
Островковый эффект при увеличении отрицательного напряжения сетки ведет к увеличению проницаемости лампы, а значит, и к увеличению напряжения запирания, как следует из выражения (3), т.е. к появлению "хвоста" у характеристики. Увеличение проницаемости при повышении отрицательного напряжения можно объяснить уменьшением рабочего "островка" на поверхности катода и удалением его от витков сетки. Вследствие этого степень воздействия сеточного напряжения на катодный ток уменьшается, в то время как влияние напряжения анода на катодный ток не изменяется из-за одинакового удаления анода от любой точки катода.
В появлении "хвоста" у реальной характеристики при малых токах определенную роль играет также краевой эффект, состоящий в том, что при недостаточно длинной сетке в триоде электроны могут двигаться к аноду, обходя ее с краев. Эти электроны образуют обычно небольшой по величине неуправляемый ток, наблюдающийся иногда даже при очень больших отрицательных напряжениях сетки.
Анодно-сеточные характеристики в области
< 0, снятые при различных напряжениях анода, отличающихся друг от друга на одинаковую величину, располагаются примерно на равных расстояниях вдоль оси сеточного напряжения. Это вытекает непосредственно из закона степени 3/2. Если шаг изменения анодного напряжения равен
, то при
=const расстояние между характеристиками вдоль оси сеточного напряжения составит величину
=-
. Так как проницаемость лампы с ростом катодного тока уменьшается из-за островкового эффекта, то расстояние вдоль оси
между характеристиками в верхней части уменьшается, а книзу увеличивается. Эта особенность характеристик наблюдается у всех триодов в более или менее выраженной степени.
В области положительных напряжений сетки помимо анодного тока появляется сеточный ток, который может быть значительным при напряжениях анода, соизмеримых с напряжениями сетки (рис.5б).
Увеличение напряжения сетки ведет к росту катодного тока, который распределяется между сеткой и анодом. При больших напряжениях анода увеличение положительного напряжения сетки ведет к росту как сеточного, так и анодного тока.
Изменение анодного напряжения в области больших напряжений сдвигает анодно-сеточную характеристику и почти не изменяет наклон сеточной характеристики. Если напряжение анода невелико, то вследствие сильного влияния сетки на катодный ток с увеличением напряжения сетки рост анодного тока замедляется, а рост сеточного тока ускоряется. Это проявляется особенно сильно в режиме возврата» При больших напряжениях сетки рост анодного тока прекращается и анодный ток может начать даже уменьшаться, несмотря на рост катодного тока. Наиболее ярко эта особенность анодно-сеточных характеристик проявляется при
= 0, когда анодный ток вначале растет вместе с увеличением катодного тока, а затем уменьшается вследствие возврата к сетке большого количества электронов, попадающих в усиливающееся тормозящее поле.
Особенностью сеточных характеристик (рис.5б) является существенное различие в изменениях тока сетки при одинаковом шаге изменения анодного напряжения в области режима возврата и близкого к нему режима и в области режима прямого перехвата. В любом режиме сеточная характеристика, снятая при большем анодном напряжении, идет ниже, чем снятая при меньшем напряжении.
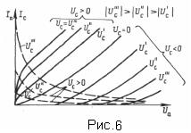
Анодные и сеточно-анодные характеристики. Анодные характеристики триода показаны на рис.6 сплошными линиями, а сеточто-анодные - штриховыми.
При отрицательных напряжениях сетки с увеличением анодно-чо напряжения характеристики смещаются почти па
раллельно. Соседние характеристики, как следует из закона степени 3/2, отстоят друг от друга вдоль оси
на расстояние
= -
.
В области высоких анодных напряжений характеристики расходятся веером, т.е. угол наклона их к оси абсцисс уменьшается, так как с ростом напряжения анода проницаемость снижается. Уменьшение проницаемости при высоких значениях анодного напряжения объясняется увеличением рабочих "островков" на поверхности катода вследствие действия сильного суммарного поля. В результате этого витки сетки приближаются к рабочим островкам, т.е. воздействие сетки на катодный ток увеличивается, и проницаемость триода уменьшается.
При положительных напряжениях сетки с увеличением анодного напряжения анодный ток в режиме возврата вначале быстро возрастает за счет уменьшения количества возвращающихся к сетке электронов, обусловленного ослаблением тормозящего поля между сеткой и анодом. Снижение пространственного заряда, образованного электронами в этом промежутке, еще больше ослабляет тормозящее поле. В дальнейшем рост анодного тока замедляется и триод переходит в режим прямого перехвата. При увеличении напряжения сетки характер кривой анодного тока остается прежним, но характеристика идет выше, так как катодный ток увеличивается.
Особенностью анодных характеристик
>0 является практически полное их совпадение в начальной части - в режиме возврата. Слабое влияние увеличивающегося сеточного напряжения на положение начального участка анодных характеристик связано с ростом пространственного заряда между сеткой и анодом, приводящим к увеличению тормозящего поля в этом промежутке. Сильное тормозящее поле препятствует увеличению анодного тока, несмотря на рост катодного тока, обусловленный увеличением сеточного напряжения.
Зависимость сеточного тока от анодного напряжения, по существу, была рассмотрена ранее (см.рис.3б). Следует лишь отметить, что с ростом анодного напряжения сеточный ток быстро уменьшается в режиме возврата, а затем остается примерно постоянным в режиме прямого перехвата. Характеристика располагается тем ниже, чем меньше положительное напряжение сетки.
Дата добавления: 2015-12-16; просмотров: 2710;
