Теплоизоляция стен
Стена может быть несущей или самонесущей и представляет собой трехслойную конструкцию с несущим слоем из полнотелого керамического кирпича толщиной не менее 380 мм, слоем теплоизоляции из плит "НЕО ТИМ" и защитно-декоративным наружным слоем из кирпича толщиной 120 мм или штукатурки. Теплоизоляционные плиты крепят к несущему слою стены на клею и дополнительно распорными дюбелями.
При подготовке несущей части стены до закрепления к ней теплоизоляции рекомендуется использовать при необходимости выравнивающую штукатурку из сухой смеси БИРСС РСМ 350 (ТУ 5745-004-05668056-97), штукатурной смеси М 150 (ТУ 5745-003-05668056-01) производства опытного завода сухих смесей БИРСС, а также грунтовки Ceresit CT16 и Ceresit CT17 (ТУ 5745-008-58239148-03). Допускается применение штукатурных смесей других производителей, если они отвечают требованиям табл.8 СНиП 3.04.01-87.
Для наклейки плит "НЕО ТИМ" к несущей части стены рекомендуется клеевой состав № 51 (ТУ 5745-011-05668056-98) производства опытного завода сухих смесей БИРСС (Москва), а также клей Ceresit СТ 83 (ТУ 5745-008-58239148-03) или клеевые составы других производителей, включенные в перечень разрешенных для применения в многослойных системах наружного утепления фасадов.
Стены с вентилируемой воздушной прослойкой включают несущую часть, выполненную из полнотелого керамического кирпича, бетонных блоков или из монолитного железобетона, металлический каркас, теплоизоляционный слой из плитного пеностекла "НЕО ТИМ", ветрозащитную пленку и защитный облицовочный экран. Несущая часть стен подвала может быть выполнена из кирпичной кладки, бетонных блоков или из монолитного железобетона.
Теплоизоляция стен подвала необходима только для «теплых» подвалов, в которых размещена нижняя разводка труб систем отопления, горячего водоснабжения, а также труб систем водоснабжения и канализации.
Монтаж плит
Для закрепления теплоизоляционных плит к стене клей следует наносить на оборотную сторону и две боковые стенки теплоизоляционной плиты с помощью зубчатого шпателя по всему периметру (рис. 16А – для цементосодержащих клеев; рис. 16Б– для битумных клеевых составов), а при неровной поверхности стены – пятнами около 10 см в диаметре (рис. 16В), количество которых должно быть не менее пяти штук на плиту. Установку плит в проектное положение осуществляют с прижатием к поверхности несущей части стены немного выше требуемого уровня вплотную к нижнему ряду и на некотором расстоянии от соседней с последующим прижимом к ней. Образование излишков выступающего клея недопустимо.
Рис. 16. Крепление плит к стене: А – цементосодержащим клеем по всей поверхности; Б – битумными клеевыми составами по всей поверхности; В – пятнами для приклейки к неровной поверхности
Выравнивание по горизонтали теплоизоляционных плит может осуществляться с помощью временно закрепленной к несущей части стены деревянной рейки или с применением цокольного профиля (изготовленного из алюминия или оцинкованной стали) толщиной 1–1,5 мм, который закрепляют к несущей части стены дюбелями, расположенными с шагом не более 300 мм.
При установке цокольных профилей необходимо оставлять зазор в стыке между ними в 2-3 мм. Для выравнивания вдоль несущей части стены необходимо использовать соответствующие подкладочные шайбы из ПВХ, а для соединения профилей между собой пластмассовые соединительные элементы.
После установки первого ряда теплоизоляционных плит на цокольный профиль зазор между поверхностью несущей части стены и профилем необходимо заполнить полиуретановой пеной.
Теплоизоляционные плиты устанавливают в направлении снизу вверх вплотную друг к другу. В случае, если между ними образуются зазоры более 2 мм, их необходимо заполнить полиуретановой пеной. Установку и наклеивание теплоизоляционных плит следует выполнять с перевязкой швов.
Плиты теплоизоляционного материала, устанавливаемые в углах оконных и дверных проемов, должны быть цельными, с вырезанными по месту фрагментами. Не допускается стыковать плиты на линиях углов оконных и дверных проемов. Рекомендуемые типы дюбелей для крепления фасадной теплоизоляции приведены в таблице 3.
Таблица 3
Рекомендуемые типы дюбелей
** В бетоне В і 15, кладке из полнотелого керамического кирпича. В кладке из дырчатого кирпича или легкого бетона расчетное усилие уменьшить наполовину.
** В бетоне В і 12,5.
*** В кладке из силикатного кирпича.
Для крепления теплоизоляции к несущей части стены могут быть использованы другие виды дюбелей, отвечающие требованиям табл. 4.
Таблица 4
Основные требования к дюбелям для крепления фасадной теплоизоляции

Установка дюбелей для крепления плит теплоизоляции должна выполняться после полного высыхания клеевого состава. Срок высыхания при температуре наружного воздуха 20 °С и относительной влажности 65 % составляет не менее 72 ч. Перед установкой дюбелей выполняется шлифовка плит теплоизоляции при наличии неровностей в местах стыка.
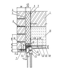
При отделке фасадов штукатуркой сетку, армирующую штукатурный слой, крепят к несущему слою стены также распорными дюбелями (рис. 17). Нахлестка сетки должна составлять не менее 100 мм. При защитно-декоративном слое из штукатурки необходимо, чтобы она имела нулевой предел распространения огня.
Рис. 17. Закрепление армирующей сетки к стене: А – в месте нахлестки; 1 – теплоизоляционные плиты "НЕО ТИМ"; 2 – наружная штукатурка; 3 – дюбельный комплект; 4 – сварная оцинкованная металлическая сетка; 5 – междуэтажное перекрытие; 6 – нахлестка сетки
Традиционная штукатурка выполняется толщиной 25-30 мм из известково-цементного раствора, приготавливаемого на месте из извести, песка, цемента, воды и добавок, в том числе обязательно пластифицирующих, или из сухих растворных смесей, и армируется стальной сеткой. Внешние углы здания, а также углы дверных и оконных проемов должны быть усилены дополнительными стальными сетками 250х400 мм на скрутках. В качестве вяжущего рекомендуется портландцемент или шлакопортландцемент по ГОСТ 10178-85* марок 300; 400 и известь строительная по ГОСТ 9179-77 в виде известкового теста (g = 1 400 кг/м³). Технические требования – по ГОСТ 28013-98 «Растворы строительные. Общие технические условия». Приготовление раствора в соответствии с указаниями Инструкции по приготовлению и применению строительных растворов, СН 290-74. Рекомендуемые рецептуры штукатурных смесей приведены в табл. 5. Штукатурка выполняется улучшенного качества или высококачественная с нанесением ее соответственно в два или три слоя.
Таблица 5
Составы штукатурных смесей

Из приведенных в табл. 5 смесей № 1 служит для приготовления грунтовки, № 2 – для грунта и № 3 – для отделочного слоя, окрашенного в массе.
При улучшенной штукатурке (под окраску) общая толщина штукатурного слоя доводится до 30 мм и поверхность ее выравнивается «под правило». При высококачественнной штукатурке и окраске фасадов второй слой грунта выравнивают по маякам и после его схватывания наносят отделочный слой – накрывку толщиной 1-2 мм из мелкозернистого раствора, который затирается гладилками или затирочно-шлифовальными машинами. При отделке цветным раствором толщина выполненного к этому моменту штукатурного слоя должна составлять около 25-27 мм.
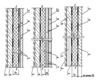
Рис. 18. Вертикальный шов: А – в штукатурном слое; Б – над деформационным швом в стене; 1 – стена; 2 – клей для приклейки плит (сухая смесь № 51); 3 –плиты "НЕО ТИМ"; 4 – сварная оцинкованная металлическая сетка; 5 – наружная штукатурка; 6 – дюбельный комплект; 7 – горизонтальный шов; 8 – уплотнитель типа «Вилатерм»; 9 – герметик
После полного затвердевания штукатурки ее в соответствии с проектом прорезают на всю толщину горизонтальными и вертикальными деформационными швами шириной 6 мм с шагом не более 8 м (рис. 18 и 19). Крайний вертикальный шов должен располагаться не ближе 150 мм от угла фасада (наружного или входящего). Затем швы заделывают вулканизующейся мастикой.
Рис. 19. Горизонтальный шов в штукатурке: 1 – стена; 2 – штукатурка; 3 – дюбельный комплект; 4 – сварная оцинкованная металлическая сетка; 5 – наружная штукатурка
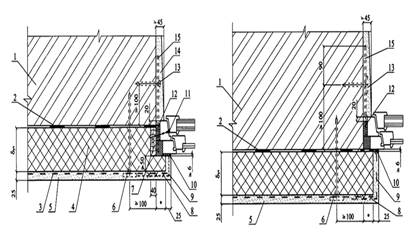
Между штукатурным слоем и элементами заполнения проемов окон, дверей, ворот и др. (рис. 20 и 21) предусматривается паз на всю толщину штукатурки, заполняемый вулканизующейся мастикой, в качестве которой рекомендуются силиконовые или тиоколовые составы – клей-герметик кремний-органических марок «Эластосил 11-06» (ТУ 6-02-775-76) и «Эластосил 137-181» (ТУ 6-02-1-362-84), выпускаемые Данковским химзаводом (Липецкая обл.), и мастика тиоколовая марки «АМ-0,5» (ТУ 84-246-95), выпускаемая Московским заводом строительных красок.
Рис. 20. Поперечный разрез примыкания окна к стене (варианты): 1 – стена; 2 – клей; 3 – сварная оцинкованная металлическая сетка 20х20 Ж 1,0-1,6 мм; 4 – теплоизоляционные плиты; 5 – наружная штукатурка; 6 – дюбельный комплект; 7 – доска, пропитанная антипиреном; 8 – вязальная проволока; 9 – П-образная сетка; 10 – мастика-герметик; 11 – гвоздь; 12 – пена строительная; 13 – дюбель HPS-1, «Хилти»; 14 – внутренняя штукатурка; 15 – пластина 6х40 мм, заранее скрепленная шурупами с оконной рамой
Армирование штукатурного слоя выполняется стальной цельнопаянной оцинкованной тканой сеткой по ГОСТ 2715-75 с размером ячейки 20 мм и диаметром проволоки 1-1,6 мм.
Рис. 21. Вертикальный разрез примыкания окна к стене: А – верх окна; Б – низ окна; 1 – стена; 2 – клей; 3 – наружная штукатурка; 4 – теплоизоляционные плиты; 5 – сварная оцинкованная металлическая сетка; 6 – дюбельный комплект; 7 – П-образная сетка; 8 – пена строительная; 9 – мастика-герметик; 10 – стеклопакет; 11 – окно деревянное; 12 – гвоздь; 13 – дюбель HPS-1, «Хилти»; 14 – пластина 6х40 мм; 15 – внутренняя штукатурка; 16 – железо-бетонная надоконная перемычка; 17 – шуруп; 18 – дюбель из полиамида; 19 – слив из оцинкованной стали; 20 – костыль из полосы 4х40 мм; 21 – вязальная проволока; 22 – доска, пропитанная антипиреном; 23 – подоконник по проекту
Фасады отделывают нанесением слоя цветного раствора (цветной накрывки) или окрашиванием поверхности. Первый вариант предпочтительнее из-за меньшей стоимости, большей прочности поверхности и практичности отделки, на которой незаметны мелкие дефекты. Отделочный слой выполняется также из известково-цементного раствора с добавлением необходимых пигментов (от 3 до 12 % к весу сухого вяжущего). Подробные рекомендации содержатся в Инструкции по приготовлению и применению строительныхрастворов, СН 290-74. Оптимальным является применение раствора, получаемого из сухих смесей заводского изготовления.
Отделочный слой из цветного раствора наносится с помощью пневматической форсунки непосредственно по второму слою штукатурки (грунту). Характеристика вариантов отделки из цветного раствора дана в табл. 6.
Таблица 6
Характеристики цветных растворов

Для цветовой отделки применяют известково-цементные или цементные краски, которые отличаются высокой атмосферостойкостью и представляют собой смесь белого портландцемента и извести со щелочестойкими пигментами и добавками хлористого кальция.
Применяют также и другие долговечные и атмосферостойкие краски, перечень которых приведен в Приложении 3 СНиП 2.03.11-85, в том числе полимерцементные краски на основе поливинилацетатной дисперсии, алкидные, перхлорвиниловые и хлоркаучуковые эмали.
При отсутствии требований к получению особо гладкой поверхности краску наносят без какой-либо дополнительной обработки выполненной штукатурки с расходом ее около 0,9 кг/м².
Для получения особо гладкой поверхности по грунту выполняют слой накрывки толщиной до 2 мм из мелкозернистого раствора (крупностью зерна до 1 мм). В этом варианте нет необходимости в тщательной затирке поверхности второго слоя штукатурки (грунта); она должна быть лишь ровной после ее выравнивания правилом. По накрывке наносится краска с расходом ее около 0,8 кг/м².
Отделку цоколя рекомендуется выполнять из материалов повышенной прочности и декоративности, допускающих их очистку и мойку, например, из лицевого кирпича, плит из натурального или искусственного камня, керамической и стеклянной плитки и др.
Верхняя кромка этой защитно-декоративной отделки должна располагаться не ниже 2,5 м от уровня планировки. Аналогичную отделку могут иметь углы стен, порталы дверей, арок, ворот, оконные наличники или отдельные участки глухих стен.
Продолжительность эксплуатации наружной штукатурки из сложного раствора до капитального ремонта в соответствии с «Положением об организации и проведении реконструкции, ремонта и технического обслуживания зданий, объектов коммунального и социально-культурного назначения. Нормы проектирования.», ВСН 58-88 (р), Госкомархитектуры, М., 1990 составляет 30 лет. Тонкослойная штукатурка выполняется толщиной 4,5 – 7,5 мм и армируется щелочестойкой стеклосеткой (табл. 7).
Таблица 7
Физико-технические показатели стеклосеток

Внешние углы здания, а также углы дверных и оконных проемов должны быть усилены пластмассовыми уголками с вклеенной сеткой, которые устанавливают встык по отношению друг к другу с нахлесткой сетки в месте стыка.
После устройства усиливающего уголка на плоскости откосов дверных и оконных проемов следует наклеить стеклосетку размером 20х30 см. При этом усилительная полоска армирующей сетки наносится без напуска на пластмассовую часть уголка.
При устройстве защитного слоя на поверхность закрепленного утеплителя наносится кельмой клеевой состав, на котором фиксируется полотно стеклосетки, после чего сразу же устанавливается второе полотно с напуском 9-10 см на первое, а в местах примыкания защитного слоя к оконным и дверным блокам снимается фаска под углом 45° для уплотнительной ленты или герметизирующей мастики.
После технологического перерыва не менее 72 ч., необходимого для высыхания клеевого состава, на поверхность защитного слоя наносят выравнивающий состав БИРСС № 52 (ТУ 5745-011-05668056-98) или состав Ceresit CT16 (ТУ 5745-008-58239148-03) или других составов применяемых для тонкослойной штукатурки. До нанесения декоративного слоя необходимо выдержать технологический перерыв не менее 24 ч. Основание под декоративную штукатурку или окраску должно соответствовать требованиям СНиП 3.04.01-87.
На армированную стеклосеткой поверхность теплоизоляции теркой наносят декоративный штукатурный слой из смеси № 50
(ТУ 5745-003-05668056-01) производства опытного завода сухих смесей БИРСС (Москва).
Работы по нанесению штукатурной смеси следует выполнять при температуре воздуха от 5 до 30°С и относительной влажности не более 80 %. При выполнении работ следует избегать нанесения штукатурки на участки фасада, находящиеся под воздействием прямых солнечных лучей, ветра и дождя, для чего строительные леса закрывают пленкой.
Свеженанесенный штукатурный слой в течение трех суток (для белой штукатурки) и в течение 24 ч. (под окраску) следует защищать от прямого воздействия дождя и пересыхания под воздействием прямых солнечных лучей. Окрашивание штукатурки следует выполнять силикатными фасадными красками через три дня, а акриловыми – через две недели после устройства штукатурки.
Между штукатурным слоем и элементами заполнения проемов (окон, дверей) применяется профиль из ПВХ с уплотнительной лентой. Как вариант предусматривается паз на всю толщину штукатурки, заполняемый уплотнительной лентой, герметиком или вулканизирующимися мастиками – клей-герметиком «Эластосил» 11-06, «Эластосил» 137-181, тиоколовой мастикой «АМ-0,5» и т.п.
На высоту не менее 2,5 м от планировочной отметки защитно-декоративный слой должен выполняться из цементно-песчаной штукатурки толщиной не менее 12 мм с использованием дополнительного слоя стеклосетки. Отделку цоколя рекомендуется выполнять из материалов повышенной прочности и стойкости к истиранию, допускающих их очистку и мойку, например, из лицевого кирпича, плит из натурального или искусственного камня, керамической и стеклянной плитки, мозаичной штукатурки и др.
Аналогичная отделка цоколя на высоту не менее 0,6 м от планировочной отметки должна предусматриваться и при реконструкции стены.
Парапеты, пояса, подоконники и т. п. должны иметь надежные сливы из оцинкованной стали, которые обеспечивают отвод атмосферной влаги и исключают возможность ее сбегания непосредственно по стене.
Для защитной стенки может применяться кирпич или камни керамические лицевые (ГОСТ 7484-78) или отборные стандартные (ГОСТ 530-95) предпочтительно полусухого прессования, а также силикатный кирпич (ГОСТ 379-95). При облицовке силикатным кирпичом цоколь, пояса, парапеты и карниз выполняют из керамического кирпича.
При новом строительстве защитная стенка из кирпича может выполняться на всю высоту здания. При этом она может быть самонесущей до высоты 6-7 м, а далее навесной с опиранием на пояса, выступающие из несущей стены через каждые два этажа (6-7 м) по высоте здания.
При реконструкции кирпичная защитная стенка обязательна в виде цоколя высотой не менее 2,5 м от планировочной отметки. По архитектурным соображениям она может быть выполнена самонесущей и большей высоты. При защитной стенке из кирпича кладка ведется с обязательным заполнением раствором горизонтальных и вертикальных швов и расшивкой с фасадной стороны.
Шаг температурных швов в кирпичной облицовке принимается по СНиП II-22-81* как для неотапливаемых зданий. При облицовке кирпичной кладкой в новом строительстве последняя армируется с несущей частью стены сварными арматурными сетками, располагаемыми с шагом по высоте 600 мм (рис. 22); площадь поперечных стержней (связей) должна быть не менее 0,4 см²/м² (глава СНиП II-22-81, п. 6.32).
Рис. 22. Крепление наружной кирпичной кладки: 1 – несущая стена; 2 – кирпичная кладка; 3 – рихтовочный зазор; 4 –плиты "НЕО ТИМ"; 5 – клей; 6 – арматурная сетка; 7 – внутренняя штукатурка
Над оконными проемами кирпичная стенка укладывается на уголок, опирающийся на кирпичную кладку у вертикальных кромок проема (рис. 23 и 24).
Рис. 23. Вертикальный разрез оконного проема (верх): 1 – стена; 2 – кирпичная облицовка; 3 – рихтовочный зазор; 4 –плиты "НЕО ТИМ"; 5 – клей; 6 – сварная арматурная сетка; 7 – сварная оцинкованная металлическая сетка; 8 – мастика-герметик; 9 – пена строительная; 10 – гвоздь; 11 – доска, пропитанная антипиреном; 12 – дюбель HPS-1, «Хилти»; 13 – пластина 6х40 мм; 14 – внутренняя штукатурка; 15 – надоконная железобетонная перемычка
Отделку цоколя рекомендуется выполнять из аналогичных материалов. Подобную отделку могут иметь углы стен, порталы дверей, арок, ворот, оконные наличники или отдельные участки глухих стен.
Рис. 24. Вертикальный разрез оконного проема (низ): 1 – стена (несущая часть); 2 – подоконник по проекту; 3 – дюбель HPS-1, «Хилти»; 4 – пластина 6х40 мм; 5 – брусок, пропитанный антипиреном; 6 – гвоздь; 7 – шуруп; 8 – мастика – герметик; 9 – дюбель из полиамида; 10 – фартук из оцинкованной кровельной стали; 11 – костыль из полосы 40х4 мм; 12 – анкер; 13 – цементно-песчаный раствор; 14 – сварная арматурная сетка; 15 – клей; 16 – теплоизоляционные плиты
Все открытые поверхности стальных элементов, выходящих на фасад, и анкера, устанавливаемые в кладке, должны быть защищены от коррозии металлизацией слоем толщиной 120 мкм или лакокрасочными покрытиями (п. 2.40-2.45 СНиП 2.03.11-85).
Необходимость устройства в стене слоя пароизоляции определяется расчетом в соответствии со СНиП 23-02-2003.
Теплоизоляция полов
Полы с теплоизоляционным слоем из плит пеностекла "НЕО ТИМ" могут выполняться по подстилающему песчаному или бетонному слою (в полах по грунту) или по железобетонному перекрытию.
В полах по грунту плиты пеностекла должны, как правило, укладываться на слой гидроизоляции (рис. 25). Они крепятся к подстилающему слою на битумной мастике, а при наличии гидроизоляции из наплавляемого рулонного битумно-полимерного материала методом подплавления последнего. В подвальных помещениях теплоизоляционный слой должен предусматриваться в полах с нормируемым теплоусвоением.
Рис. 25. Полы на грунте: 1 – песчаный подстилающий слой; 2 – утрамбованный грунт; 3 – гидроизоляция; 4 – теплоизоляционные плиты; 5 – бетонное покрытие пола; 6 – бетонный подстилающий слой; 7 – сборная стяжка из гипсоволокнистых листов; 8 – монолитная стяжка из раствора на основе цемента или гипса; 9 – клеевой слой горячего тугоплавкого битума или мастика; 10 – паркетное покрытие пола; 11 – глазурованная плитка
Полы на грунте в помещениях с нормируемой температурой внутреннего воздуха, расположенные выше отмостки здания или ниже ее не более, чем на 0,5 м, должны быть утеплены в зоне примыкания пола к наружным стенам или стенам, отделяющим отапливаемые помещения от неотапливаемых на ширину 0,8 м путем укладки по грунту слоя утеплителя толщиной, определяемой из условия обеспечения термического сопротивления этого слоя не менее термического сопротивления наружной стены.
Требуемая толщина теплоизоляционного слоя должна устанавливаться расчетом в соответствии с указаниями СНиП 23-02-2003.
В полах по железобетонному перекрытию плиты пеностекла "НЕО ТИМ" укладываются на предварительно выровненную поверхность перекрытия, а при необходимости на слой пароизоляции (рис. 26). Необходимость устройства пароизоляции в каждом конкретном случае должна определяться расчетом сопротивления паропроницанию в соответствии с указаниями СНиП 23-02-2003.
Рис. 26. Пол на перекрытии: А – над неотапливаемым подвалом; Б – автостоянка над подземным гаражом; В – деформационный шов в полу; 1 – пароизоляция; 2 – теплоизоляционные плиты; 3 – сборная стяжка из гипсоволокнистых листов; 4 – клеевой слой из горячего тугоплавкого битума или мастики; 5 – паркетное покрытие пола; 6 – несущая плита; 7 – гидроизоляция; 8 – уплотнительный шнур типа «Вилатерм»; 9 – уретановая мастика
По теплоизоляционному слою из плит пеностекла "НЕО ТИМ" укладывается разделительный слой из принятого по проекту материала, поверх нее выполняется монолитная стяжка или сборная стяжка из гипсоволокнистых листов.
Монолитная стяжка выполняется на основе цементного или гипсового вяжущего и должна быть толщиной не менее 40 мм. Прочность стяжки на изгиб должна быть не менее 2,5.
При сосредоточенных нагрузках на пол более 20 кН толщина монолитной стяжки по теплоизоляционному слою должна устанавливаться расчетом из условия исключения деформации последнего (СНиП 2.03.13-88 «Полы»).
В местах сопряжения стяжек, выполненных по теплоизоляционному слою с другими конструкциями здания (стенами, перегородками и т. п.), должны быть предусмотрены зазоры шириной 25–30 мм на всю толщину стяжки, заполняемые звукоизоляционным материалом.
Сборные стяжки следует выполнять из спаренных гипсоволокнистых листов размером 1 500х500 мм в соответствии с указаниями СП 55-102-2001. Общая толщина сборной стяжки из двух гипсоволокнистых листов составляет 20 мм. При стыковке сборной стяжки из спаренных гипсоволокнистых листов на фальцы уложенных элементов стяжки сплошным слоем наносится дисперсия ПВА или клеящая мастика с последующим скреплением фальцев шурупами длиной не менее 19 мм, располагаемых с шагом 300 мм.
В местах примыкания сборной стяжки к стенам, перегородкам и т. п. конструкциям следует предусматривать зазор толщиной 8 - 10 мм, который заполняют кромочной лентой.
Полы автостоянок рекомендуется выполнять с бетонным покрытием, толщину которого следует назначать в зависимости от интенсивности механического воздействия.
Покрытия толщиной от 50 до 120 мм рекомендуется армировать одним слоем металлической сетки из проволоки диаметром 5 мм с ячейками 100х100 мм или 150х150 мм, толщиной 120-80 мм – двумя слоями металлической сетки, а при толщине более 180 мм каркас определяется расчетом. Нижний слой металлической сетки укладывается на прокладки толщиной не менее 20 мм, верхний картами 6х6 м, а в особых случаях картами 3х3 м на опоры, приваренные к нижнему слою сетки.
В покрытиях полов толщиной более 50 мм рекомендуется предусматривать деформационные швы в продольном и поперечном направлениях с шагом от 3 до 6 м. Швы должны совпадать с осями колонн, со швами плит перекрытий, деформационными швами подстилающего слоя, а при двухслойном армировании сетками – с границами верхнего слоя арматуры. Глубина деформационного шва должна быть не менее 40 мм и не менее 1/3 толщины покрытия, ширина 3-5 мм.
Дата добавления: 2015-07-10; просмотров: 1590;
