Теплоизоляция из пеностекла
На отечественном рынке представлено пеностекло марок: FOAMGLASS, "ГОМЕЛЬГЛАС" и "НЕО ТИМ". Теплоизоляционные плиты из пеностекла марки "НЕО ТИМ" производятся Lanzhou Pengfei Heat Preservation Co.,Ltd, представителем которой в России является ООО «Диелнио». В основу рекомендаций положено руководство по применению пеностекла "НЕО ТИМ", разработанное ОАО «ЦНИИПромзданий» для специалистов, занятых проектированием и устройством стен и покрытий зданий и сооружений. В Руководстве изложены требования к конструкциям стен, покрытий и полов, утепленных пеностеклом, а также правила по производству и приемке работ. Оно разработано в дополнение к гл. СНиП II-26-76 «Кровли. Нормы проектирования», изд. 2001 года и СНиП 3.04.01-87 «Изоляционные и отделочные покрытия».
Толщина теплоизоляции из пеностекла определяется расчетом, исходя из условий эксплуатации здания или сооружения: района строительства и температурно-влажностного режима внутренних помещений.
Конструкции покрытий
Конструкции совмещенных покрытий могут быть с применением сборных железобетонных плит (или монолитных железобетонных оснований), стальных профилированных настилов и деревянных несущих конструкций с утеплением из плит "НЕО ТИМ" и кровлями из рулонных материалов, из мастик, армированных стекломатериалами, и из металлических листов.
Покрытия со сборными железобетонными плитами или с монолитным железобетонным основанием либо стальным профнастилом включают следующие слои:
- грунтовка (праймер), например, «КТ-Праймер» (ТУ 5774-023-10861980-03), или приготовленная из битума и керосина, взятых в соотношении 1:2 (по массе);
- теплоизоляцию из плит "НЕО ТИМ" (сертификат соответствия № РОСС СN.АИ 85.Н00034 от 05 июня 2007 года);
- слои из мастик по ГОСТ или из тугоплавкого горячего битума – для приклеивания теплоизоляционных плит к несущему основанию и друг с другом;
- водоизоляционный ковер из рулонных материалов, наклеенных на горючих битумных мастиках (ГОСТ 2889-80), из полимерных пленок или из наплавляемых рулонных материалов, или из мастик, армированных стеклосетками (тканями), либо из металлических листов.
Покрытия с деревянными несущими конструкциями включают следующие основные слои:
• стропила со сплошным деревянным настилом;
• прокладочный слой из битумных рулонных материалов с механическим креплением к настилу;
• теплоизоляция, приклеивающий слой и водоизоляционный ковер.
Теплоизоляционные работы следует совмещать с работами по устройству кровель. Укладка плит и устройство нижнего слоя водоизоляционного ковра должны производиться в одну и ту же смену. Плиты следует укладывать «на себя».
Если процесс производства работ временно прерывается, то поверхность плит "НЕО ТИМ" должна быть защищена слоем тугоплавкого битума.
При укладке плит "НЕО ТИМ" выполняются следующие операции.
Перед укладкой утеплителя на основание нижнюю плоскость и две смежные грани плиты смачивают горячим (160-180°С) битумом путем погружения плит в емкость с битумом при помощи специальных щипцов.
Первый ряд плит укладывают строго перпендикулярно и параллельно ребру (гофре) профлиста, следующие ряды плотно подгоняют к первому с соблюдением перевязки стыков. Стыки плит должны быть полностью заполнены битумом. Избыток битума удаляют планкой до его остывания.
При укладке "НЕО ТИМ" по стальным профнастилам раскладку плит желательно выполнять так, чтобы стыки плит находились на полках профнастилов, или при проектировании обеспечивать условия по сочетанию толщины теплоизоляционных плит (d) и расстояния (b) между полками профнастилов (см. табл. 1).
Таблица 1
Рекомендуемая толщина плит при изоляции по профнастилу

При устройстве теплоизоляции из двух слоев плит необходимо швы между ними выполнять «вразбежку». В местах примыкания теплоизоляционных плит к выступающим над покрытием конструктивным элементам (стенкам, парапетам, фонарям, вентшахтам и т. п.) необходимо выполнять переходные наклонные (под углом 45º) бортики из плит "НЕО ТИМ". Высота бортика должна быть не менее 100 мм. Для этой цели могут быть использованы готовые уголки высотой 100; 130 мм, длиной 400 мм, или напиленные из плит.
Эксплуатируемое покрытие может быть устроено только по сборному или монолитному железобетонному основанию. В качестве защитного слоя могут служить бетонные плиты, монолитная стяжка или почвенно-растительный слой.
При уклонах кровель свыше 15 % и до 60 % укладку плит следует производить только на горячем тугоплавком битуме, а на уклонах более 60 % – с дополнительным механическим креплением.
Железобетонные покрытия
До начала изоляционных работ должны быть выполнены и приняты все строительно-монтажные работы на изолируемых участках, включая замоноличивание швов между плитами, устройство выравнивающей стяжки из раствора, установку и закрепление к плитам чаш водосточных воронок, компенсаторов деформационных швов, патрубков (или стаканов) для пропуска инженерного оборудования и т. п. Кирпичные парапеты должны быть оштукатурены и иметь необходимые закладные детали.
Поверхности основания из сборных железобетонных плит или монолитного железобетона должны быть выровнены, а стыки между плитами зачеканены цементно-песчаным раствором марки не ниже 50 (ГОСТ 28031–98) или легким бетоном класса не ниже В7,5 (ГОСТ 25820-2000). Уклонообразующий слой рекомендуется выполнять из раствора или легкого бетона.
Теплоизоляционные плиты при укладке по толщине в два и более слоев следует располагать вразбежку с плотным прилеганием друг к другу. Нахлестки между слоями должны составлять 1/2–1/3 поверхности плит.
Плиты точечно приклеивают к основанию и между собой (при толщине в два и более слоя) горячим битумом строительных марок или мастикой. При наклейке плиты плотно прижимают друг к другу и к основанию. Точечная либо полосовая приклейка должна быть равномерной и составлять 25 - 35 % склеиваемых поверхностей. На поверхность плит наносят битум или мастику с расходом около 2,5 кг/м².
При эксплуатируемой кровле (рис. 1) по плитам теплоизоляции предусматривают слой цементно-песчаного раствора или тротуарные плитки на растворе по разделительному слою, устраиваемому по проекту, и выполняют из жесткого (с осадкой конуса до 30 мм) раствора марок 50–100. Затирку из раствора по железобетонному основанию предусматривают толщиной 10–15 мм.
Рис. 1. Эксплуатируемое покрытие: А – для пешеходного движения и озеленения; Б – для автостоянок и паркингов; 1 – несущая железобетонная плита; 2 – выравнивающая стяжка из цементно-песчаного раствора марки 50 или уклонообразующий слой из легкого бетона; 3 – грунтовка раствором битума в керосине (1:3); 4 – полосовая или точечная приклейка плит "НЕО ТИМ" горячим битумом или мастикой с расходом около 0,3 кг/м²; 5 – плиты "НЕО ТИМ"; 6 – слой горячего битума или мастики с расходом около 2,5 кг/м²; 7 – водоизоляционный ковер из битумных, битумно-полимерных рулонных наплавляемых материалов или полимерной пленки; 8 – геотекстиль; 9 – пригрузочный слой из гравия; 10 – керамические, керамогранитные или бетонные плитки на растворе или пластиковых подставках; 11 – цементно-песчаный раствор; 12 – почвенный слой; 13 – дренажный слой из гравия; 14 – тротуарные плитки; 15 – резиновые или пластиковые подставки; 16 – бетонные плитки; 17 – полиэтиленовая пленка 2 слоя (слой скольжения); 18 – армированная стяжка; 19 – дорожные железобетонные плиты; 20 – асфальтобетон; 21 – пергамин
В слое из цементно-песчаного раствора предусматривают температурные швы шириной 10 мм, разделяющие слой раствора на участки не более 3х3 м. Температурно-усадочные швы в монолитном слое раствора рекомендуется выполнять путем прорезки механической пилой. Допускается образовывать их путем установки реек при укладке цементно-песчаного раствора, которые удаляют после твердения раствора, а швы заполняют мастикой – герметиком с последующей укладкой на шов полосок рулонного материала шириной 150 – 200 мм с наклейкой их по кромкам. Также проклеивают стыки, образуемые листами сборной стяжки.
Для обеспечения необходимой адгезии рулонных и кровельных материалов все поверхности основания из бетона или цементно-песчаного раствора должны быть грунтованы холодными составами (праймерами).
Грунтовку наносят на сухую и обеспыленную поверхность при помощи окрасочного распылителя или вручную кистью. Грунтовка должна иметь прочное сцепление с основанием. На приложенном к ней после высыхания тампоне не должно оставаться следов цементного вяжущего или пыли.
Кровля может быть выполнена либо двухслойной из рулонных наплавляемых битумно-полимерных материалов, либо однослойной из полимерных рулонных материалов. Мастичная кровля может быть армирована одним-тремя армирующими слоями из стеклоткани (рис. 2–4).
Рис. 2. Кровля из полимерной пленки с механическим креплением (неэксплуатируемая): 1 – несущая железобетонная плита; 2 – выравнивающая стяжка из цементно-песчаного раствора марки 50 или уклонообразующий слой из легкого бетона; 3 – грунтовка раствором битума в керосине (1:3); 4 – полосовая или точечная приклейка плит "НЕО ТИМ"; 5 – плиты "НЕО ТИМ"; 6 – слой горячего битума или мастики; 7 – водоизоляционный ковер из полимерной пленки; 8 – склейка полимерной мастикой или сварной шов в нахлестке полимерной пленки; 9 – крепежный элемент; 10 – краевой герметик; 11 – П-образная зубчатая металлическая деталь; 12 – прокладочный слой из геотекстиля
При однослойной кровле из полимерной пленки, ее, как правило, укладывают насухо с механическим креплением или пригрузом (рис. 2). При двухслойной кровле из наплавляемых битумно-полимерных рулонных материалов (с верхним слоем из материала с крупнозернистой посыпкой) эти материалы укладывают, как правило, путем сплошной приклейки к основанию под кровлю; допускается нижний слой ковра приклеивать частично (полосами) или крепить механическим способом (рис. 3). На участках примыканий кровли к парапетам, деформационным швам и другим конструктивным элементам основанием под кровлю должны служить наклонные бортики высотой не менее 100 мм (под углом 45º) из теплоизоляционных плит "НЕО ТИМ", применяемых для утепления покрытий. Бортики из теплоизоляционных материалов должны быть приклеены к основанию под кровлю.
Рис. 3. Кровля из битумно-полимерных рулонных материалов (в том числе наплавляемых) с механическим креплением нижнего слоя (неэксплуатируемая): 1 – несущая железобетонная плита; 2 – выравнивающая стяжка из цементно-песчаного раствора; 3 – грунтовка; 4 – полосовая или точечная приклейка плит "НЕО ТИМ"; 5 – плиты "НЕО ТИМ"; 6 – слой горячего битума или мастики с расходом около 2,5 кг/м²; 7 – водоизоляционный ковер из битуминозных рулонных материалов; 8 – герметик (мастика); 9 – крепежный элемент; 10 – приклейка; 11 – П-образная зубчатая металлическая деталь; 12 – прокладочный слой из геотекстиля
Рис. 4. Кровля мастичная, армированная стекломатериалами, или из наклеиваемых битумных или битумно-полимерных рулонных материалов, в том числе наплавляемых (неэксплуатируемая): 1 – несущая железобетонная плита; 2 – выравнивающая стяжка из цементно-песчаного раствора марки 50; 3 – грунтовка; 4 – полосовая или точечная приклейка плит "НЕО ТИМ"; 5 – плиты "НЕО ТИМ"; 6 – приклейка битумной мастикой; 7 – защитный слой (крупнозернистая посыпка на верхнем слое рулонного материала, гравий или посыпка по верхнему мастичному слою); 8 – водоизоляционный ковер
Изоляционные работы выполняют в соответствии с требованиями главы СНиП 3.04.01-87 «Изоляционные и отделочные работы», СНиП III-4-80* «Техника безопасности в строительстве», а также СО–002–02495342–2005 «Кровли зданий и сооружений. Проектирование и строительство», М., ОАО «ЦНИИПромзданий», 2005 год.
Максимально допустимая площадь кровли из рулонных и мастичных материалов групп горючести Г-3 и Г-4 при общей толщине водоизоляционного ковра до 6 мм, не имеющей защиты слоем гравия, а также площадь участков, разделенных противопожарными поясами (стенами), не должна превышать значений, приведенных в табл. 2.
Таблица 2
Максимально допустимая площадь кровли

Противопожарные пояса должны быть выполнены как защитные слои эксплуатируемых кровель шириной не менее 6 м. Примеры примыканий кровельного ковра из рулонных материалов к невысокому парапету приведены на рис. 5 и 6. На примыкании водоизоляционного ковра к стене (рис. 7) предусматривают крепление верхней кромки дополнительных слоев ковра и герметизацию закрепленного к стене фартука из оцинкованной кровельной стали.
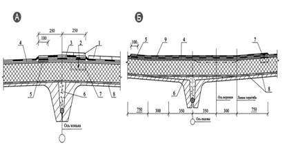
Рис. 5. Примыкание кровли к невысоким парапетам: А – высотой около 200 мм; Б – высотой не более 450 мм; 1 – слой рулонного материала (усиление кровли в ендове); 2 – краевой герметик (в кровле из полимерной пленки); 3 – дополнительные слои ковра (усиление кровли на примыкании к парапету); 4 – склейка полимерной мастикой или сварной шов в нахлестке полимерной пленки; 5 – костыль; 6 – защитный фартук из оцинкованной кровельной стали; 7 – бортик из "НЕО ТИМ"; 8 – дюбель; 9 – ограждение; 10 – приклейка горячим битумом или мастикой; 11 – стена; 12 – уплотнитель типа «Вилатерм»; 13 – легкий бетон класса В 7,5 на пористых заполнителях; 14 – приклейка по кромкам
Рис. 6. Примыкание кровли из полимерной пленки с механическим креплением: 1 – водоизоляционный ковер; 2 – усиление кровли в ендове; 3 – прокладочный слой из геотекстиля; 4 – краевой герметик; 5 – склейка полимерной мастикой или сварной шов в нахлестке полимерной пленки; 6 – крепежный элемент; 7 – дополнительные слои ковра; 8 – защитный фартук из оцинкованной кровельной стали; 9 – костыль; 10 – дюбель; 11 – ограждение; 12 – приклейка по кромкам; 13 – П-образная зубчатая металлическая деталь; 14 – стена; 15 – уплотнитель типа «Вилатерм»; 16 – механическое крепление по кромкам; 17 – легкий бетон класса В 7,5 на пористых заполнителях; 18 – прокладочный слой из битуминозного рулонного материала; 19 – водоизоляционный ковер из битумно-полимерных материалов
Рис. 7. Примыкание кровельного ковра к стене: 1 – керамические, керамогранитные или бетонные плитки на растворе; 2 – водоизоляционный ковер из полимерной пленки; 3 – дополнительный водоизоляционный слой; 4 – склейка полимерной мастикой или сварной шов в нахлестке полимерной пленки; 5 – пригрузочный слой из гравия; 6 – бортик из плит "НЕО ТИМ"; 7 – защитный фартук из оцинкованной кровельной стали; 8 – дюбель; 9 – герметик; 10 – стена; 11 – уплотнитель типа «Вилатерм»; 12 – легкий бетон класса В 7,5 на пористых заполнителях; 13 – полосовая или точечная приклейка плит "НЕО ТИМ"
Рис. 8. Водоизоляционный ковер: А – на коньке; Б – в ендове кровли; 1 – керамические, керамогранитные или бетонные плитки на растворе; 2 – крепежный элемент; 3 – усиление кровли в коньке; 4 – геотекстиль (в кровлях из полимерных пленок, укладываемых насухо); 5 – приклейка по кромкам; 6 – легкий бетон класса В 7,5 на пористых заполнителях; 7 – П-образная зубчатая металлическая деталь; 8 – полосовая или точечная приклейка плит "НЕО ТИМ"; 9 – усиление кровли в ендове.
Покрытия с профилированным настилом
Покрытие включает следующие конструкционные слои: стальной профилированный настил, теплоизоляцию из плит "НЕО ТИМ", водоизоляционный ковер из рулонных или мастичных материалов.
В местах примыкания профнастила к стенкам парапетов, к деформационным швам, к водосточным воронкам, а также с каждой стороны конька и ендовы следует предусматривать заполнение пустот ребер настилов (со стороны теплоизоляции) на длину 250 мм заглушками из негорючих минераловатных материалов.
Теплоизоляционные плиты могут закрепляться к профнастилу наклейкой горячим битумом или мастикой по полкам профнастила. Водоизоляционный ковер выполняют по аналогии с изоляцией по бетонному основанию.
Теплоизоляционные плиты "НЕО ТИМ" укладывают на профнастил тремя методами: метод 1 – укладка плит на горячий битум (рис. 9.1); метод 2 – укладка плит по пароизоляционному слою из наплавляемых материалов (рис. 9.2); метод 3 – укладка плит "НЕО ТИМ" по нанесенному полосами битуму (рис. 9.3).
Рис. 9. Укладка плит из пеностекла: 1 – укладка плит на горячий битум; 2, 3 – укладка плит по пароизоляционному слою; 4, 5 – укладка плит по нанесенному полосами битуму; 6 – уложенные плиты; 7 – нанесение горячего битума по плитам; 8 – устройство подстилающего слоя из наплавляемого рулонного материала
После укладки теплоизоляционных плит (рис. 9.4) и нанесения на них горячего битума (рис. 9.5) производят наклейку прокладочного слоя из наплавляемого рулонного материала (рис. 9.6). Примыкание кровельного ковра из битуминозных материалов и полимерной пленки к парапету и стенам выполняют по аналогии с рис. 5 и 6, а к воронке внутреннего водостока и деформационному шву у стены приведено на рис.10 и 11.
Рис. 10. Примыкание водоизоляционного ковра к воронке внутреннего водостока: 1 – полосовая приклейка плит "НЕО ТИМ"; 2 – краевой герметик (в кровлях из полимерной пленки); 3 – сварной шов (в кровле из полимерных пленок); 4 – прижимной фланец; 5 – колпак воронки; 6 – дополнительный слой ковра вокруг воронки; 7 – заглушка из негорючего утеплителя; 8 – прогон; 9 – опорный столбик; 10 – патрубок с фланцем; 11 – стальной хомут; 12 – стальной поддон
Рис. 11. Примыкание водоизоляционного ковра к деформационному шву: 1 – полосовая приклейка плит "НЕО ТИМ"; 2 – дополнительные слои рулонного материала (усиление примыкания кровли); 3 – бортик из теплоизоляционных плит "НЕО ТИМ"; 4 – приклейка по кромкам; 5 – костыль из полосы 40х4 мм через 600 мм; 6 – защитный фартук из оцинкованной кровельной стали; 7 – деревянный брус антисептированный и антипирерованный; 8 – герметик – мастика; 9 – дюбель ДГ 3,7х70 Ц6; 10 – металлическая полоса 40х4 мм; 11 – компенсатор из оцинкованной кровельной стали; 12 – приклейка плит "НЕО ТИМ"; 13 – дополнительный слой теплоизоляции; 14 – минеральная вата; 15 – гнутый бортик из металла; 16 – стена; 17 – стальная гребенка; 18 – стальная пластина 220х120х100 мм; 19 – болт с шайбой и гайкой
Покрытие мансард
Несущие конструкции мансард могут быть выполнены из дерева или стали марок С235, С245, С255, С345 по ГОСТ 27772-88*. В поперечнике несущие конструкции мансард представляют собой раму. Шаг рам и сечения элементов определяются статическим расчетом. Соединение металлоконструкций предусматривается на сварке и монтажных болтах или на постоянных болтах. Сечения узловых элементов и величина сварных швов определяются расчетом.
Рис. 12. Кровля из рулонных битумно-полимерных, в т.ч. наплавляемых, материалов и из мастик со стекломатериалами в покрытии по деревянному настилу: 1 – сплошная приклейка плит "НЕО ТИМ" ; 2 – водо-изоляционный ковер; 3 – плиты "НЕО ТИМ"; 4 – сплошной настил из досок; 5 – стропило деревянное; 6 – толевые гвозди; 7 – подкладочный слой из битуминозного рулонного материала; 8 – сплошная приклейка плит "НЕО ТИМ" горячим битумом или мастикой
Деревянные несущие конструкции следует выполнять из пиломатериалов хвойных пород второго сорта по ГОСТ 8486-86*. Для изготовления настилов и обрешетки применяется древесина 3-го сорта, а для несущих элементов стропильной системы (стропильные ноги, ендова, мауэрлаты, прогоны, стойки, подкосы, связи) – древесина 2-го сорта. Соединения деревянных элементов несущих конструкций предусмотрены гвоздевыми с прямой расстановкой гвоздей или расположением их в шахматном порядке. Для устройства деревянных несущих конструкций должны применяться элементы с глубокой антипиреновой пропиткой.
Рис. 13. Кровля из гибкой битумной черепицы в покрытии: А – по деревянному настилу; Б – по профилированному настилу; 1 – гипсокартонный лист (2 слоя); 2 – гидроизоляционно-диффузионная пленка типа «Тайвек» 3 – стропило деревянное; 4 – гибкая черепица; 5 – контробрешетка; 6 – сплошной настил из досок; 7 – вентилируемая воздушная прослойка; 8 – деревянный брусок 40х30 мм; 9 – деревянный брусок 60х40 мм; 10 – плиты "НЕО ТИМ"; 11 – стропило стальное; 12 – стальной профлист; 13 – вкладыш из гипсокартона.
Огнезащитная облицовка стальных и деревянных несущих конструкций предусмотрена двумя слоями гипсокартонных листов марок ГКЛО и ГКЛВО (ГОСТ 6266-97) или гипсоволокнистых листов марок ГВЛ и ГВЛВ (ГОСТ Р 51829). Под обшивкой предварительно закрепляют проcечно-вытяжную сетку или стальные струны диаметром не менее 2 мм с шагом 250 - 300 мм. Устройство огнезащитной облицовки несущих стальных и деревянных конструкций следует выполнять в соответствии с указаниями СП 55-101-2000 и СП 55-102-2001. Конструктивные решения покрытий мансард, утепленных плитами "НЕО ТИМ", приведены на рис. 12 и 13.
Рис. 14. Покрытие с кровлей из стальных листов: 1 – несущая деревянная конструкция; 2 – прокладочный слой из рулонного битумного материала; 3 – теплоизоляционные плиты, наклеенные полосами (как вариант – сплошная наклейка); 4 – покровный слой горячего битума или мастики; 5 – закладная металлическая деталь; 6 – прокладочный слой из рулонного материала, наклеенный на битуме или мастике (как вариант наплавляемый материал); 7 – слой геотекстиля массой 150 г/м²; 8 – кляммер; 9 – металлический лист.
Рис. 15. Металлическая кровля в покрытии: А – по железобетонному основанию; Б – по профилированному настилу; В – по деревянному настилу; 1 – сборное или монолитное железобетонное основание; 2 – грунтовка; 3 – приклейка горячим битумом или мастикой; 4 – теплоизоляционные плиты "НЕО ТИМ"; 5 – слой горячего битума или мастики с расходом 2,5 кг/м²; 6 – кровля; 7 – стоячий фальц; 8 – П-образная зубчатая металлическая деталь; 9 – прокладочный слой из битуминозного рулонного материала; 10 – крепежные элементы кляммеры; 11 – стропило; 12 – сплошной настил из досок; 13 – профнастил; 14 – кровельные гвозди
Покрытие с кровлей из металлических листов
Покрытие с кровлей из металлических листов состоит из слоев, представленных на рис. 14. Покрытия с кровлей из металлических листов предусмотрены с несущими сборными железобетонными плитами (или железобетонным монолитным основанием), профнастилом или деревянными конструкциями (рис. 15).
Дата добавления: 2015-07-10; просмотров: 1562;
