Резерв насосного оборудования насосных станций водоотведения
| Производственные сточные воды (бытовые и близкие к ним по составу) | Агрессивные сточные воды | ||||
| Рабочие насосы | Резервные насосы при категории надежности действия | Рабочие насосы | Резервные насосы при всех категориях надежности действия | ||
| I | II | III | |||
| 1 и 1 на складе | |||||
| 2-3 | |||||
| 3 и более | 1 и 1 на складе | ||||
| - | - | - | - | 5 и более | не < 50% |
Для насосных станций с погружными агрегатами один из резервных насосов можно не устанавливать, а хранить его на складе.

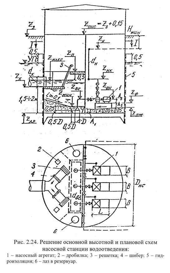
Составление высотной и плановой схем насосной станции
Дата добавления: 2015-07-10; просмотров: 1440;
