Требования к выбросам в атмосферу
Лекция 10. Методы и средства защиты атмосферы
План лекции
Требования к выбросам в атмосферу
10.2. Рассеивание выбросов в атмосфере
Параметры газоочистки
Оборудование для очистки выбросов
10.4.1. Аппараты сухой очистки газов
Электрическая очистка
Фильтры тонкой очистки
Аппараты мокрой очистки газов
Туманоуловители
Метод абсорбции
Метод адсорбции
Метод термической нейтрализации
Каталитические нейтрализаторы
Аппараты многоступенчатой очистки
Требования к выбросам в атмосферу
Средства защиты атмосферы должны ограничивать наличие вредных веществ в воздухе среды обитания человека на уровне не выше ПДК. Во всех случаях должно соблюдаться условие
C+Cф≥ ПДК
по каждому вредному веществу (Сф – фоновая концентрация). Соблюдение этих требований достигается локализацией вредных веществ в месте их образования, отводом из помещения или от оборудования и рассеиванием в атмосфере. Если при этом концентрации вредных веществ в атмосфере превышают ПДК, то применяют очистку выбросов от вредных веществ в аппаратах очистки, установленных в выпускной системе.
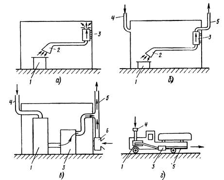
На практике реализуются следующие варианты защиты атмосферного воздуха:
– вывод токсичных веществ из помещений общеобменной вентиляцией;
– локализация токсичных веществ в зоне их образования местной вентиляцией, очистка загрязненного воздуха в специальных аппаратах и его возврат в производственное или бытовое помещение, если воздух после очистки в аппарате соответствует нормативным требованиям к приточному воздуху (рис. 10.1 а);
– локализация токсичных веществ в зоне их образования местной вентиляцией, очистка загрязненного воздуха в специальных аппаратах, выброс и рассеивание в атмосфере (рис. 10.1 б);
– очистка технологических газовых выбросов в специальных аппаратах, выброс и рассеивание в атмосфере; в ряде случаев перед выбросом отходящие газы разбавляют атмосферным воздухом (рис. 10.1 в);
– очистка отработавших газов энергоустановок, например двигателей внутреннего сгорания в специальных агрегатах, и выброс в атмосферу или производственную зону (рудники, карьеры, складские помещения и т. п.) (рис. 10.1 г).
Для соблюдения ПДК вредных веществ в атмосферном воздухе населенных мест устанавливают предельно допустимый выброс (ПДВ) вредных веществ из систем вытяжной вентиляции, различных технологических и энергетических установок.
В соответствии с требованиями ГОСТ 17.2.3.02–78 для каждого проектируемого и действующего промышленного предприятия устанавливается ПДВ вредных веществ в атмосферу при условии, что выбросы вредных веществ от данного источника в совокупности с другими источниками (с учетом перспективы их развития) не создадут приземную концентрацию, превышающую ПДК.

Рис. 10.1. Схемы использования средств защиты атмосферы:
1–источник токсичных веществ; 2–устройство для локализации токсичных веществ (местный отсос); 3–аппарат очистки; 4–устройство для забора воздуха из атмосферы; 5–труба для рассеивания выбросов; 6 –- устройство (воздуходувка) для подачи воздуха на разбавление выбросов
10.2. Рассеивание выбросов в атмосфере
Технологические газы и вентиляционный воздух после выхода из труб или вентиляционных устройств, подчиняется законам турбулентной диффузии. На рис. 10.2 показано распределение концентрации вредных веществ в атмосфере под факелом организованного высокого источника выброса. По мере удаления от трубы в направлении распространения промышленных выбросов можно условно выделить три зоны загрязнения атмосферы: переброса факела выбросов Б, характеризующаяся относительно невысоким содержанием вредных веществ в приземном слое атмосферы; задымления В с максимальным содержанием вредных веществ и постепенного снижения уровня загрязнения Г. Зона задымления наиболее опасна для населения и должна быть исключена из селитебной застройки. Размеры этой зоны в зависимости от метеорологических условий находятся в пределах 10...49 высот трубы.
Максимальная концентрация примесей в приземной зоне прямо пропорциональна производительности источника и обратно пропорциональна квадрату его высоты над землей.
Подъем горячих струй почти полностью обусловлен подъемной силой газов, имеющих более высокую температуру, чем окружающий воздух. Повышение температуры и момента количества движения выбрасываемых газов приводит к увеличению подъемной силы и снижению их приземной концентрации.
Распространение газообразных примесей и пылевых частиц диаметром менее 10 мкм, имеющих незначительную скорость осаждения, подчиняется общим закономерностям. Для более крупных частиц эта закономерность нарушается, так как скорость их осаждения под действием силы тяжести возрастает. Поскольку при очистке от пыли крупные частицы улавливаются, как правило, легче, чем мелкие, в выбросах остаются очень мелкие частицы; их рассеивание в атмосфере рассчитывают так же, как и газовые выбросы.

Рис. 10.2. Распределение концентрации вредных веществ в атмосфере у земной поверхности от организованного высокого источника выбросов: А–зона неорганизованного загрязнения; Б–зона переброса факела; В–зона задымления; Г– зона постепенного снижения уровня загрязнения
В зависимости от расположения и организации выбросов источники загрязнения воздушного пространства подразделяют на затененные и незатененные, линейные и точечные. Точечные источники используют тогда, когда удаляемые загрязнения сосредоточены в одном месте. К ним относят выбросные трубы, шахты, крышные вентиляторы и другие источники. Выделяющиеся из них вредные вещества при рассеивании не накладываются одно на другое на расстоянии двух высот здания (с заветренной стороны). Линейные источники имеют значительную протяженность в направлении, перпендикулярном к ветру. Это аэрационные фонари, открытые окна, близко расположенные вытяжные шахты и крышные вентиляторы.
Незатененные, или высокие источники свободно расположены в недеформированном потоке ветра. К ним относят высокие трубы, а также точечные источники, удаляющие загрязнения на высоту, превышающую 2,5 Нзд. Затененные, или низкие источники расположены в зоне подпора или аэродинамической тени, образующейся на здании или за ним (в результате обдувания его ветром) на высоте h≤2,5Нзд.
Основньм документом, регламентирующим расчет рассеивания и определения приземных концентраций выбросов промышленных предприятий, является «Методика расчета концентраций в атмосферном воздухе вредных веществ, содержащихся в выбросах предприятий. ОНД–86». Эта методика позволяет решать задачи по определению ПДВ при рассеивании через одиночную незатененную трубу, при выбросе через низкую затененную трубу и при выбросе через фонарь из условия обеспечения ПДК в приземном слое воздуха.
При определении ПДВ примеси от расчетного источника необходимо учитывать ее концентрацию Сф в атмосфере, обусловленную выбросами от других источников. Для случая рассеивания нагретых выбросов через одиночную незатененную трубу
(10.1)
где Н – высота трубы; Q – объем расходуемой газовоздушной смеси, выбрасываемой через трубу; DТ – разность между температурой выбрасываемой газовоздушной смеси и температурой окружающего атмосферного воздуха, равной средней температуре самого жаркого месяца в 13 ч; А – коэффициент, зависящий от температурного градиента атмосферы и определяющий условия вертикального и горизонтального рассеивания вредностей; kF – коэффициент, учитывающий скорость оседания взвешенных частиц выброса в атмосфере; т и п – безразмерные коэффициенты, учитывающие условия выхода газовоздушной смеси из устья трубы.
Дата добавления: 2015-08-11; просмотров: 1938;
