Пуск асинхронного двигателя при пониженном напряжении на обмотке статора
Ограничение пусковых токов асинхронных двигателей путем понижения напряжения применяется в том случае, если пуск осуществляется без нагрузки.

В соответствии с формулой пусковой ток пропорционален подведенному напряжению . Уменьшение напряжения вызывает соответствующее уменьшение пускового тока.
Для уменьшения пусковых токов применяют схемы пуска при пониженном напряжении:
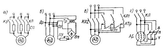
1. включением резисторов в цепь обмотки статора (рис. 9.13, а);
2. включением индуктивных сопротивлений в цепь обмотка статора (рис. 9.13, б);
3. включением обмотки статора через автотрансформатор (рис.9.13, в);
4. переключением обмотки статора со способа соединения фазных обмоток статора (
) «звезда» на «треугольник» (рис. 14.9 г).

Рис.14.9 Схемы пуска асинхронного двигателя при пониженном напряжении

В схеме на рис. 14.9, а при пуске замкнуты контакты линейного контактора КЛ, поэтому обмотка статора подключается к питающей сети через пусковые токоограничивающие резисторы СП. После того, как двигатель наберет обороты, а пусковой ток уменьшится до безопасных значений (обычно 2…2,5 номинального), схема управления замыкает контакты второго контактора – ускорения КУ, при этом двигатель подключается к сети «напрямую».
В схеме на рис. 14.9б для ограничения пусковых токов последовательно с обмоткой статора включены токоограничивающие рабочие обмотки дросселя насыщения Др. Его обмотка управления ОУ питается постоянным током через понижающий трансформатор Тр и выпрямитель Вп.
При пуске индуктивное сопротивление рабочих обмоток дросселя должно быть максимальным, поэтому ток в обмотке управления ОУ должен быть минимальным. Для этого ползунок резистора поста управления ПУ должен находиться в крайнем правом положении.
После пуска ток в обмотке управления ОУ постепенно увеличивают, для чего перемещают ползунок ПУ влево. Индуктивное сопротивление рабочих обмоток постепенно уменьшается.
Когда ползунок ПУ перемещен влево до упора, пуск закончен. При таком положении ползунка индуктивное сопротивление рабочих обмоток дросселя практически равно нулю, что равнозначно прямому подключению обмотки статора к питающей сети.
В схеме на рис. 14.9в использованы два контактора – регулировочный КЛ1 и линейный КЛ2, а также автотрансформатор АТр.. При пуске включается контактор КЛ1, при замыкании нижних контактов которого образуется нулевая точка «звезды» трех фазных обмоток автотрансформатора, а через верхние контакты подается питание питающей сети на верхние выводы этих обмоток.
В момент пуска ползунки автотрансформатора должны находиться в крайнем нижнем положении, при этом обмотка статора асинхронного двигателя закорочена через нижние контакты КЛ1, т.е. напряжение на ней равно нулю. Поэтому скорость ротора также равна нулю, ротор неподвижен.
Для пуска ползунки автотрансформатора постепенно перемещают вверх, при этом напряжение, снимаемое с обмоток автотрансформатора и подаваемое на обмотку статора, также постепенно увеличивается. Поэтому скорость двигателя увеличивается.
Пуск закончен, если ползунки автотрансформатора перемещены в крайнее верхнее положение. Когда на обмотку статора подается полное напряжение питающей сети, автотрансформатор не нужен.
В этот момент времени включается линейный контактор КЛ2 и отключается регулировочный КЛ1. При замыкании контактов КЛ2 обмотка статора двигателя подключается к питающей сети «напрямую», а при размыкании контактов КЛ1 автотрансформатор отключается от обмотки статора двигателя (он уже выполнил свою роль).
В схеме на рис. 14.9г использован линейный контактор КЛ и переключатель «звезда»-«треугольник» П. Для пуска включают линейный контактор КЛ, через замыкающиеся контакты которого напряжение питающей сети подается на верхние выводы обмотки статора двигателя АД. После этого переводят переключатель в нижнее положение «звезда». При этом нижние выводы обмотки статора соединяются вместе, в нулевую точку, обмотка статора соединена «звездой» и на статор двигателя подаётся фазное напряжение. В результате преключения с треугольника на звезду пуск приизводится при пониженном напряжении, что спообствует уменьшению пускового тока.
После того, как двигатель наберет обороты и перестанет увеличивать скорость, переключатель переводят в верхнее положение «треугольник». Двигатель с броском тока переключается со «звезды» на «треугольник», после чего разгоняется на «треугольнике» до скорости, зависящей от статического момента механизма.
Этот способ нашёл самое широкое применение на судах ввиду его простоты (не требуются резисторы, индуктивные сопротивления или автотрансформаторы) и эффективности - пусковой ток уменьшается в 3 раза.
Все 4 рассмотренные выше схемы пуска при пониженном напряжении имеют один и тот же принципиальный недостаток: резкое уменьшение пускового момента двигателя, поскольку электромагнитный момент двигателя пропорционален квадрату напряжения.







Дата добавления: 2015-08-11; просмотров: 2948;
