Геологическая деятельность рек.
Реки производят огромную денудационную и аккумулятивную работу, существенно преобразуя рельеф. Мощные водные потоки производят большую эрозионную, переносную и аккумулятивную работу. Способность рек производить работу называют энергией реки, или ее живой силой. Она пропорциональна массе воды и скорости течения.
В образовании речных долин главная роль принадлежит эрозии. Различают эрозию донную, или глубинную, направленную на врезание потока в породы, слагающие дно русла, и боковую, ведущую к подмыву берегов и, в целом, к расширению долины. Соотношение глубинной и боковой эрозии меняется на разных стадиях развития долины. В начальных стадиях преобладает глубинная эрозия, когда водный поток стремиться выработать свой продольный профиль, который характеризуется значительными неровностями. Река стремиться сгладить эти неровности применительно к уровню моря или озера, в которые впадает река. Уровень бассейна, куда впадает река, определяет глубину эрозии речного водного потока и называется базисом эрозии. Он является общим для всей речной системы. Постепенно в нижнем течении реки уклон продольного профиля уменьшается, приближаясь к горизонтальной линии, уменьшается скорость течения и, следовательно, затухает глубинная эрозия.
Одновременно с эрозией реки при своем движении захватывают продукты разрушения (при выветривании или эрозии) горных пород и переносят их волочением по дну, во взвешенном состоянии, и в растворенном виде, называютсятвердым стоком рек.
Грубый обломочный материал усиливает донную эрозию, но и сам измельчается, истирается и окатывается, образуя гальку, гравий, песок.
Одновременно с эрозией и переносом происходит и отложение обломочного материала. Уже на первых стадиях развития реки при явном преобладании процессов эрозии и переноса на отдельных участках частично откладывается обломочный материал. Отложения, накапливающиеся в речных долинах в результате деятельности водного потока, называются аллювиальными отложениями или аллювием.
В процессе размывающей и аккумулятивной деятельности реки в коренных породах вырабатывают вытянутые, корытообразные углубления, которые носят название речных долин.
Строение речных долин.Долины рек разнообразны по формам, размерам и строению (рис. 1.3). Бывают симметричные и асимметричные долины.

Рис.19.3. Элементы строения долины рек:
1 – коренные породы; 2 – склон; 3 – русло; 4 – пойма; 5 – первая надпойменная терраса; 6 – вторая надпойменная терраса; 7 – старица; 8 – дно долины.
Долины включают следующие элементы:
Дно – наиболее низкая по отметкам часть долины. Русло – часть долины, занятая водным потоком. Пойма – часть долины, заливаемая водой в период паводка. Поймы бывают низкие (заливаются ежегодно) и высокие (заливаются раз в 10-15 лет). Старицы – изолированные старые русла рек, в которых вода не движется. Тальвег – условная линия, соединяющая наиболее глубокие (на низших отметках) точки дна долины.
Террасы – уступы на склонах долин (рис. 1.4). Поперечные террасы располагаются поперек долины рек, образуя водопады. Их появление связано с пересечением рекой пород различной прочности.
Продольные (надпойменные) террасы располагаются вдоль склонов в виде горизонтальных площадок их называют.
Отсчет надпойменным террасам ведут снизу вверх (I надпойменная, II надпойменная и тд.). Терраса измеряется высотой и шириной.
Продольные террасы по слагающему их материалу подразделяют на:
Эрозионные террасы, которые вымываются рекой в коренных породах долины и возникают в начальной развития реки или в ее верхнем течении.
Цокольные террасы- эрозионные террасы перекрытые маломощным аллювием.
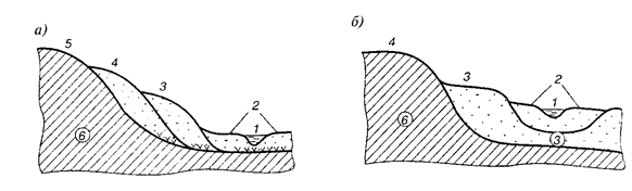
Аккумулятивные террасы (рис. 1.5) полностью сложены из аллювиального материала и наиболее типичны для долин большинства рек. Они подразделяются на вложенные и наложенные. Формирование вложенных террас происходит следующим образом. Вначале река образует долину в коренных породах, далее река заполняет долину аллювиальными наносами, при новом усилении эрозионной деятельности дно долины углубляется, но это происходит в ранее отложившемся аллювии.

Рис. 19.4. Типы надпойменных террас.
а – эрозионные; б – цокольные; в – аккумулятивные; 1 – русло; 2 – пойма; 3 – первая надпойменная терраса; 4 – вторая надпойменная терраса; 5 – коренные породы.

Рис. 1.5. Виды надпойменных аккумулятивных террас
а – вложенные; б – наложенные; 1 – русло; 2 – пойма; 3-5 – надпойменные террасы; 6 – коренные породы.
Часть аллювия, прислоненная к коренному склону, сохраняется в виде надпойменных террас. Последующие циклы накопления наносов образуют новые надпойменные террасы, причем каждая последующая моложе предыдущей. Наложенные террасы образуются несколько иначе. Усиление эрозионной деятельности приводит лишь к частичному размыву ранее отложившегося аллювия. Аккумуляция новых наносов происходит поверх более древних аллювиальных отложений
Дата добавления: 2015-08-11; просмотров: 1316;
