Емкость р-n перехода
Основное влияние на возможность работы электронно-дырочного перехода на определѐнных частотах оказывают две ѐмкости, которые называют диффузионной и барьерной. (видеоролик)
Барьерной называют ѐмкость, которая возникает при обратном включении электронно-дырочного перехода, когда практически все носители заряда находятся на границе раздела, а в нѐм самом отсутствуют.
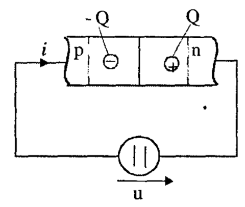
Вследствии диффузии электронов и дырок через p-n переход области, возникают нескомпенсированные объемные заряды ионизированных атомов примесей, которые закреплены в узлах кристаллической решетки полупроводника и поэтому не участвуют в процессе протекания электрического тока. Однако объемные заряды создают электрическое поле, которое в свою очередь самым существенным образом влияет на движение свободных носителей электричества, то есть на процесс протекания тока.
При увеличении обратного напряжения область пространственных зарядов и величина заряда в каждом слое (p и n) увеличивается. Это увеличение происходит непропорционально: при большом по модулю обратном напряжении заряд увеличивается при увеличении модуля напряжения медленнее, чем при малом по модулю обратном напряжении.

Q – пространственный заряд в слое n полупроводника
U - внешнее напряжение, приложенное к p-n переходу.
(Оспищева – барьерная емкость доклад, Маспак – диффузионная емкость)
Диффузионную ѐмкость инициируют носители заряда, которые при прямом включении электронно-дырочного перехода в силу инжекции диффундируют через него и не успевают пройти рекомбинацию.
Общая емкость p-n перехода – это сумма барьерной и диффузионной емкости.
Дата добавления: 2015-08-11; просмотров: 1061;
