ЗОЛОУЛАВЛИВАНИЕ
Количество частиц золы и несгоревшего топлива в продуктах сгорания зависит от вида и характеристики топлива, способа его сжигания и конструкции топки. Часть золы топлива и несгоревших его частиц осаждается в топке и в газоходах парогенератора. В парогенераторах с топками для слоевого сжигания топлива вместе с продуктами сгорания удаляется до 10 – 15 % золы топлива. При факельном сжигании пылеугольного топлива и жидком шлакоудалении унос золы продуктами сгорания составляет 30 – 40 %, а в топках с сухим шлакоудалением достигает 75 – 85 %. Удельное содержание золы в уходящих газах составляет, например, при работе парогенератора на АШ и сухом шлакоудалении до 20 г/м3 , а при использования бурых углей – до 40 г/м3 , что значительно превышает допустимые концентрации твердых частиц в газах, установленные санитарно-техническими нормами.
В парогенераторных установках для очистки продуктов сгорания от твердых частиц применяют следующие устройства:
1. Механические инерционные золоуловители, в которых частицы уноса отделяются от газов под влиянием сил инерции при вращательном вихревом движении потока газов: различные конструкции циклонов, в том числе с омываемыми водой стенками и решетками.
2. Электрофильтры, очистка газов в которых основана на ионизации газовой среды и притяжении заряженных частиц уноса к электродам.
3. Комбинированные золоуловители, состоящие из последовательно установленных золоуловителей различной конструкции, например циклон и электрофильтр.
Основной характеристикой золоуловителей является коэффициент очистки (коэффициент обеспыливания) газов:
,
где
,
- общая масса уловленных частиц уноса и общая масса частиц уноса, входящих в золоуловитель.
Коэффициенты обеспыливания зависят от характеристик уноса и режимов работы парогенератора.
Важными показателями золоуловителей являются добавочный расход электроэнергии на тягу, вызываемый аэродинамическим сопротивлением золоуловителя, удельный расход воды на очистку газов при мокрых золоуловителях, а также стоимость золоуловителя.
а) Инерционные золоуловители – циклоны. Применяются инерционные золоуловители различной конструкции.
На рис. 74 показана схема простейшего циклона. Запыленный поток газов подводится в циклон тангенциально, выход газов осуществляется через трубу, расположенную в центре циклона.
Под воздействием центробежной силы
твердые частицы отбрасываются к стенкам циклона, теряют скорость и выпадают в бункер. Эффективность обеспыливания в циклоне повышается с увеличением окружной скорости газов
, увеличением массы частиц m и уменьшением радиуса циклона
.

Рис. 74. Схема действия циклона:
1 – корпус циклона; 2 – входной
патрубок; 3 – крышка;
4 – выходной патрубок;
5 – конусная часть корпуса
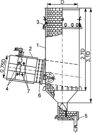
б) Батарейные циклоны. Для повышения эффективности работы инерционного золоуловителя, а также для уменьшения его габаритов применяют батарейные циклоны, состоящие из большого числа параллельно включенных циклонных элементов малого диаметра. Схема батарейного циклона показана на рис.75.
Температура газов в циклоне допустима не более 450°С. Эффективность пылеулавливания в батарейном циклоне в процессе эксплуатации парогенератора и при наличии вторичного уноса отсепарированной пыли из бункера значительно уменьшается при отклонениях скорости газов от расчетной. Потери напора в батарейном циклоне при обычно принятых скоростях газа 3,5 – 4,75 м/с и номинальной нагрузке составляет 500 – 700 Па. При очистке газов в парогенераторах со слоевыми топками
, при пылеугольном сжигании топлива
.

Рис. 75. Схема батарейного циклона:
1 – входной патрубок; 2 – распредели-
тельная камера; 3 – циклонные элементы;
4 – выхлопные трубы; 5 – направляющие
аппараты; 6 – пылевыводящие отверстия;
7 – сборный бункер; 8 – камера очищенного
газа; 9 – опорные решетки; 10 – опорный
пояс
Батарейные циклоны применяются в парогенераторных установках с производительностью до 320 т/ч. Промышленностью выпускаются батарейные циклоны типа БЦ, состоящие из одной, двух, четырех и шести секций с числом элементов от 25 до 792 шт. Общий коэффициент сопротивления для элемента d = 250 мм с винтовым направляющим аппаратом
.
в) «Мокрые» циклонные золоуловители. С целью повышения коэффициента улавливания пыли применяют «мокрые» циклонные золоуловители, в которых стенки циклона и поток газов орошаются водой.
На рис. 76 показана схема центробежного скруббера – золоуловителя ЦС – ВТИ, в котором орошаются водой его стенки. Такие золоуловители изготовляются диаметром от 600 – 1700 мм и производительностью 1,1 – 11 м3/с. Перепад давлений в золоуловителе 650 – 800 Па.
На рис. 77 показана схема мокропруткового золоуловителя МП – ВТИ, в котором на входе газов в золоуловитель имеется прутковая орошаемая водой решетка. Золоуловители применяются диаметром от 2300 мм до 3300 мм, производительностью от 18 м3/с до 38,2 м3/с. Расход воды составляет 2,9 – 4,1 кг/с. Перепад давлений 650 – 800 Па. Степень очистки в мокропрутковом золоуловителе достигает
. Мокрые золоуловители могут применяться при приведенном содержании серы в топливе менее 0,3% на 1 МДж/кг и содержании свободной щелочи в золе менее 12%. Жесткость воды, подаваемой на орошение, должна быть не выше 15 мг-экв/кг.
Основным преимуществом мокрых золоуловителей является исключение вторичного уноса уловленной пыли, что повышает их КПД. «Мокрые» золоуловители в эксплуатации сложнее и менее надежны, чем батарейные циклоны, и их применение ограничивается предельным содержанием серы в топливе и щелочностью золы. Помимо этого, при применении таких золоуловителей необходима очистка загрязненной воды.
г) Электрофильтры. Очистка газов в электрофильтрах основана на том, что вследствие коронного разряда, происходящего между двумя электродами, к которым подведен пульсирующий электрический ток высокого напряжения до 60 кВ отрицательного знака, проходящий через электрофильтр поток газов заполняется отрицательными ионами, которые под действием сил электрического поля движутся от коронирующего к осадительному электроду. При этом находящиеся в газе частицы адсорбируются и увлекаются к осадительным электродам. Накапливающийся на осадительных электродах унос периодически стряхивается специальными устройствами в бункера, из которых затем удаляется.

Рис. 76. Центробежный скруббер ЦС – ВТИ:
1 – корпус; 2 – входной патрубок;
3 – оросительные сопла; 4 – смывные
сопла; 5 – золосмывной аппарат
Коронирующие электроды выполняются в виде металлических стержней, ленточно-игольчатыми или в виде стержней штыкового сечения. Осадительные электроды изготавливаются из труб или пластин. Применяются электрофильтры с горизонтальным и вертикальным потоком газов. Для парогенераторных установок преимущественно применяются горизонтальные электрофильтры с пластинчатыми электродами. В зависимости от числа последовательно расположенных электродов различают одно-, двух-, и четырехпольные электрофильтры.

Рис. 77. Мокропрутковый золоуловитель МП – ВТИ:
1 – корпус; 2 – входной патрубок; 3 – оросительные сопла;
4 – распределительное кольцо; 5 – смывные сопла; 6 – прутковая
решетка; 7 – оросительные форсунки прутковой решетки
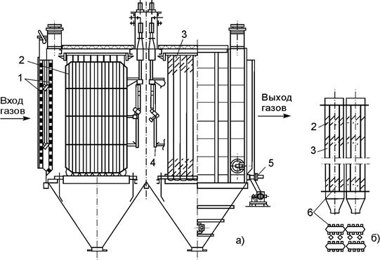
Схема конструкции горизонтального двухпольного электрофильтра показана на рис. 78.
Оптимальная скорость газов в электрофильтре 1,5 – 1,7 м/с, при этом аэродинамическое сопротивление электрофильтра 200 – 300 Па. Расход электроэнергии на очистку газов составляет 0,1 – 0,15 кВт·ч на 100 м3 газа. Температура газов перед электрофильтром не должна превышать 200 °С. Степень очистки газов в электрофильтре зависит от скорости газов, длины электродов и расстояния между ними, а также характеристики пыли. В применяемых конструкциях электрофильтров улавливается большая часть пыли с размерами частиц более 10 мкм; коэффициент очистки составляет ηоч = 96÷97 %.

Рис. 78. Горизонтальный пластинчатый двухпольный электрофильтр:
а – общий вид; б – элементы электрофильтра; 1 – газораспреде-
лительная решетка; 2 – коронирующие электроды; 3 – осадительные
электроды; 4 – механизм встряхивания коронирующих электродов;
5 – механизм встряхивания осадительных электродов; 6 – карманы
осадительных электродов
д) Комбинированные золоуловители. Комбинированный золоуловитель обычно состоит из батарейного циклона в качестве первой ступени очистки и электрофильтра с горизонтальным или вертикальным ходом газов, объединенных в один агрегат. В батарейном циклоне происходит улавливание крупных частиц уноса, что улучшает работу электрофильтра. Коэффициент очистки в комбинированных золоуловителях достигает ηоч = 98 %.
Сравнительные характеристики золоуловителей. В табл. 3 приведены примерные данные, характеризующие золоуловители различной конструкции.
Циклоны и батарейные циклоны преимущественно применяются в котлах малой и средней мощности (до 160 т/ч) при слоевом и факельном сжигании топлива. Мокропрутковые золоуловители используются при небольшом содержании серы в топливе и повышенных требованиях к очистке газов. Наиболее сложные и дорогие золоуловители – электрофильтры и комбинированные золоуловители (батарейные циклоны с электрофильтрами) – применяются в котлах большой мощности при высоких требованиях к очистке продуктов сгорания.
Таблица 3
Дата добавления: 2015-07-10; просмотров: 2044;
