Аппаратах
Электромагнитные механизмы применяются для приведения в действие многих аппаратов. Конструкции электромагнитов равнообразны, они могут быть классифицированы:
1) по способу действия: удерживающие — для удержания тех или иных грузов или деталей (например, электромагнитные столы станков, электромагниты подъемных кранов и т. п.); притягивающие — совершают определенную работу, притягивая свой якорь;
2) по способу включения: с параллельной катушкой — ток в катушке определяется параметрами самого электромагнита и напряжением сети; с последовательной катушкой- катушка включается в силовую цепь, ток в катушке

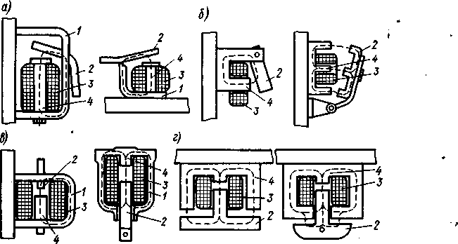
Рйс. 5-1. Схемы электромагнитов: а, б — с поворотным якорем; в, г — с прямоходовым якорем
1 — скоба; 2 — якорь; 3 — катушка; 4 — сердечник
определяется не параметрами электромагнита, а теми устройствами (машины, аппараты), в цепь которых включена катушка;
3) по роду тока: постоянного тока — при параллельном включении ток в катушке зависит от сопротивления ее обмотки и приложенного напряжения, электромагнитная система работает при постоянной МДС; переменного тока — при параллельном включении ток в катушке зависит от индуктивности системы, меняющейся обратно пропорционально воздушному зазору, электромагнитная система работает при постоянстве потокосцеплений;
4) по характеру движения якоря: поворотные — якорь поворачивается вокруг какой-то оси или опоры (рис. 5-1, а и б); прямоходовые — якорь перемещается поступательно (рис. 5-1, в и г).
Дата добавления: 2015-08-11; просмотров: 872;
