Классификация электрических сетей. По назначению электрические сети до 1000 В жилых и общественных зданий делятся на питающие и распределительные.
По назначению электрические сети до 1000 В жилых и общественных зданий делятся на питающие и распределительные.
Питающей сетьюназывают линии, идущие от трансформаторной подстанции до ВРУ и от ВРУ до силовых распределительных пунктов в силовой сети и до групповых щитков в осветительной сети.
Распределительной сетьюназывают линии, идущие от распределительных пунктов в силовой сети до силовых электроприемников.
Групповой сетьюназываются линии, идущие от групповых щитков освещения до светильников в осветительной сети. Линии от этажных групповых щитков к электроприемникам квартир жилых домов тоже называют групповыми.
По принципу построения схемысети разделяются на разомкнутые и замкнутые. Разомкнутая сеть состоит из разветвленных линий к электроприемникам или их группам и получает питание с одной стороны. Простейший пример схемы разомкнутой питающей сети квартир одной секции жилого дома представлен на рис. 4. Однако разомкнутая сеть обладает некоторыми недостатками, которые заключаются в том, что при аварии в любой точке сети питание всех потребителей за аварийным участком прекращается. В разомкнутой сети поддержание необходимого уровня напряжения на зажимах электроприемников в различное время суток без специальных устройств затруднительно. По этим причинам, несмотря на свою простоту, разомкнутые сети не всегда являются оптимальными, что особенно сказывается при высоком уровне нагрузок и большом числе присоединенных электроприемников.
Рис. 4. Схема разомкнутой питающей сети секции жилого здания:
1 — автоматический выключатель; 2 — стояк; 3 — ввод в квартиру

Рис. 5. Схема замкнутой питающей сети жилого дома:
1;2—автоматические выключатели; 3 — автомати-ческий выключатель (слабая связь); 4 — стояк;
5 — ввод в квартиру.
Замкнутая сеть может иметь один, два и более источников питания, действующих одновременно. На рис. 5 приведён пример замкнутой сети одной секции жилого дома. Преимущество замкнутой сети состоит в том, что при изменениях нагрузки в любой точке сети автоматически меняется токораспределение в ветвях, которое всегда является оптимальным.
Таким образом, в замкнутой сети идет непрерывный процесс выравнивания напряжения на зажимах электроприемников, позволяющий улучшить качество электроэнергии в известных пределах без значительных затрат цветного металла. При разомкнутой сети обычно достигнуть оптимума при тех же затратах не удается. В замкнутой сети благодаря автоматическому перемещению точки токораздела достигается уменьшение влияния асимметрии нагрузок в различных фазах, что также имеет немаловажное значение при случайном сочетании нагрузок. Следует отметить, что в замкнутой сети происходит некоторое снижение суммарного максимума нагрузок по сравнению с разомкнутой сетью.
Представленная на рис. 5 схема является простой замкнутой сетью со «слабой связью» (автоматический выключатель 3). При аварии в любой точке сети в первую очередь должен отключиться автоматический выключатель 3, затем автоматический выключатель в той
линии, где произошло КЗ. При этом половина сети остается в работе. Уставка тока трогания автоматического выключателя 3, или номинальный ток плавкой вставки предохранителя, выбирается существенно ниже, чем у автоматических выключателей (предохранителей) 1 и 2.
Рис. 6. Радиальная схема силовой сети:
1 — распределительный щит;
2 — автоматический выключатель;
3—пусковой аппарат; 4 — линия;
5 — распределительный пункт;
6 — электроприемник.
Несмотря на указанные преимущества, замкнутые сети пока не получили большого распространения, что в известной мере объясняется затруднениями в устройстве селективной защиты на базе выпускаемых аппаратов (автоматических выключателей и предохранителей) для сетей низкого напряжения. Кроме того, в подобных сетях возрастают токи КЗ, что может создать трудности в выборе аппаратуры. За рубежом замкнутые сети получили некоторое распространение в крупных жилых комплексах с встроенными предприятиями обслуживания, магазинами и зрелищными предприятиями.
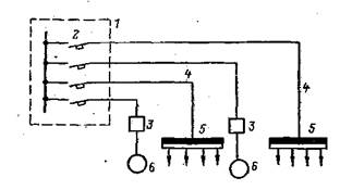
Сети могут выполняться по радиальной, магистральной и смешанной схемам.
При радиальной схеме от ВРУ отходят питающие линии без разветвлений к отдельным электроприемникам или отдельным распределительным пунктам (щитам), от которых в свою очередь питаются электроприемники.
На рис.6.показан пример радиальной схемы питающей силовые сети здания. Достоинство радиальной схемы заключается в ее надёжности, так как при выходе из строя одной питающей линии отключается только один электроприемник или группа электроприемников, присоединенных к одному распределительному пункту. Однако эта схема имеет серьезные недостатки, заключающиеся в большом числе питающих линий, увеличенной протяженности сети и, следовательно, значительном расходе цветного металла, увеличенном количестве коммутационных аппаратов. Радиальные схемы с подводкой питания в каждую квартиру жилого дома отдельной линией от ввода в здание явно неэкономичны и не применяются.
Рис. 7. Магистральная схема силовой сети:
1 — распределительный щит; 2—автоматический выключатель; 3—питающая линия; 4 — силовой распределительный пункт; 5 — электроприемник: 6, 7, 8 — электроприёмники, включенные в «цепочку».
Для внутренних электрических сетей характерны магистральные схемы (рис.7), при которых к одной питающей линии с учетом удобной трассировки присоединяются несколько распределительных пунктов (щитов).
В жилых домах к одной питающей горизонтальной линии могут быть присоединены один или несколько стояков, от которых в свою очередь отходят ответвления к этажным щиткам. Однако надо иметь в виду, что при присоединении двух и более стояков к одной питающей линии в домах высотой 6 этажей и более в точке ответвления следует устанавливать аппарат управления для ремонтных целей. Для наружных кабельных сетей, питающих многоэтажные здания, радиальная схема применяется широко, однако с взаимным резервированием питающих линий от ТП до ВРУ здания для обеспечения работы электроприемников при выходе из строя одной из линий.
При питании зданий с относительно небольшими нагрузками, например жилых домов высотой до 5 этажей включительно небольших бытовых мастерских и магазинов, большей частью применяются магистральные схемы с питанием нескольких зданий одной линией. Магистральные схемы широко используются в воздушных сетях при питании мелких зданий в небольших городах и поселках. Магистральные схемы дешевле радиальных, но менее надежны. Многолетняя практика проектирования и строительства, а также многочисленные расчеты и исследования позволили выработать некоторые типичные решения элементов схем, которые приведены далее.
Силовые распределительные пункты должны располагаться вцентре нагрузок или с некоторым смещением в сторону питания, как правило, на тех же этажах, где расположены электроприемники, силовые электроприемники, присоединяемые к распределительным пунктам, группируются с учетом их технологического назначения. В целях экономии проводов и кабелей и уменьшения количества аппаратов защиты на распределительных пунктах электроприемники небольшой мощности объединяются в «цепочки». При этом в «цепочку» можно соединять:
а) на предприятиях общественного питания и торговли — не более четырех электроприемников мощностью до 3кВт;
б) в учебно-производственных мастерских учебных заведения — до пяти силовых электроприемников станочного оборудования;
в) в лабораториях учебных заведений — не более трех лабораторных щитков;
г) в магазинах число кассовых аппаратов, швейных машин в кабинетах домоводства, в пошивочных цехах ателье и комбинатов бытового обслуживания населения, машин по ремонту и отделке обуви — не ограниченно.
Электроприемники, соединяемые в «цепочку», должны быть равными или близкими по установленной мощности.
Аппараты управления, например магнитные пускатели и контакторы, кнопочные посты, в зависимости от местных условий устанавливаются:
а) рассредоточенно или группами вблизи управляемых механизмов;
б) в шкафах станций управления;
в) в изолированных электротехнических помещениях, нишах строительных конструкций, шкафах и т. п. при условии соблюдения требований техники безопасности.
Рис. 8. Схема питания гражданского здания от однотрансформаторной подстанции.
Присоединение электроприемников холодильного, механического и технологического оборудования предприятий торговли и общественного питания выполняется по схемам, приведенным в «Инструкции по проектированию электрооборудования общественных зданий массового строительства». Специфика схем, в которых предусмотрены в некоторых ограниченных случаях дополнительные коммутационные аппараты, обусловлена отсутствием на этих предприятиях квалифицированного обслуживающего персонала.

Рис.9 Схема питания осветительной установки от однотрансформаторной подстанции
Рис. 10 Схема питания осветительной установки от одной двухтрансформаторной подстанции:
- щиток рабочего освещения; - щиток аварийного освещения.
Рис. 11. Схема питания освещения через магистральный щиток

- щиток рабочего освещения; - щиток аварийного освещения
Дата добавления: 2015-07-10; просмотров: 4321;
