Основные типы алгоритмических структур
1. Линейный алгоритм.
Алгоритм, в котором команды выполняются последовательно одна за другой, называется линейным алгоритмом.

Пример 3. Имеется два натуральных числа x и y. Вычислить и вывести на экран монитора значение функции
. Составить алгоритм решения задачи на естественном языке и в виде блок-схемы.
1) алгоритм на естественном языке:
1. Начать
2. Ввести x, y
3. z присвоить 
4. Вывести на экран монитора значение z
5. Закончить
2) в виде блок-схемы:

3) на языке программирования Visual Basic (приложение 1)
2. Алгоритмическая структура “ветвление”.
В алгоритмической структуре “ветвление” та или иная серия команд выполняется в зависимости от истинности условия.

3. Алгоритмическая структура “выбор”
В алгоритмической структуре “выбор” выполняется одна из нескольких последовательностей команд при истинности соответствующего условия.

Пример 4. Пусть задано число х. Вычислить и вывести на экран монитора значение функции
. Составить алгоритм решения задачи на естественном языке и в виде блок-схемы.
1) алгоритм на естественном языке:
1. Начать
2. Ввести x
3. Если x<0, то идти к 5
4. Если x=0, то идти к 9
5. y присвоить 1
6. Идти к 10
7. y присвоить -1
8. Идти к 10
9. y присвоить 0
10. Вывести на экран монитора значение y
11. Закончить
2) в виде блок-схемы:

3) на языке программирования Visual Basic (приложение 2)
4. Алгоритмическая структура “цикл”
В алгоритмической структуре “цикл” серия команд (тело цикла) выполняется многократно.
Цикл со счетчиком

Циклы с условием

Пример 5. Вычислить и вывести на экран значения функции
при изменении x в интервале [a;b] с шагом h. Составить алгоритм решения задачи на естественном языке и в виде блок-схемы.
1) алгоритм на естественном языке:
1. Начать
2. Ввести a,b,h
3. x присвоить a
4. y присвоить 
5. Вывести на экран монитора значения x и y
6. x присвоить x+h
7. Если x≤b , то идти к 4
8. Закончить
2) в виде блок-схемы:

3) на языке программирования Visual Basic (приложение 3)
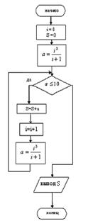
Пример 6. Вычислить и вывести на экран сумму
k первых слагаемых, не превышающих по значению число 10 ( i- целое натуральное число). Составить алгоритм решения задачи на естественном языке и в виде блок-схемы.
1) алгоритм на естественном языке:
1. Начать
2. i присвоить 0
3. S присвоить 0
4. a присвоить 
5. Повторять пока a ≤ 10
5.1. S присвоить S + a
5.2. i присвоить i+1
5.3. a присвоить 
6. Вывести на экран монитора значение S
7. Закончить
2) в виде блок -схемы:

3) на языке программирования Visual Basic (приложение 4)
Дата добавления: 2015-08-08; просмотров: 1602;
