Окончание таблицы 53



1 — стеновая железобетонная трехслойная панель; 2 — эффективный утеплитель стеновой панели; 3 — пенный утеплитель; 4 — изоляционная саморасширяющаяся паропроницаемая водоизоляционная лента; 5 — анкерная пластина; 6 — пароизоляционная лента; 7 — дюбель со стопорным шурупом; 8 — штукатурный слой внутреннего откоса (с фаской для слоя герметика); 9 — герметик
Рисунок 105 — Верхнее примыкание оконного блока к проему с четвертью в стене из железобетонной трехслойной панели, с отделкой внутреннего откоса
штукатурным раствором

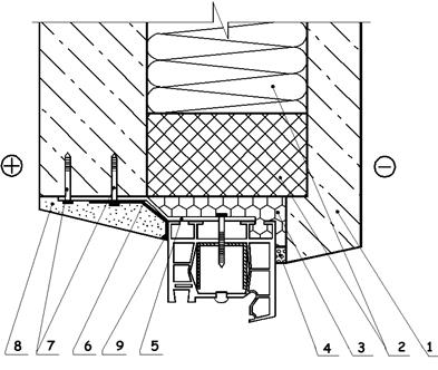
1 — профиль подставочный; 2 — подоконная доска; 3 — цементно-песчаный раствор; 4 — пенный утеплитель; 5 — анкерная пластина; 6 — пароизоляционная лента; 7 — строительный шуруп; 8 — изоляционная саморасширяющаяся паропроницаемая водоизоляционная лента; 9 — утеплитель; 10 — дюбель; 11 — шумопоглощающая прокладка; 12 — костыль металлический; 13 — слив из оцинкованной стали; 14 — пенный утеплитель; 15 — эффективный утеплитель стеновой панели
Рисунок 106 — Нижнее примыкание оконного блока с подставочным профилем, подоконника, слива к проему в стене из железобетонной панели
Кровля
Кровли общественных зданий выполняются, в основном, рулонные и мастичные. Такие кровли состоят из следующих слоёв: пароизоляция, утеплитель, стяжка, гидроизоляционный слой, защитный слой (рисунок 107).
|
1 – защитный слой; 2 - гидроизоляционный слой; 3 – стяжка; 4 – утеплитель; 5 – пароизоляция; 6 – плита покрытия
Рисунок 107 – Конструкция кровли
По плитам покрытия устраивается пароизоляция. Для устройства пароизоляции следует применять:
- битумно-полимерные и битумные с армирующей стекло- или синтетической основой материалы со сплошной, полосовой или точечной приклейкой (наваркой) по горячим или холодным мастикам (праймерам) с шириной продольной и поперечной нахлестки не менее 80мм;
- синтетические пленки, в том числе упрочненные стекло- или синтетической тканой сеткой с проклейкой сверху швов самоклеящейся синтетической лентой со свободной укладкой, механическим креплением к основанию или с наклейкой на соответствующих виду пароизоляционного материала синтетических клеях (промазках);
- битумные, битумно-полимерные, синтетические мастики, лакокрасочные материалы, изготовленные в заводских условиях по соответствующим ГОСТ, СТБ, ТУ или сертифицированные в Республике Беларусь.
В местах примыкания покрытий к стенам, стенкам фонарей, шахтам и оборудованию, проходящему сквозь кровлю или чердачное перекрытие, пароизоляция должна быть поднята на высоту не менее толщины теплоизоляционного слоя, предохранять его от попадания влаги и паров, а в местах деформационных швов должна перекрывать края металлического компенсатора.
По пароизоляции укладывается теплоизоляционный слой. Толщину теплоизоляционного слоя следует определять на основании теплотехнического расчета в соответствии с ТКП 45-2.04-43-2006. Теплоизоляционный слой может быть выполнен из негорючих и горючих материалов. Выбор вида или типа теплоизоляционного материала и конструктивного решения узлов и деталей кровли следует производить с учетом требований СНБ 2.02.01-98. В инверсионных кровлях следует применять утеплитель плитный из экструдированного пенополистирола с гомогенной замкнутой структурой ячеек или другой аналогичный материал с нулевой капилярностью.
Применение засыпных утеплителей из керамзита, аглопорита, перлита, дробленых природных материалов допускается для временных зданий и сооружений пониженного уровня ответственности при общей площади кровли не более 500 м2. Допускается применение засыпных утеплителей для создания уклона с укладкой на него плитного утеплителя.
По слою утеплителя устраивается стяжка. По засыпным утеплителям следует выполнять стяжку из цементно-песчаного раствора марки по прочности 100 и марки по морозостойкости не менее F75 толщиной не менее 30мм. Основание под рулонные и мастичные кровли должно отвечать требованиям, приведенным в таблице 54. В выравнивающей стяжке из цементно-песчаного раствора должны быть предусмотрены температурно-усадочные швы шириной не менее 5мм, разделяющие поверхность стяжки на участки не более 3х3м. Выравнивающие стяжки из мелкозернистого асфальтобетона должны быть разделены температурно-усадочными швами на участки с размерами не более 4х4м.
Таблица 54 – Конструктивные параметры стяжки
| Наименование показателей | Вид основания | |||||||||
| из теплоилоизоля- ционных слоев монолитной укладки | стяжка из цементно- песчаного раствора | стяжка из мелко- зернис того асфальтобе- тона | из теплоизоля- ционных плит | |||||||
| на цемент- ном вяжущем | на битум- ном вяжущем | по засыпной тепло- изоляции | по тепло- изоляци- онным плитам | |||||||
| Ровность | Плавно нарастающие неровности вдоль уклона – не более ± 5мм, а поперек уклона – не более ± 10мм, в ендове – не более ± 5мм; количество неровностей должно быть не более одной на 1м длины | Перепад между смежными плитами не более 3 мм | ||||||||
| Прочность на сжатие, МПа не менее | 0,6 | 0,15 | 0,8 | При 10% деформации 0,06 | ||||||
| Влажность,% не более | 2,5 | 2,5 | По СТБ или ТУ на плиты | |||||||
| Толщина, мм не менее | * | * | С армиро- ванием 40±10% | 30±10% | 25±10% | * | ||||
| Примечание - * Толщина теплоизоляции определяется расчетом | ||||||||||
По основанию (стяжке) устраивается гидроизоляционный слой. Рулонные кровли выполняют из битумных и битумно-полимерных материалов с армирующей синтетической, стекло- или картонной основой, а также из эластомерных, вулканизированных, пленочных материалов. При этом материалы на картонной основе и битумном вяжущем допускается применять только для временных зданий и сооружений (со сроком службы до 5 лет).
Мастичные кровли выполняют из горячих или холодных битумно-полимерных или полимерных мастик с армирующими прокладками из синтетических рулонных материалов, стеклоткани, стеклосетки или стеклохолста. Мастичные кровли из битумно-полимерных или полимерных мастик, синтетических лакокрасочных покрытий без армирующих слоев допускается применять при наличии нормативной документации на данный вид кровли, включая технологию производства работ. Количество армированных слоев мастичных кровель в зависимости от их уклона должно быть не менее указанного в таблице 55.
Таблица 55 – Количество основных и дополнительных слоев в водоизоляционном ковре рулонных кровель
| Вид рулонного материала | Количество слоев при уклонах кровли | |||
| от1,0 до 2,5% | от 2,5 до 10% | от 10 до 25% | 25% и более | |
| Битумно-полимерные и битумные с армирующей синтетической или стеклоосновой | 1* - 3*___ 1**- 2*** | 1* - 3*___ 1** - 2*** | 1* - 2*__ 1**- 2*** | 1* - 2*___ 1** - 2*** |
| То же, с картонной основой | 4_____ 1**-3*** | 3_____ 1** - 3*** | 3____ 1**- 3*** | Не допус- кается |
| Эластомерные пленочные материалы (мембраны) | 1 1 | 1 | 1 | Не допус- кается |
* В зависимости от показателя
** В ендовах, на коньковых и карнизных участках
*** На примыканиях к вертикальным поверхностям – стенам, парапетам, у водоприемных воронок.
Примечание – В числителе указано количество слоев для основного водоизоляционного ковра, в знаменателе – для дополнительного.
Наклейка первого слоя рулонных материалов на горячих и холодных мастиках может производиться сплошная, полосовая или точечная. Следует предусматривать полосовую или точечную наклейку с применением подстилающего слоя из перфорированного материала, что дает возможность свободного удаления пара и уменьшает вероятность вздутий кровли. Подстилающий слой из перфорированного материала, укладываемый свободно на основание и предназначенный для точечной наклейки первого слоя водоизоляционного ковра, не входит в количество слоев.
Ширина склеивания рулонных материалов в местах продольной и поперечной нахлестки полотнищ должна быть не менее 80 мм. При механическом закреплении рулонных материалов ширина склеивания в местах продольной и поперечной нахлестки полотнищ должна быть не менее 100 мм.
При полосовой наклейке минимальная площадь приклеенных полос должна быть не менее 30% всей поверхности. При точечной по подстилающему слою из перфорированного материала – площадь наклеенных участков должна быть не менее 15% всей поверхности. Непроклеенные участки и полосы должны быть не замкнутыми и иметь выход в места примыканий или через специальные вентиляционные устройства.
Поверхность гидроизоляционного слоя должна быть равномерно покрыта защитным слоем гравия или крупнозернистой посыпкой по верхнему слою рулонного ковра. Толщина защитного слоя из гравия должна быть от 10 до 15 мм с укладкой его на слой горячей мастики толщиной от 1 до 2 мм. Запрещается применение щебня или колотого гравия для защитного слоя по направляемым битумно-полимерным материалам. При применении для верхнего водоизоляционного ковра битумно-полимерных рулонных материалов с защитной посыпкой заводского изготовления из крупнозернистой каменной крошки, специальной керамической крошки с гидрофобной обработкой дополнительный защитный слой не предусматривается.
Примыкание кровель к стенам, парапетам, шахтам должны выполняться следующих основных типов:
- примыкание с подведением водоизоляционного ковра под «выдру» на высоту не менее 250 мм от поверхности кровли;
- примыкание с механическим креплением фартука в штрабе на высоту не менее 250 мм от поверхности кровли;
- примыкание с механическим креплением фартука к поверхности стены на высоту не менее 300 мм и герметизацией шва;
- примыкание с выводом водоизоляционного ковра на верх парапета при его высоте не более 1000 мм от верха несущих конструкций покрытия с укладкой поверх водоизоляционного ковра на парапете железобетонной парапетной плиты, с обязательной герметизацией основания и стыков, гнутого профиля из листовой стали или специального алюминиевого профиля.
Основания под водоизоляционный ковер у мест примыканий должны иметь переходные наклонные бортики (под углом 45о) высотой не менее 100мм, а для кровли с самовентиляцией,- высотой не менее 200 мм, выполненные из:
- материала стяжки, уложенной поверх утеплителя по кровле;
- ячеистого бетона класса по прочности на сжатие не мене С8/10;
- жесткого плитного утеплителя.
Рекомендуется применять для верхнего накрывочного слоя водоизоляционного ковра в местах примыканий специальные рулонные битумно-полимерные материалы с защитным покрытием из гофрированной алюминиевой, медной или стальной фольги, обладающие повышенной деформативностью и теплостойкостью.
Металлический фартук примыканий неэксплуатируемых кровель должен перекрывать по высоте водоизоляционный ковер не менее 100мм. Нижняя кромка фартука должна иметь гнутый профиль, обеспечивающий отрыв капли на расстоянии не менее 30мм от вертикальной поверхности водоизоляционного ковра.
Допускается установка фартука из кровельной стали с антикоррозионным покрытием на плоскую стену с обязательной установкой прижимной рейки. Металлический лист, укладываемый по верху парапета, должен иметь гнутый профиль, перекрывать стену по высоте не менее 50мм и иметь плоскость отрыва капель на расстоянии не менее 80мм от плоскости стены парапета должны иметь слезниковые дорожки с плоскостью отрыва капель на расстоянии не менее 80мм от поверхности стены парапета. Швы плит следует герметизировать.
При маркировке учитывается, что по назначению гидроизоляционные кровельные материалы подразделяют на:
- кровельные - К
- гидроизоляционные - Г.
По виду основы материалы подразделяют :
- на стеклохолсте - СХ
- на стеклоткани - СТ
- на полиэфирном холсте - ПХ
- на полиэфирной ткани - ПТ.
По виду вяжущего материалы подразделяют на:
- битумные - Б
- битумно-эластомерные - БЭ
- битумно-пластомерные - БП.
По виду защитного слоя материалы подразделяют на:
- с крупнозернистой (цветной) посыпкой - К(Ц)
- с мелкозернистой посыпкой - М
- с пылевидной посыпкой - П
- с металлической фольгой - МФ
- с полимерной пленкой - ПП.
В зависимости от назначения, вида основы, вяжущего, защитного слоя с лицевой и нижней стороны материалы подразделяют на марки, указанные в таблице 49
Таблица 56 – Марки матералов и их назначение
| Марка материала | Основное назначение материала | Вид защитного слоя | Масса покровного состава вяжущего, г/м2 | ||
| с лицевой стороны | с нижней стороны | ||||
| К-СХ (СТ;ПХ;ПТ)-Б(БЭ;БП)-К(Ц;МФ)/ПП (М;П) | Для верхнего слоя кровельного ковра | Крупнозернис- тая или круп- нозернистая цветная по- сыпка или металлическая фольга | Полимерная пленка или мелкозернис- тая или пыле- видная посып- ка | Св. 2000 до 6000 включ. | |
| К-СХ (СТ;ПХ;ПТ)- Б(БЭ;БП)-М(П;ПП)/М (П;ПП) | Для нижних слоев кровельного ковра, гидроизоляционных слоев в сооружениях, не подверженных гидростатическому давлению (полы, вертикальные стены и т.д.) | Мелкозернис тая или пылевидная посыпка или полимерная пленка | Мелкозернис- тая или пыле- видная посып- ка или поли- мерная пленка | Св. 2000 до 6000 включ. | |
| Г-СХ (СТ;ПХ;ПТ)-БЭ(БП)-М(П;ПП)/М (П;ПП) | Для гидроизоляционных слоев | Мелкозернис- тая или пыле- видная посыпка или полимер- ная пленка | Мелкозернистая или пылевидная посыпка или полимерная пленка | То же | |
Примеры условного обозначения:
1. Материал марки (К-СТ_Б-К/ПП) с массой покровного состава вяжущего
3001-3500 г/м2 (3,0) :
Материал К-СТ-Б-К/ПП-№,0 СТБ 11.07-98.
2. Материал марки.(Г-СХ-БЭ-М/П) с массой покровного состава вяжущего
4501-5000 г/м2 (4,5) :
Материал Г-СХ-БЭ-М/П-4,5 СТБ 1107-98.
Полы
Конструкции полов общественных зданий принимаются по П1-03 к СНиП 2.03.13-88 (рисунки 108–109).
|
|
|
|
* - Толщина утеплителя определяется теплотехническим расчетом
Рисунок 108 – Конструкции полов общественных зданий над неотапливаемым техподпольем или подвалом
|
|
|
|
|
|
L – расстояние между лагами принимается при покрытиях из: - паркетных досок толщиной 25 мм или шпунтовых досок толщиной 28 мм – от 400 до 500 мм; - паркетных щитов – от 300 до 400 мм; - досок толщиной 21-23 мм – от 350 до 400 мм.
Расстояние между первой от стены и следующей лагой принимается не более 300 мм
Рисунок 109 – Конструкции полов общественных зданий по плите перекрытия
Дата добавления: 2015-07-07; просмотров: 1608;
