Контактные сушилки
Контактная сушка осуществляется путем передачи тепла от теплоносителя к материалу через разделяющую их стенку в контактных сушилках, которые делятся на периодически и непрерывно действующие. Из периодически действующих сушилок распространены вакуум-сушильные шкафы и гребковые вакуум-сушилки, в которых скорость сушки увеличивается за счет перемешивания материала медленно вращающейся горизонтальной мешалкой с гребками. Из непрерывнодействующих применяют двухвальцовые атмосферные и вакуумные сушилки, а также одновальцовые формующие сушилки. Высушивание при пониженном давлении в замкнутом пространстве используется в тех случаях, когда материал чувствителен к высоким температурам.
Высушивание сгущенных вытяжекпроводят в вакуум-сушильных шкафах.
Вакуум-сушильный шкаф представляет собой цилиндрическую камеру 3, в которой размещены полые плиты 5, обогреваемые изнутри паром или горячей водой. Сгущенную вытяжку наносят в виде тонкого слоя на противни, которые устанавливают на плиты. Камеру герметически закрывают с помощью дверец 4, 7 и соединяют патрубком 2 с вакуумной линией. Сушка происходит под вакуумом при температуре около 50°С, что зависит от глубины вакуума. При этом образуется высокий слой пористого легкого материала, хорошо растворяющегося в воде. Выгрузка материала производится вручную. Такие сушилки пригодны также для сушки легкоокисляющихся, взрывоопасных и выделяющих вредные или ценные пары веществ. Однако они малопроизводительны и малоэффективны, поскольку сушка в них происходит в неподвижном слое при наличии плохо проводящих тепло зазоров между противнями и греющими плитами.

Рис. Вакуум-сушильный шкаф: 1 - труба для введения пара; 2 - патрубок для создания вакуума; 3 - корпус шкафа; 4,7 - дверцы для загрузки и разгрузки шкафа; 5.– плиты; 6 - спускная труба
Рыхлую легкую массу в виде коржей, которые размалывают на шаровой мельнице.
Гребковые вакуум-сушилки. В такой сушилке, имеющей цилиндрический корпус 1, паровую рубашку 2 и мешалку 3, скорость сушки несколько увеличивается за счет перемешивания материала медленно вращающейся горизонтальной мешалкой 3 с гребками 4. Корпус сушилки соединен с поверхностным или барометрическим конденсатором и вакуум-насосом.

Рис. Гребковая вакуум-сушилка: 1 - корпус сушилки; 2 - паровая рубашка; 3 - мешалка; 4 - гребки; 5 - загрузочный люк; б - трубы; 7 - люк разгрузочный
Применение вакуумных сушилок, несмотря на их более высокую стоимость и сложность по сравнению используют для сушки чувствительных к высоким температурам веществ, а также для получения высушенных продуктов повышенной чистоты. Их применяют также в случаях, когда необходимо улавливание (конденсация) паров неводных растворителей, удаляемых из материалов.
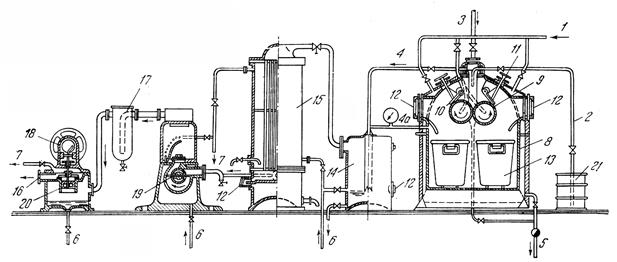
Вальцовые сушилкиосуществляют непрерывную сушку жидкостей и текучих пастообразных материалов при разрежении или атмосферном давлении.
Вальцовые сушилки бывают: а – одновальцовая с погружным вальцом, б – одновальцовая с непогружным вальцом, в – двухвальцовая
Вытяжки сушат без сгущения или немного упаривают (чтобы на вращающихся вальцах образовался после высушивания достаточный слой сухого экстракта).
Основной частью двухвальцовых сушилок, наиболее часто применяемых в фармацевтическом производстве, являются вальцы 9, медленно вращающиеся в кожухе 8 навстречу друг другу. Сверху между вальцами непрерывно подается высушиваемый материал из сборника 21 по трубопроводу 2, благодаря вакуум-линии 4. Греющий пар поступает по трубопроводу 1 внутрь каждого из вальцов, а также в рубашку кожуха. Паровой конденсат отводится через сифонную трубку 5. Материал покрывает вращающуюся поверхность вальцов тонкой пленкой, толщина которой регулируется величиной зазора между вальцами. Обычно зазор – 0,5-1,0мм. Высушивание материала происходит интенсивно в тонком слое в течение одного неполного оборота вальцов. Пленка подсушенного материала снимается ножами 10. Чем тоньше слой материала на вальцах, тем быстрей и равномернее он сушится.

Двухвальцовая сушилка. 1 – трубопровод пара, 2 – трубопровод вытяжки, 3 - , 4 – вакуум-линия, 6 – трубопровод охлаждаемой воды, 7 – трубопровод нагретой воды, 9 – полые вальцы, 10 – скребки, 11 – прижимающие винты, 12 – смотровые стекла, 13 – приемник, 14 – пылеуловитель, 15 – кожухотрубный теплообменник, 17 – горшок выхлопа, 18 – мокро-воздушный насос, 19 – вакуум-насос, 20 – поршень, 21 – сборник с вытяжкой
Снятую с вальцов корочку сухого экстрагента затем размалывают в шаровой мельнице.
Дата добавления: 2015-08-01; просмотров: 3032;
