Конвективные сушилки
В конвективных сушилках сушильный агент, предварительно нагретый в калорифере, движется в сушилке и соприкасается с высушиваемым материалом.
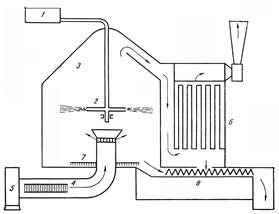
Камерные сушилки являются аппаратами периодического действия, работающими при атмосферном давлении. Их используют в малотоннажных производствах при невысокой температуре сушки, например при сушке таблеточной массы.
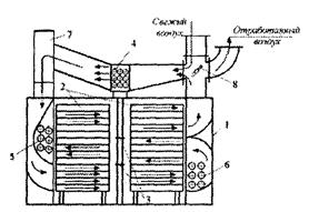
Туннельные сушилкиотличаются от камерных тем, что в них соединенные друг с другом вагонетки 2 медленно перемещаются на рельсах вдоль очень длинной камеры прямоугольного сечения (коридора).
Рис. Камерная сушилка: 1 – сушильная камера, 2 – вагонетки, 3 – козырьки, 4,5,6 – калориферы, 7 – вентилятор, 8 - шибер
|
Рис. Туннельная сушилка: 1 - камера; 2 - вагонетка; 3 - вентиляторы; 4 - калориферы
|
Ленточные сушилки. Сушка производится непрерывно при атмосферном давлении. Сушилка работает в производстве холосасана стадии сушки шрота из семян шиповника.
|
|
Барабанные сушилки широко применяются для непрерывной сушки при атмосферном давлении зернистых и сыпучих материалов с влажностью 5-60%.
Распылительные сушилки. В этих сушилках достигается высокая интенсивность испарения влаги за счет тонкого распыления высушиваемого материала в сушильной камере, через которую движется сушильный агент. При сушке в распыленном состоянии удельная поверхность испарения достигает столь большой величины, что процесс высушивания завершается чрезвычайно быстро (примерно 15-30 с).
В условиях почти мгновенной сушки температура поверхности частиц материала, несмотря на высокую температуру сушильного агента (около 150°С) не превышает 50-60°С. В результате достигается быстрая сушка в мягких температурных условиях, позволяющая получить качественный порошкообразный продукт, хорошо растворимый и не требующий дальнейшего измельчения. Возможна сушка и холодным теплоносителем, когда распыливаемый материал предварительно нагрет.
Распыление осуществляется механическими и пневматическими форсунками, а также с помощью центробежных дисков, скорость вращения которых 4000-20000 об/мин. Размер капель - от 1 до 150 мкм.
В распылительной сушилке материал подается в камеру 1 через форсунку 2. Сушильный агент движется параллельным током с материалом. Мелкие твердые частицы высушенного материала (размером до нескольких микрон) осаждаются на дно камеры и отводятся шнеком 3. Отработанный сушильный агент после очистки от пыли в циклоне 4 и рукавном фильтре 5 выбрасывается в атмосферу.
Рис. Распылительная сушилка: 1 – камера сушилки; 2 - форсунка; 3 - шнек для выгрузки высушенного материала; 4 - циклон; 5 - рукавной фильтр; 6 - вентилятор; 7 – калорифер
|
1 – сборник, 2 – распылительный диск, 3 – сушильная камера, 4 – калорифер, 5 – вентилятор, 6 – фильтровальная установка, 7 – вращающиеся щетки, 8 – шнек
|
Распылительные сушилки работают также по принципам противотока и смешанного тока. Однако прямоток особенно распространен, так как позволяет производить сушку при высоких температурах без перегрева материала.
Такие сушилки применяются для сушки вытяжек без предварительного сгущения из лекарственного растительного сырья, а также в производстве ликвиритона, фламинаи др. Недостатками распылительных сушилок являются сравнительно высокая стоимость распылителей и сравнительно сложная их эксплуатация, а также необходимость (из-за широкого факела распыла) большого диаметра распылительной камеры и соответственно большой площади помещения.
Дата добавления: 2015-08-01; просмотров: 1943;

Рис. Камерная сушилка: 1 – сушильная камера, 2 – вагонетки, 3 – козырьки, 4,5,6 – калориферы, 7 – вентилятор, 8 - шибер
Рис. Туннельная сушилка: 1 - камера; 2 - вагонетка; 3 - вентиляторы; 4 - калориферы
Рис. Распылительная сушилка: 1 – камера сушилки; 2 - форсунка; 3 - шнек для выгрузки высушенного материала; 4 - циклон; 5 - рукавной фильтр; 6 - вентилятор; 7 – калорифер
1 – сборник, 2 – распылительный диск, 3 – сушильная камера, 4 – калорифер, 5 – вентилятор, 6 – фильтровальная установка, 7 – вращающиеся щетки, 8 – шнек