Измерение тока искры
При приложении к вакуумному промежутку импульса напряжения с фронтом 10-9 с через некоторое время, называемое временем запаздывания, начинается рост тока искры. На рис. 3.1 показана типичная осциллограмма тока искры, полученная с помощью емкостного делителя напряжения, встроенного в передающую коаксиальную линию. Пик тока в левой части осциллограммы соответствует моменту прихода импульса напряжения на вакуумный промежуток и обусловлен током смещения через емкость разрядной камеры. Далее следует участок осциллограммы без тока (время запаздывания пробоя tз), за которым идет участок относительно монотонного роста тока до амплитудного значения, ограниченного сопротивлением разрядного контура (время коммутации tк). После этого времени начинается дуговая стадия. Обычно время tк отсчитывается между уровнями 0.1 и 0.9 от амплитудного значения тока, равного Ua/R, где Ua - амплитуда напряжения, R - сопротивление разрядного контура. Это время характеризует длительность искровой стадии вакуумного разряда ts. Однако время tк не равно в точности времени ts, так как при большом сопротивлении R может быть tк ts. Время запаздывания появления искры tз является фактически длительностью стадии пробоя. Это время измеряется от максимума пика емкостного тока до уровня 0.1 от амплитуды значения тока. О природе времени tз мы говорили в главе 2.
|
| Рис.3.1 осциллограмма искрового разряда d=0.5mm U=50kV |
3.2 Исследование свечения вакуумной искры
Результаты электронно-оптической регистрации свечения в кадровом режиме при импульсном пробое коротких вакуумных промежутков представлены на рис. 3.2. Статическое пробивное напряжение составляло 20 кВ. Через 4-6 нс после прихода импульса напряжения на промежуток (что приблизительно соответствует времени tз) на поверхности катода возникают одна-две локальные области слабого свечения. Такие области обычно возникают не одновременно, а в течение нескольких наносекунд, причем не только в местах, соответствующих максимальной напряженности электрического поля, но и на периферийных участках. На осциллограмме тока моменту появления свечения на катоде соответствует момент начала резкого роста тока со скоростью порядка 1010 А/с. Через несколько наносекунд после появления первых светящихся областей их число может достигать пяти. Области локального свечения на катоде мы назвали катодными факелами (КФ). Места появления КФ меняются от разряда к разряду. В период роста тока в промежутке происходит расширение КФ, одновременно растет их яркость. Необходимо иметь в виду, что эти снимки получены от разных разрядов, поэтому они дают только качественную картину свечения вакуумной искры.
|
| Рис.3.2 Характерные снимки свечения в промежутке d=0/35mm U=35kV |
Приблизительно через 15-16 нс после приложения к промежутку напряжения на поверхности анода появляется свечение в местах, расположенных напротив КФ. К этому времени ток достигает примерно половины своего амплитудного значения (100-120 А). В дальнейшем яркость этого свечения растет, однако становится сравнимой с яркостью КФ лишь ко времени 23-25 нс после приложения импульса напряжения. Свечение, возникающее на аноде, было названо анодными факелами (АФ). В период 28-30 нс, когда ток достигает максимального значения, ограничиваемого сопротивлением разрядного контура (~230 А), АФ занимает примерно третью часть межэлектродного зазора (~0.1 мм). Ко времени 33-36 нс АФ успевает распространиться в глубь промежутка примерно на 0.2 мм. После завершения роста тока свечение у катода остается, хотя яркость его несколько меньше яркости АФ.
Средняя скорость расширения катодных и анодных факелов оценивалась по скорости движения границы плотного свечения. Было обнаружено, что начальная скорость расширения КФ приблизительно постоянна и равна 1.7×106 см/с. Скорость расширения КФ определялась из кадров IX и X, снятых при одинаковых диафрагмах объективов. Она оказалась равной 2×106 см/с.
3.3 Эрозия Электродов
Острийные электроды
При анализе эрозии электродов использовались одиночные импульсы напряжения длительностью tи = 5, 20, 40 и 80 нс.
|
| Рис.3.3 Изменение профиля вершины эмиттера с числом включений |
На рис. 3.3 приведены типичные профили острий из молибдена, полученные до и после воздействия импульса тока ВЭЭ. При tи = 5, 20, 40 нс металл уносится, как правило, только с вершины острия, а его боковая поверхность остается нетронутой. Область вершины, примыкающая к месту испарения металла, оплавляется. При tи = 80 нс для катодов с углом q > 6-8° наблюдается заметная эрозия боковой поверхности, уменьшающаяся по мере удаления от вершины. Иногда начальная фаза этого эффекта обнаруживается и при tи = 40 нс.
|
| Рис.3.4 Зависимость унесенной массы М от угла острия q, Молибден -1,3,5,6 Вольфрам 2,4 Длительность импульса 5(1,2) 40(5) 80(6)нс |
В качестве основной экспериментальной зависимости выбрана зависимость унесенной с вершины острия массы металла М1 от угла конуса q.. Графики зависимостей представлены на рис. 3.4, из которых видно, что увеличение угла q от 2 до 40° приводит к уменьшению массы М1 примерно на один-два порядка.
Плоские электроды
Установлено, что элементарными следами поражения поверхности катода являются микрократеры(Рис.3.5). Каждый микрократер образуется в результате вытеснения жидкого металла, окружающего эмиссионный центр, под действием давления, развиваемого в зоне эмиссии, и последующего его застывания. Существует три типа микрократеров по характеру их расположения: 1) первичный и последующие микрократеры наподобие вулкана появляются на одном и том же месте 2) последующие микрократеры появляются на бруствере предыдущего 3) отдельные кратеры расположены на некотором расстоянии независимо друг от друга
|
| Рис 3.5. Микрократер сформировавшийся за время 10нс |
В зависимости от условий эксперимента меняются вид, плотность расположения и “качественный” состав микрократеров. Наиболее простой формой микрократеров являются “кратеры-зародыши”. Как правило, они возникают на дефектах поверхности катода. Микрократеры на гладкой поверхности удалось обнаружить начиная с длительности импульса tи = 5 нс и более. С ростом последней примерно до 100 нс размеры кратеров увеличиваются до 3-5 мкм. Дальнейшее возрастание длительности импульсов приводит в основном к появлению субструктуры кратеров (рис. 10.9). Субструктура кратеров проявляется в том, что новые микровзрывы возникают на краях имеющихся кратеров.
Капельная фракция эрозии катода
Из растровых микрофотографий поверхности катода, а также из визуальных и фотографических наблюдений за катодом при наносекундных вакуумных разрядах следует, что часть металла покидает катод в виде расплавленных микрочастиц. Для обоснованного анализа эрозионных характеристик необходимы данные о доле капельной фракции в общей эрозии катода.
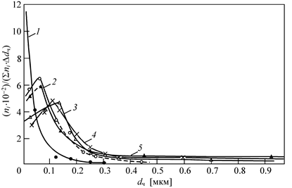
|
| Рис.3.6 Распределение капель по диаметру dч при tи = 10 (1); 35 (2); 50 (3); 100 (4) и 300 нс (5). |
Было подсчитано количество капель, приходящееся на единицу перенесенного через промежуток заряда. Оно для всех экспериментов оказалось равным (1¸3)×107 Кл-1. Число частиц, покидающих катод в среднем за один импульс, увеличивается с ростом tи В предположении, что все капли имеют сферическую форму и разлетаются изотропно, были сделаны оценки как объема жидкой фазы, приходящегося на каждую группу частиц, так и всего объема капельной фракции Оказалось, например, что, хотя доля частиц диаметром более 0.5 мкм не превышает 10% (tи = 50 нс), ими переносится примерно 80% объема всей капельной фракции. Представляет интерес и другой факт: в течение первых пяти наносекунд жидкие микрочастицы не выбрасываются из кратеров
Дата добавления: 2015-07-30; просмотров: 1496;
