Программа обследования
| № п/п | Наименование вопроса | Источник информации | Получатель информации |
| Цель функционирования объекта | Руководитель предприятия | Руководитель проекта | |
| Основные параметры объекта | Руководитель предприятия | Руководитель проекта | |
| Организационная структура объекта | Секретарь руководителя | Зам. руководителя проекта |
Третье направление предусматривает изучение и описание структуры информационных и(или) материальных потоков: состава и структуры компонентов потоков, частоты их возникновения, объемов за определенный период, направления движения потоков, процедур обработки, в которых участвуют эти компоненты. Источником сведений являются получаемые от специалистов предметной области интервью, экономическая документация и результаты расчетов. Описание информационной структуры выполняется на уровне экономических документов и показателей.
Для организации труда проектировщиков во время сбора материалов обследования и его последующего анализа необходимо выполнение операции П6 - разработка «Плана-графика выполнения работ на предпроектной стадии» (Д6.1), фрагмент которого представлен в табл. 3.2.
Таблица 3.2.
План-график выполнения работ на стадии сбора материалов обследования
| № п/п | Наименование работы | Код работы | Исполнитель | Дата начала | Длительность выполнения | Дата окончания |
| Определение целей и параметров предприятия | Руководитель проекта Серов М.Р. | 01.03.99 | 02.03.99 | |||
| Определение организационной структуры предприятия | Заместитель руководителя проекта Иванов И.П. | 03.03.99 | 03.03.99 | |||
| ........... |
«План-график» служит инструментом для планирования и оперативного управления выполнением работ на предпроектной стадии.
Последней операцией (П7), выполняемой проектировщиками на этом этапе, является «Проведение сбора и формализации материалов обследования», в процессе которой члены бригад должны проинтервьюировать специалистов подразделений изучаемой предметной области; собрать сведения обо всех объектах обследования, в том числе о предприятии в целом, функциях управления, методах и алгоритмах реализации функций, составе обрабатываемых и рассчитываемых показателей; собрать формы документов, отражающих хозяйственные процессы и используемые классификаторы, макеты файлов, сведения об используемых технических средствах и технологиях обработки данных; проконтролировать вместе с пользователем их правильность, сформировать «Отчет об обследовании» и выполнить другие работы,
Сбор материалов обследования следует проводить с помощью стандартных форм и таблиц, которые удобно читать и обрабатывать (рис. 3.5).

Рис. 3.5. Формы документов для формализации материалов обследования
Вся получаемая документация разбивается на три группы.
В первую группу входят документы, содержащие описание общих параметров экономической системы (Д7.1), ее организационной структуры, матричной модели распределения функций, реализуемых каждым структурным подразделением. В частности, общие параметры должны содержать: наименование объекта и его принадлежность (например, принадлежность предприятия министерству, объединению, корпорации и т.п.); тип объекта (например, тип предприятия, вид производства, режимы работы); виды и номенклатуру продукции или услуг; виды и количество оборудования и материальных ресурсов; категории и численность работающих и т.д.
В эту группу входит также форма описания общих характеристик функций управления экономической системой, хозяйственных процессов и процедур, реализующих эти функции (Д7.2). Эта форма включает отражение следующих параметров: наименование каждой функции, процесса и процедуры, описание экономической сущности задач, решаемых при выполнении процедуры, связанной с обработкой информации; состав процедур обработки информации, реализуемых каждой задачей; взаимосвязь задач, стоимостные затраты, связанные с реализацией каждой задачи.
Описание организационной структуры (Д7.3) должно включать состав и взаимосвязь подразделений и лиц, реализующих функции и задачи управления. Описание производственной структуры объекта должно отражать состав и взаимосвязь подразделений, реализующих производство товаров или услуг. Описание функциональной структуры призвано отображать распределение функций, хозяйственных процессов и процедур управления между составляющими организационной структуры и должно предполагать проведение классификации процедур, связанных с обработкой данных, коммуникацией между сотрудниками или принятием управленческих решений.
Описание материальных потоков (Д7.5) предполагает отображение маршрутов движения средств, предметов и продуктов труда, рабочей силы между подразделениями производственной структуры и будет включать: описание видов продукции или услуг, ресурсов; описание технологических операций, их частоту и длительность выполнения; объемы перемещаемых ресурсов, продукции или услуг, используемые средства транспортировки.
Далее следует вторая группа форм, формализующих материалы обследования по каждому структурному подразделению, имеющая в своем составе, помимо форм, аналогичных тем, которые входят в первую группу, формы описания информационных потоков по подразделениям (Д7.4), которые осуществляют связь задач внутри каждого подразделения между собой, а также связи между подразделениями.
Форма описания документопотоков включает следующие характеристики: наименование входных документов, количество их экземпляров; объемные данные по каждому документопотоку; перечень информационных файлов, где используются эти документы; носитель, на котором хранятся данные; время создания; время использования; перечень полей файлов; выходные документы, получаемые на основе информации файлов.
Третья группа документов содержит описание компонентов каждого информационного потока, включая документы, информационные файлы, процедуры обработки и характеристики этих компонентов.
Формы характеристик документов включают: наименование подразделения, тип документа (первичный, промежуточный или результатный), назначение документа, наименование документа, периодичность создания или время использования. Форма описания документов содержит: перечень показателей; описание структуры документов; перечень реквизитов; распределение реквизитов по разделам документа; типы реквизитов.
Форма характеристик процедур обработки данных включает: наименование подразделения, где используется процедура, задачу, в которую входит данная процедура; входную информацию, ее объемы; используемые файлы и их объемы; частоту обращения процедуры к файлу; блок-схему процедуры; выходные данные процедуры. Форма описания процедур обработки содержит: наименование задачи; операции процедуры; количество операций; используемую технику; стоимостные и временные затраты.
Полученное в результате проведенной формализации описание объекта содержит исходные данные для проектирования ЭИС и определяет параметры будущей системы. Так, материальные потоки обусловливают объемы обрабатываемой информации, состав первичных данных, периодичность и сроки сбора, их источники, необходимые для разработки информационной базы. Функциональная структура объекта определяет комплексы автоматизируемых задач управления, для каждого из которых указывают: состав входных и выходных показателей; периодичность и сроки их формирования; процедуры использования данных показателей; распределение функций и процедур между персоналом и техническими средствами. Организационная структура объекта служит основанием для выделения лиц, определяющих условие решения задач обработки информации, а также получателей выходных показателей и документов.
На основе формализованного описания предметной области выполняется этап «Анализ материалов обследования», целью которого являются:
· сопоставление всей собранной об объекте информации с теми требованиями, которые предъявляются к объекту, определение недостатков функционирования объекта обследования;
· выработка основных направлений совершенствования работы объекта обследования на базе внедрения проекта ЭИС,
· выбор направлений проектирования (выбор инструментария) и оценка эффективности применения выбранного инструментария;
· обоснование выбора решений по основным компонентам проекта ЭИС и определение общесистемных, функциональных и локальных требований к будущему проекту и его частям.
Рассмотрим технологическую сеть анализа материалов обследования (рис. 3.6), в которой в каждой из технологических операций используются документы обследования (Д1.1 - Д1.5).

Рис. 3.6.Технологическая сеть работ на этапе Анализ материалов обследования: Д1.1 - общие параметры (характеристики) экономической системы; Д1.2 - методы и методики управления (алгоритм расчета экономических показателей); Д1.3 - организационная структура экономической системы; Д1.4 - параметры информационных потоков; Д1.5 - параметры материальных потоков; U1.1 - универсум факторов выбора; Д1.6 - обоснование и список объектов автоматизации; U2.1 - универсум факторов выбора задач; Д2.1 - обоснование списка задач по каждому подразделению (объекту автоматизации); U3.1 - универсум технических средств; U3.2 - факторы отбора КТС; Д3.1 - обоснование выбора КТС; U4.1 - универсум операционных систем; U4.2 - факторы выбора ОС; Д4.1 - обоснование выбора ОС и алгоязыков; U5.1 - универсум способов организации ИБ; U5.2 - универсум программных средств ведения ИБ; U5.3 - факторы выбора; Д5.1 - обоснование выбора и описание организации ИБ и программного средства; U6.1 - универсум методов и программных средств разработки; Д6.1 - обоснование выбора метода проектирования и инструментального средства; Д7.1 - ТЭО; Д7.2 – ТЗ
Анализ материалов обследования позволяет проектировщикам выделить и составить список автоматизируемых подразделений (П1). На выбор объектов автоматизации оказывает влияние ряд факторов (U1.1), например, таких, как:
· количество формализуемых функций в каждом конкретном подразделении;
· количество связей этого подразделения с другими подразделениями;
· важность этого подразделения в процессах управления объектом;
· степень подготовленности подразделения для внедрения компьютеров и др.
Согласно этим факторам выделяют список наиболее важных подразделений (Д1.6). Например, для предприятия такими подразделениями являются отделы технико-экономического планирования, оперативного управления основным производством, технической подготовки производства, материально-технического снабжения, реализации и сбыта готовой продукции, бухгалтерия.
При выявлении списка автоматизируемых задач (Д2.1) на операции П2, для которых необходимо разработать проекты, проектировщики принимают к сведению следующие факторы, представленные универсумом (U2.1):
· важность решения задачи для выполнения основных функций управления, деловых процессов и процедур в данном подразделении;
· трудоемкость и стоимость расчета основных показателей данной задачи за год;
· степень информационная связь рассматриваемой задачи с другими задачами;
· недостаточная оперативность расчета показателей;
· низкая достоверность получаемых данных;
· недостаточное количество аналитических показателей, получаемых на базе первичных документов;
· неэквивалентный метод расчета показателей и др.
Кроме того, на этой операции осуществляется выявление очередей проектирования решаемых задач. К задачам первой очереди относят самые трудоемкие задачи и задачи, обеспечивающие информацией все остальные задачи комплексов и подсистем (например, задачи планирования и бухгалтерского учета). Общим требованием к первоочередным задачам является получение нормативного коэффициента окупаемости капитальных затрат.
Далее выполняется операция, связанная с анализом всех полученных ранее результатов, исходных универсумов и предварительным выбором комплекса технических средств (Д3.1) на операции П3. На выбор типа компьютера из универсума U3.1 оказывает влияние большое число факторов, которые принято объединять в следующие группы (U3.2).
1. Факторы, связанные с параметрами входных информационных потоков, поступающих на обработку в компьютер: объем информации, тип носителя информации, характер представления информации.
2. Факторы, зависящие от характера задач, которые должны решаться на компьютере, и их алгоритмов: срочность решения, возможность разделения задачи на подзадачи, выполняемые на другом компьютере, количество файлов с условно-постоянной информацией.
3. Факторы, определяемые техническими характеристиками компьютера: производительность процессора, емкость оперативной памяти, поддерживаемая операционная система, возможность подключения различных устройств ввода-вывода.
4. Факторы, относящиеся к эксплуатационным характеристикам компьютера: требуемые условия эксплуатации, необходимый штат обслуживающего персонала и его квалификация.
5. Факторы, учитывающие стоимостные оценки затрат на приобретение, на содержание обслуживающего персонала, на проведение ремонтных работ.
Далее следует выполнение операции П4 - «Выбор типа операционных систем» (Д4.1). Операционные системы осуществляют управление работой компьютера, ее ресурсами, запускают на выполнение различные прикладные программы, выполняют всевозможные вспомогательные действия по запросу пользователя. Различают однопользовательские, многопользовательские и сетевые OC (U4.1).
К факторам, определяющим выбор конкретного класса ОС (U4.2) и его версии, относятся:
· необходимое число поддерживаемых программных продуктов;
· требования к аппаратным средствам;
· возможность использования различных устройств ввода-вывода;
· требование поддержки сетевой технологии;
· наличие справочной службы для пользователя;
· наличие дружественного интерфейса и простота использования;
· возможность переконфигурации и быстрой настройки на новые аппаратные средства;
· быстродействие;
· совместимость с другими ОС;
· поддержка новых информационных технологий и др.
Следующей операцией (П5) является операция «Выбор способа организации информационной базы (ИБ) и программного средства ведения ИБ» (Д5.1). Информационная база имеет несколько способов организации (U5.1) как совокупность локальных файлов и интегрированную организацию в виде баз данных. Локальная (файловая) организация подразумевает под собой хранение данных в виде совокупности локальных файлов, не зависимых между собой, создаваемых для документа, задачи или комплекса задач. Интегрированная база данных представляет собой совокупность взаимосвязанных, хранящихся вместе данных, используемых для одного или нескольких приложений. Данные, организованные в виде базы данных (БД), могут быть организованы как централизованные базы данных, т.е. размещенные на одном компьютере, и в виде распределенных БД (размещенных на нескольких компьютерах).
Программные средства ведения ИБ выбираются исходя из класса систем хранения данных: системы управления файлами либо системы управления базами данных (СУБД). К основным факторам, определяющим выбор типа СУБД, относятся следующие факторы (U5.3):
· масштаб применения СУБД - по этому признаку выбираются
· персональные - настольные СУБД ( например, FoxPro или Access) или промышленные - сетевые СУБД (например, Oracle, Sybase, Informix, MS SQL, ADABAS, InterBase и др.);
· язык общения: выбирают СУБД с открытыми языками, замкнутыми или смешанными;
· число уровней в архитектуре: одноуровневые; двухуровневые; трехуровневые;
· выполняемые СУБД функции: информационные - организация хранения информации и доступа к ней и операционные функции, связанные с обработкой информации;
· сфера возможного применения СУБД: универсальное использование и специализированное.
При выполнении следующей операции (П6) осуществляется «Выбор методов и средств проектирования программного обеспечения системы», который напрямую зависит от выбранной технологии проектирования. В универсум методов проектирования (U6.1), используемых при каноническом подходе, входят такие, как метод структурного проектирования, модульного проектирования и другие. Основными факторами, оказывающими влияние на выбор методов, являются их совместимость, сокращение времени и стоимостных затрат на проектирование, получение качественного продукта, который был бы удобен для последующей его эксплуатации и сопровождения.
Выполнение всех этих операций завершается составлением ТЭО (Д7.1) и формированием ТЗ (Д7.2) на операции П7. Целью разработки «Технико-экономического обоснования» проекта ЭИС являются оценка основных параметров, ограничивающих проект ЭИС, обоснование выбора и оценка основных проектных решений по отдельным компонентам проекта. При этом различают организационные параметры, характеризующие способы организации процессов преобразования информации в системе, информационные и экономические параметры, характеризующие затраты на создание и эксплуатацию системы, экономию от ее эксплуатации. Основными объектами параметризации в системе являются задачи, комплексы задач, экономические показатели, процессы обработки информации.
Организационные параметры ЭИС дифференцируют по технологическим операциям процесса обработки информации: сбора, регистрации, передачи, хранения, обработки и выдачи информации. Для подготовительного этапа технологии обработки информации параметрами могут быть: вид связи между источником информации и компьютером, территориальное размещение технических средств, наличие промежуточного носителя информации, способ обеспечения достоверности информации и т.п. Для основного этапа технологии обработки информации в качестве параметров выступают: способ организации информационной базы, тип организации файлов, тип запоминающих устройств, режим обработки информации, тип компьютера, тип организации использования компьютера и т.п. Для заключительного этапа - способ организации связи пользователя с компьютером, наличие промежуточного носителя, организация размножения результатной информации и т.п.
К информационным параметрам относятся такие, как достоверность, периодичность сбора, форма представления, периодичность обработки информации и т.д.
К экономическим параметрам ЭИС относятся: показатели годового экономического эффекта, коэффициента эффективности затрат и т.п.
Параметризация позволяет определить требования к системе, оценить существующую информационную систему, определить пригодность типовых решений в проекте ЭИС, выбрать проектные решения в соответствии с предъявляемыми требованиями к ЭИС. К основным компонентам ТЭО относятся:
· характеристика исходных данных о предметной области;
· обоснование цели создания ЭИС;
· обоснование автоматизируемых подразделений, комплекса автоматизируемых задач, выбора комплекса технических средств, программного и информационного обеспечения;
· разработка перечня организационно-технических мероприятий по проектированию системы;
· расчет и обоснование эффективности выбранного проекта;
· выводы о техническом уровне проекта и возможности дальнейших разработок.
На основе ТЭО разрабатываются основные требования к будущему проекту ЭИС и составляется «Техническое задание» согласно ГОСТ 34.602-89 «Техническое задание на создание автоматизированной системы», в состав которого входят следующие основные разделы.
1. В разделе «Общие сведения о проекте» указывают: полное наименование системы, код системы, код договора, наименование предприятия-разработчика и предприятия-заказчика, перечень документов, на основе которых создается система, плановые сроки начала и окончания работ по созданию системы, сведения об источниках финансирования, порядок оформления и предъявления заказчику результатов работ по созданию системы (ее частей).
2. Раздел описания Назначение, цели создания системы состоит из двух подразделов:
· в подразделе Назначение системы даются вид автоматизируемой деятельности и перечень объектов автоматизации, на которых предполагается ее использовать;
· в подразделе Цели создания системы указываются наименования и требуемые значения технических, технологических, производственно-экономических и других показателей объекта автоматизации, которые будут достигнуты в результате внедрения ЭИС.
3. В разделе Характеристика объекта автоматизации приводятся: краткие сведения об объекте автоматизации; сведения об условиях эксплуатации объекта и характеристиках окружающей среды.
4. Раздел Требования к системе состоит из следующих подразделов: требования к системе в целом; требования к функциям (задачам), выполняемым системой; требования к видам обеспечения.
В подразделе Требования к системе в целом указывают требования к структуре и функционированию системы; к численности квалифицированных работников; к надежности и безопасности работы системы; к эргономике и технической эстетике, эксплуатации, техническому обслуживанию, ремонту системы; к защите информации от несанкционированного доступа; требования по сохранности информации при авариях; к защите от внешней среды; к патентной чистоте проектных решений; требования по унификации и стандартизации.
В подразделе Требования к функциям (задачам), выполняемым системой, комплексам задач и отдельным задачам приводят по каждой подсистеме перечень функций, задач или их комплексов, подлежащих автоматизации; распределение их по очередям создания; временной регламент реализации каждой функции, задачи или комплекса; требования к качеству реализации каждой функции, задачи, комплекса, к форме представления выходной информации; характеристики необходимой точности и времени выполнения, достоверности выдачи результата.
В подразделе Требования к видам обеспечения содержатся требования к математическому, программному, техническому, лингвистическому, информационному и методическому обеспечению ЭИС.
5. Раздел Состав и содержание работ по созданию системы должен содержать: перечень стадий и этапов работ по созданию системы в соответствии с ГОСТ 34.601 - 90; сроки выполнения; перечень организаций-исполнителей; перечень документов по ГОСТ 34.201 - 89 Виды, комплектность и обозначение документов при создании автоматизированных систем, предъявляемых по окончании работ; вид и порядок проведения экспертизы технической документации и др.
6. В разделе Порядок контроля приемки системы указывают: виды, состав, методы испытания системы и ее частей; общие требования к приемке работ по стадиям; порядок утверждения приемных документов; статус приемочной комиссии.
7. В разделе Требования к составу и содержанию работ по подготовке объекта автоматизации к вводу системы в действие необходимо привести перечень необходимых мероприятий и их исполнителей, которые следует выполнять при подготовке объекта к вводу ЭИС в действие: приведение информации, поступающей в систему, к виду, пригодному для ввода в компьютер; создание условий функционирования объекта, при которых гарантируется соответствие создаваемой системы требованиям, содержащимся в ТЗ; создание необходимых для функционирования системы подразделений и служб; сроки и порядок комплектования штатов и обучения персонала.
8. В разделе Требования к документированию приводят: перечень подлежащих разработке комплектов и видов документов, соответствующих требованиям ГОСТ 34.201-89 и научно-технической документации отрасли заказчика.
9. В разделе Источники разработки должны быть перечислены документы и информационные материалы (ТЭО, отчеты о законченных научно-исследовательских разработках, информационные материалы на отечественные, зарубежные системы-аналоги и др.).
10. В состав ТЗ при наличии утвержденных методик включают приложения, содержащие расчеты экономической эффективности системы; оценку научно-технического уровня системы.
Состав и содержание работ на стадии технорабочего проектирования
Работы на стадии Технорабочее проектирования выполняются на основе утвержденного «Технического задания». Разрабатываются основные положения проектируемой системы, принципы ее функционирования и взаимодействия с другими системами; определяется структура системы; разрабатываются проектные решения по обеспечивающим частям системы.
На стадии Технорабочее проектирование выполняются два этапа работ: техническое и рабочее проектирование, технологическая сеть которых приведена на рис. 3.7 и 3.9. На первом из них - Техническое проектирование осуществляется логическая проработка функциональной и системной архитектуры ЭИС, в процессе которой строится несколько вариантов всех компонентов системы; проводится оценка вариантов по показателям: стоимости, трудоемкости, достоверности получаемых результатов, и составляется Технический проект системы.


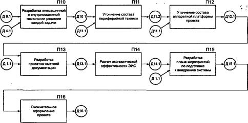
Рис.3.7. ТСП выполнения работ на этапе Техническое проектирование: Д1.1 - ТЗ; Д1.2 - основные положения по ЭИС; Д2.1 - описание организационной структуры; Д3.1 - описание функциональной структуры; Д4.1 - принципы организации информационного обеспечения; Д5.1 - постановка задачи; Д6.1 –формы первичных и результатных документов; Д6.2 - система ведения документов; Д7.1 - классификаторы; Д8 1 - структуры сообщений; Д9.1 - описание макетов и структур файлов; Д10.1 - системы технологических процессов обработки данных; Д11.1 - ТЭО, Д11.2- описание состава и характеристика периферийной техники; Д12.1 - АП, Д13.1 - проектно-сметная документация; Д14.1 - показатели экономической эффективности; Д15 1 - план мероприятий по подготовке объекта к внедрению проекта ЭИС; Д16 1 - технический проект.
Все работы первого этапа можно разбить на две группы. К первой группе относится разработка общесистемных проектных решений, в том числе:
· разработка общесистемных положений по ЭИС (П1);
· изменение организационной структуры (П2);
· определение функциональной структуры (П3);
· разработка проектно-сметной документации и расчет экономической эффективности системы (П13), (П14);
· разработка плана мероприятий по внедрению ЭИС (П15).
При разработке основных положений по системе (П1) уточняются цели создания ЭИС и выполняемые ею функции; устанавливается ее взаимосвязь с другими системами и формируется документ Д1.2 Основные положения. Далее уточняется и изменяется организационная структура (П2) и получается описание организационной структуры (Д2.1).
Наиболее принципиальной в данном комплексе работ является разработка функциональной архитектуры ЭИС (ПЗ) Д3.1 на базе универсума U3.1 принципов выделения функциональных подсистем (модулей, контуров): предметного, функционального, смешанного (предметно-функционального) и проблемного.
Ко второй группе работ, выполняемых на этапе технического проектирования, относятся разработки локальных проектных решений, к числу которых относят следующие операции:
· разработка Постановки задачи для задач, входящих в состав каждой функциональной подсистемы (П5), включающей основные компоненты описания задачи и служащей основанием для разработки проектных решений по задаче;
· проектирование форм входных и выходных документов, системы ведения документов и макетов экранных форм документов (П6, П9);
· проектирование классификаторов экономической информации и системы ведения классификаторов (П7);
· разработка структуры входных и выходных сообщений (П8);
· проектирование состава и структур файлов информационной базы (П4);
· проектирование внемашинной и внутримашинной технологии решения каждой задачи (П10);
· уточнение состава технических средств (П11), (П12).
Основным компонентом локальных проектных решений, являющимся базой для разработки информационного, программного и технологического обеспечения для каждой задачи, является «Постановка задачи». Этот документ содержит три составные части (рис. 3.8):
· характеристику задачи;
· описание выходной информации;
· описание входной информации.

Рис. 3.8. Cтруктура документа Постановка задачи
В состав раздела Характеристика задачи входят следующие компоненты: описание цели; назначение решения конкретной задачи; перечень функций и процессов, реализуемых решаемой задачей; характеристика организационной и технико-экономической сущности задачи; обоснование целесообразности автоматизации решения задачи; указание перечня объектов, для которых решается задача; описание процедур решения задачи; указание периодичности решения задачи и требований к организации сбора первичных данных; описание связей с другими задачами.
Под цельюавтоматизации решения задачи подразумевается получение определенных значений экономического эффекта в сфере управления какими-либо процессами системы или снижение стоимостных и трудовых затрат на обработку информации, улучшение качества и достоверности получаемой информации, повышение оперативности ее обработки и т.д., т.е. получение косвенного и прямого эффекта от внедрения данной задачи.
Под экономической сущностью решаемой задачи понимаются состав экономических показателей, рассчитываемых при ее решении, документы, в которые заносятся эти показатели, перечень исходных показателей, необходимых для получения результатных и наименования тех первичных документов, в которых они содержатся.
Организационная сущность задачи - это описание порядка решения задачи; организационной формы, применяемой для ее решения; режима решения; состава файлов с постоянной и переменной информацией; способа получения и ввода первичной информации в компьютер; формы выдачи результатной информации: на печать, на экран, на магнитный носитель или передача по каналам связи.
Описание алгоритма решения задачи включает формализованное описание входных и результатных показателей и перечень формул расчета результатных показателей в случае решения задачи прямым методом счета или описание математической модели, экономико-математического метода, применяемого для ее реализации, и перечня последовательных шагов выполнения расчетов.
Далее указываются периодичность решения задачи и регламент выдачи результатных документов, требования к организации сбора исходных данных, т.е. к способу и техническим средствам съема, регистрации, сбора и передачи данных для обработки. Большое значение имеет описание связи задачи с другими задачами функциональной подсистемы, в которую она входит, а также с задачами других подсистем или с внешней средой.
Описание выходной информации включает в себя: перечень и описание выходных сообщений, документов; перечень структурных единиц информации; периодичность возникновения и сроки получения информации; наименование; идентификатор по каждой форме документа.
Описание входной информации состоит из перечня входных сообщений; перечня структурных единиц информации; описания периодичности возникновения и сроков получения информации; наименования и идентификатора по каждой форме документа.
Далее для каждой задачи разрабатываются все компоненты информационного, технического, математического и лингвистического обеспечения, а также некоторые компоненты программного обеспечения.
Результатом работ на данной стадии является утвержденный Технический проект, состав и содержание которого регламентируются стандартом (ГОСТ 34.201-89).
На втором этапе - Рабочее проектирование осуществляется техническая реализация выбранных наилучших вариантов и разрабатывается документация Рабочий проект (рис. 3.9).

Рис. 3.9.ТСП работ, выполняемых на этапе рабочего проектирования: Д1.1 - технический проект, Д1.2 - документы программного обеспечения; Д2.1 - технические документы и инструкции; Д3.1 - правовые инструкции; Д4 1 - рабочий проект
Наиболее ответственной работой, выполняемой на этом этапе, являются Кодирование и составление программной документации (П1), содержание которой хорошо отражено в ряде источников, например в [7, 14, 16]. В ее состав входят следующие компоненты (Д1.2):
· описание программ;
· спецификация программ;
· тексты программ;
· контрольные примеры;
· инструкции для системного программиста, оператора и пользователя.
Большую роль в деле эффективного использования разработанного проекта ЭИС играет качественная технологическая документация, входящая в состав «Рабочего проекта». Эта часть проекта разрабатывается на операции П2 и предназначена для использования специалистами в своей деятельности на каждом автоматизированном рабочем месте.
В состав технологической документации (Д2.1) входят: технологические карты, разрабатываемые на процессы обработки информации при решении задач каждого класса, и инструкционные карты, составляемые на каждую технологическую операцию.
Технологическая документация разрабатывается в соответствии с требованиями ГОСТ 3.11.09 - 82 Система технологической документации. Термины и определения основных понятий, и составляет содержание технологического обеспечения ЭИС, которое можно разделить на несколько типов в соответствии с выделением следующих классов задач, решаемых в ЭИС:
· системы обработки данных (СОД);
· системы поддержки принятия решений (СППР);
· системы автоматизированного проектирования новой продукции (САПР) и т.д.
К числу работ, выполняемых на этом этапе, относится Разработка правовых инструкций (Д1.2) (П1), определяющих права и обязанности специалистов, работающих в условиях функционирования на предприятии компонентов ЭИС.
Заключительной операцией служит Оформление документации Рабочего проекта (Д4.2) согласно ГОСТам (Д4.1) на операции П4.
Состав и содержание работ на стадиях внедрения, эксплуатации и сопровождения проекта.
На стадии Внедрение проекта проводятся подготовка и постепенное освоение разработанной проектной документации ЭИС заказчиками системы.
В процессе выполнения работ на этой стадии осуществляется выявление частных и системных принципиальных недоработок в предлагаемом для внедрения проектном решении. Внедрение может осуществляться с использованием следующих методов:
· последовательный метод, когда последовательно внедряется одна подсистема за другой и одна задача следует за другой задачей;
· параллельный метод, при котором все задачи внедряются во всех подсистемах одновременно;
· смешанный подход, согласно которому проектировщики, внедрив несколько подсистем первым методом и накопив опыт, приступают к параллельному внедрению остальных.
Недостатком первого подхода является увеличение длительности внедрения, что ведет за собой рост стоимости проекта. При использовании второго подхода сокращается время внедрения, но возникает возможность пропуска ошибок в проектной документации, поэтому чаще всего используют смешанный метод внедрения проекта ЭИС.
Внедрение проекта осуществляется в течение трех этапов:
· подготовка объекта к внедрению;
· опытное внедрение;
· сдача проекта в промышленную эксплуатацию.
Первый этап - Подготовка объекта к внедрению. На этом этапе осуществляются следующие операции:
· изменяется организационная структура объекта (предприятия);
· набираются кадры соответствующей квалификации в области обработки информации и эксплуатации системы и сопровождения проектной документации;
· оборудуется здание под установку вычислительной техники;
· выполняются закупка и установка вычислительной техники с периферией;
· в цехах, отделах устанавливаются средства сбора, регистрации первичной информации и передачи по каналам связи;
· осуществляется установка каналов связи; проводится разработка новых документов и классификаторов;
· осуществляется создание файлов информационной базы с нормативно-справочной информацией.
На вход этого этапа поступают компоненты «Технического проекта» в части «Плана мероприятий по внедрению», решения по техническому и информационному обеспечению, технологические и инструкционные материалы «Рабочего проекта». В результате выполнения этапа составляется «Акт готовности объекта к внедрению» проекта ЭИС. Затем формируется состав приемной комиссии, разрабатывается «Программа проведения опытного внедрения» и издается «Приказ о начале опытного внедрения».
Второй этап - «Опытное внедрение». На этом этапе внедряются проекты нескольких задач в нескольких подсистемах. В процессе опытного внедрения выполняются следующие работы:
· подготовка исходных оперативных данных для задач, которые проходят опытную эксплуатацию;
· ввод исходных данных в компьютер и выполнение запланированного числа реализаций;
· анализ результатных данных на предмет наличия ошибок.
В случае обнаружения ошибок осуществляются поиск причин и источников ошибок, внесение коррективов в программы, в технологию обработки информации, в работу технических средств, в исходные оперативные данные и в файлы с условно-постоянной информацией. Кроме того, выявляется неквалифицированная работа операторов, что служит основанием для проведения комплекса мер по улучшению подготовки кадров.
После устранения ошибок получают «Акт о проведении опытного внедрения», который служит сигналом для начала выполнения следующего этапа.
На третьем этапе «Сдача проекта в промышленную эксплуатацию» используют следующую совокупность документов:
· договорная документация;
· «Приказ на разработку ЭИС»;
· ТЭО и ТЗ;
· исправленный «Техно-рабочий проект»;
· «Приказ о начале промышленного внедрения»;
· «Программа проведения испытаний»;
· «Требования к научно-техническому уровню проекта системы».
В процессе сдачи проекта в промышленную эксплуатацию осуществляются следующие работы:
· проверка соответствия выполненной работы договорной документации по времени выполнения, объему проделанной работы и затратам денежных средств;
· проверка соответствия проектных решений по ЭИС требованиям ТЗ;
· проверка соответствия проектной документации ГОСTам и ОСТам;
· проверка технологических процессов обработки данных по всем задачам и подсистемам;
· проверка качества функционирования информационной базы, оперативности и полноты ответов на запросы;
· выявление локальных и системных ошибок и их исправление.
Кроме того, приемная комиссия определяет научно-технический уровень проекта и возможности расширения проектных решений за счет включения новых компонентов. В результате выполнения работ на данном этапе осуществляется доработка «Технорабочего проекта» за счет выявления системных и локальных ошибок и составляется «Акт сдачи проекта в промышленную эксплуатацию».
На четвертой стадии Эксплуатация и сопровождение проекта выполняются следующие этапы:
· эксплуатация проекта;
· сопровождение и модернизация проекта.
На этой стадии решается вопрос о том, чьими силами (персоналом объекта-заказчика или организации-разработчика) будут осуществляться эксплуатация и сопровождение проекта, и в случае выбора второго варианта заключается «Договор о сопровождении проекта».
В процессе выполнения этапа Эксплуатация проекта осуществляются исправления в работе всех частей системы при возникновении сбоев, регистрация этих случаев в журналах, отслеживание технико-экономических характеристик работы системы и накопление статистики о качестве работы всех компонентов системы.
На этапе Сопровождение и модернизация проекта выполняется анализ собранного статистического материала, а также анализ соответствия параметров работы системы требованиям окружающей среды. Анализ осуществляет создаваемая для этих целей комиссия. Результаты анализа позволяют:
· сделать заключение о необходимости модернизации всего проекта или его частей;
· определить объемы доработок, сроки и стоимость выполнения этих работ с целью получения «Технорабочего проекта», прошедшего модернизацию.
В случае выявления факта морального старения проекта комиссией принимается решение о целесообразности проведения его утилизации или разработки нового проекта для данного объекта.
Вопросы для самопроверки
1. Что такое каноническое проектирование ЭИС и каковы особенности его содержания?
2. Какова цель этапа Сбор материалов обследования?
3. Что может служить для проектировщика объектом обследования?
4. Каковы состав и содержание методов организации проведения обследования?
5. Какие используются методы сбора материалов обследования и для каких целей?
6. Перечислите состав вопросов в программе обследования при системном и локальном подходах к проектированию ЭИС.
7. Что такое план-график проведения работ и каково его назначение?
8. Каково назначение этапа Анализ материалов обследования?
9. Каков состав методов формализации материалов обследования?
10. Каков состав документов, предназначенных для формализованного описания материалов обследования?
11. Каков состав факторов отбора объектов для проведения автоматизации работ и выбора состава автоматизируемых задач?
12. Каков состав факторов выбора типов вычислительной техники и операционных систем?
13. Каковы факторы выбора способов организации хранения данных в информационной базе и типов СУБД?
14. Каково назначение и каков состав разделов «Технико-экономического обоснования»?
15. Каково назначение и содержание «Технического задания»?
16. Каковы назначение и состав операций стадии «Технорабочее проектирование»?
17. Какие работы «Технорабочего проектирования» относятся к разработке общесистемных проектных решений и каково их содержание?
18. Какой состав работ относится к разработке локальных решений проекта ЭИС?
19. Что такое «Постановка задачи» и каков состав компонентов этого документа?
20. Каков состав разделов «Технического проекта ЭИС»?
21. Какие работы относятся к этапу «Рабочего проектирования»?
22. Какие разделы выделяются в документации «Рабочего проекта»?
23. Каковы состав, последовательность выполнения работ на стадии «Внедрение проекта», состав получаемой документации?
24. Каков состав работ по подготовке объекта к внедрению проекта ЭИС?
25. Каковы методы организации внедрения проекта ЭИС и их особенности?
Дата добавления: 2015-07-30; просмотров: 3579;
