ОСНОВНЫЕ ВИДЫ ЭПС НЕПРЕРЫВНОГО ДЕЙСТВИЯ
Основные виды ЭПС периодического действия, являющиеся наиболее распространенными, показаны на рис. 4.24.

Рис. 4.24. Основные виды электрических печей
сопротивления (наиболее распространенные)
Схемы электрических печей сопротивления непрерывного действия наиболее распространенных типов [18 - 20], рис. 4.25.
В ЭПС непрерывного действия изделия загружаются в печь и, непрерывно или периодически перемещаясь по длине электропечи, нагреваются и выходят с другого конца нагретыми до определенной температуры. Температуры различных точек рабочего пространства в ЭПС непрерывного действия могут быть различными или одинаковыми, однако они не изменяются во времени.
| а | б |
|
|
| в | г |
|
|
| д | е |
|
|
| Рис. 4.25. Схемы печей непрерывного действия: а – конвейерная с горизонтальным конвейером; б – конвейерная с подвесным конвейером; в – толкательная; г – рольганговая; д – протяжная вертикальная; е – карусельная; 1 – каркас печи с футеровкой; 2 – нагреваемые тела (загрузка); 3 – дверца,; 4 – загрузочные проемы; 5 – конвейер; 6 – барабан конвейера с приводом; 7 – подвеска; 8 – направляющие; 9 – толкатель с приводом; 10 – загрузочный стол; 11 – разгрузочный стол; 12 – рольганг с приводом; 13 – ролики или барабаны; 14 – размоточный механизм; 15 – намоточный механизм с приводом; 16 – кольцевой под; 17 – вал с приводом Стрелкой показано направление движения загрузки. |
Электропечи сопротивления непрерывного действия целесообразно применять в тех случаях, когда имеется установившийся технологический процесс термообработки и требуется провести термообработку большого количества идентичных изделий, т.е. в массовых и крупносерийных производствах. Методические печи должны быть снабжены тем или иным приспособлением для перемещения деталей. Эти печи сложнее печей периодического действия, но зато имеют значительно большую производительность при тех же габаритах и обеспечивают идентичность режима термообработки.
Эти ЭПС могут входить в состав единого, полностью механизированного агрегата. Например, объединяют закалочную и отпускную ЭПС вместе с закалочным баком, моечной машиной, сушильной ЭПС. В таком агрегате изделие вначале нагревается в закалочной ЭПС, затем поступает в закалочный бак, откуда попадает в моечную машину, где смывается закалочная жидкость (масло), высушивается в сушильной ЭПС и попадает в отпускную ЭПС.
Входящие в агрегат установки должны иметь одинаковую производительность, так как производительность агрегата в целом определяется той входящей в его состав установкой, которая имеет самую малую производительность.
Такие автоматизированные агрегаты могут входить в состав поточных и автоматических линий.
Электропечь непрерывного действия, как правило, имеет несколько тепловых зон с самостоятельным регулированием температуры, что дает возможность создавать различные температурные режимы. Длина зоны обычно равна 1,5 — 2 м, а в тех случаях, когда не требуется обеспечивать заданный график нагрева, длина зоны может быть увеличена до 2,5 — 3 м, и наоборот, когда необходимо точно выдержать заданную кривую нагрева изделий, длину зоны следует уменьшить до 0,8 — 1,2 м.
В случае необходимости ЭПС непрерывного действия могут комплектоваться камерами охлаждения. Эти печи могут работать с контролируемыми атмосферами. При этом с загрузочной и разгрузочной сторон устанавливают так называемые шлюзовые камеры или со стороны разгрузки устанавливается специальный разгрузочный лоток, входящий в рабочую среду закалочного бака, тем самым образуя гидравлический затвор.
Электропечь непрерывного действия с рабочей температурой до 700°С часто оборудуют вентиляторами. Нагреватели в электропечах устанавливают на своде, поду и боковых (реже торцевых) стенках. В основном конструкции ЭПС непрерывного действия определяются механизмом перемещения изделий по электропечи.
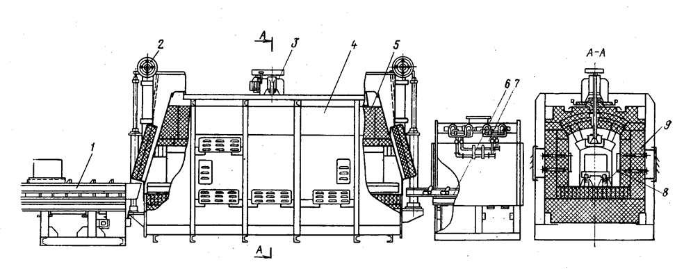
Конвейерные электропечи (рис. 4.26) [18 - 20] являются наиболее распространенным типом ЭПС непрерывного действия. Они применяются в основном для термообработки мелких и средних по габаритам и массе изделий крупносерийного и массового производства, например колец подшипников.
|
|
| Рис. 4.26. Горизонтальная конвейерная электропечь с рабочей температурой 700°С: 1 — загрузочное приспособление; 2 — форкамера со шторками; 3 — конвейерная лента; 4 — кожух; 5 — лоток; 6 — вентилятор; 7 — боковые нагреватели; 8 — подовые нагреватели; 9 — футеровка; 10 — торцовые нагреватели; 11— привод конвейера |
Для перемещения изделий внутри рабочего пространства ЭПС применяется конвейер, натянутый между двумя валами, один из которых является ведущим, а другой — ведомым. Для вращения ведущего вала применяется электропривод.
В ЭПС с температурой 350°С, предназначенных чаще всего для низкотемпературного отпуска, конвейерная лента выполняется из штампованных звеньев (рис. 4.27) и опирается на неприводные ролики. Через камеры нагрева и охлаждения проходит один и тот же конвейер.
В конвейерных ЭПС с температурами 700 и 900°С, предназначенных для высокотемпературного отпуска и закалки, конвейерная лента выполняется из литых звеньев (рис. 4.27, а) и поддерживается в печах длиной до 4 м опорными балками, а в ЭПС большей длины - приводным рольгангом. В ряде конвейерных ЭПС применяется сетчатый конвейер (рис. 4.28), выполненный из жаропрочных хромоникелевых сплавов.
Конвейер может быть полностью, вместе с обоими валами, расположен в камере ЭПС. Недостатками в этом случае являются тяжелые условия работы обоих валов конвейера, находящихся в зоне высоких температур, неудобство ремонта из-за плохой доступности, а также трудность загрузки изделий на горячий конвейер. Кроме того, в подобных конструкциях, как правило, валы охлаждаются водой, что приводит к значительным тепловым потерям.
| а | а |
|
|
| б | б |
|
|
| Рис. 4.27. Ленты проволочные (сетчатые): а – без бортовых пластин, однорядного плетения; б – с бортовыми пластинами | Рис. 4.28. Конвейерные цепи: а – для подвижной опоры конвейерных лент; б – для перемещения крупных изделий типа слябов |
| а | б |
|
|
|
|
| Рис. 4.29. Ленты панцирные: а – с литыми звеньями; б – со штампованными звеньями |
Указанные недостатки отсутствуют в случае выноса валов конвейера и его нижней ветви из зоны высоких температур, т. е. вынос концов конвейера за пределы футеровки. Недостатком подобных конструкций является то, что теплота, идущая на нагрев конвейера, полностью теряется после выхода его части из горячей зоны. Эти потери значительно больше потерь с охлаждающей водой у ЭПС с конвейером, расположенным в печи.
Несмотря на то, что конвейер изготовляют из специальных жаропрочных сталей, обладающих высоким сопротивлением ползучести (крипоустойчивость), работающий при высоких температурах конвейер может сильно вытягиваться. Для борьбы с этим применяют натяжные станции, которые располагают у загрузочного конца ЭПС, если ведущий вал и привод конвейера расположены у разгрузочного конца.
Конвейерные ЭПС применяют в основном до температур 900°С, хотя имеются ЭПС, работающие при 1150°С. При работе конвейерных ЭПС с контролируемой атмосферой они комплектуются охладительными устройствами или закалочным баком.
Камеры охлаждения в конвейерных ЭПС могут быть с водоохлаждаемыми стенками, с вентиляторами, с душированием изделий (в случае работы ЭПС без контролируемых атмосфер), с футерованными стенками (с нагревателями или без них); камеры охлаждения набирают отдельными секциями, количество их определяется в зависимости от технологических требований.
Отечественной промышленностью производятся серии конвейерных электропечей на температуры 350, 700, 900 и 1150°С с шириной конвейера от 60 до 2000 мм и длиной от 1 до 10 м.
Имеются также конструкции вертикальных конвейерных электропечей. Эти ЭПС занимают меньшую площадь цеха, но имеют ряд недостатков, заключающихся в неравномерности температур по высоте печи и необходимости устройств для надежного закрепления изделий, утяжеляющих конвейер. Вертикальные конвейерные ЭПС могут применяться для нагрева однотипных изделий, удобных для расположения на вертикальном конвейере. Максимальная рабочая температура не превышает 600°С. Эти ЭПС не нашли широкого применения и не производятся серийно.
Широкое применение для обжига эмалированных изделий, сушки после окраски и ряда других технологических процессов, не требующих контролируемых атмосфер, нашли электропечи с подвесным конвейером.
Конвейер в этих ЭПС состоит из тяговых разборных цепей и кареток. Эти ЭПС легко встраиваются в поточные линии. При подвесном конвейере сравнительно несложно организовать любой путь конвейера вне ЭПС. Движение конвейера может быть непрерывным или периодическим. Для уменьшения тепловых потерь через загрузочный и разгрузочный проемы при непрерывном движении конвейера устанавливают аэродинамические завесы, а при периодическом движении — дверцы.
При сушке с выделением взрывоопасных летучих веществ нагрев изделий в этих ЭПС производится горячим воздухом, который нагревается в выносном электрокалорифере.
Возможные схемы ЭПС с подвесным конвейером приведены на рис. 4.30.
При расположении загрузочного и разгрузочного проемов на одном уровне с рабочим пространством (рис. 4.30, а) во многих случаях применяют тепловые (или огневые) завесы.
Печи по схемам 4.30, б и в не требуют устройства тепловых завес из-за статического подпора, так как проемы печей находятся ниже уровня пода камеры нагрева.
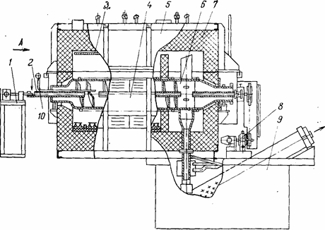
| В печи по схеме рис. 4.30, в происходит рекуперация теплоты, так как поступающие в ЭПС холодные изделия используют теплоту, выделяемую уже нагретыми изделиями при их охлаждении. Конвейерные печи отечественная промышленность выпускает на температуры 300, 700 и 1000°С мощностью более 1000 кВт. Для нагрева и мелких, и крупных изделий до 1150°С могут быть использованы толкательные электропечи (рис. 4.31). На поду этих ЭПС установлены жароупорные направляющие в виде труб, рельсов или роликового пода, вдоль которых перемещаются поддоны с нагреваемыми изделиями. Расположенный на загрузочном торце печи толкатель вдвигает в электропечь с загрузочного стола очередной поддон с изделиями, и так как поддоны | а |
| |
| б | |
| |
| в | |
| |
| Рис. 4.30. Схемы электропечей с подвесным конвейером |
расположены вплотную друг к другу, то приходят в движение все ранее загруженные в печь поддоны.
После подхода к разгрузочному концу ЭПС поддон либо сам скатывается по наклонному рольгангу, либо захватывается таскателем и направляется им на разгрузочный стол.
|
| Рис. 4.31. Толкательная электропечь с камерой охлаждения: 1 – толкатель; 2 – дверца с механизмом подъема; 3 – вентилятор; 4 – кожух; 5 – футеровка; 6 – таскатель; 7 – камера охлаждения; 8 – нагреватели; 9 – рельсовый путь |
Основными преимуществами толкательных ЭПС являются достаточно хорошая герметичность, относительная простота, отсутствие транспортирующих механизмов в зоне высоких температур.
Недостатком этих ЭПС является наличие массивных поддонов, что ограничивает длину электропечей до 10 — 12 м из-за невозможности перемещения поезда поддонов большей длины. Кроме того, на нагрев поддонов затрачивается до 25 % полезной теплоты. Определенная трудность имеется также в возврате поддонов от разгрузочного конца ЭПС к загрузочному. Стойкость поддонов также невелика — она исчисляется несколькими месяцами, и стоимость поддонов существенно удорожает себестоимость термообработки. В ряде случаев при нагреве крупных изделий правильной формы удается укладывать изделия вплотную, непосредственно на направляющие и тем самым обойтись без поддонов; при этом исключаются недостатки, имеющиеся в ЭПС с использованием поддонов.
В большинстве современных толкательных ЭПС загрузку и выгрузку поддонов, а также открывание дверец производят с помощью гидравлических приводов, хотя и возможно применение электромеханического привода.
Герметизацию загрузочного торца ЭПС обеспечивает специальная загрузочная камера, оборудованная подъемным колпаком, в который поддоны подают снизу загрузочным столом, боковой заслонкой с эксцентриковыми зажимами или специальным загрузочным механизмом и пламенной завесой, включаемой в момент загрузки.
В связи с тем, что толкательные ЭПС легко могут быть герметизированы, они нашли широкое применение для цементации стальных изделий.
Используются муфельные и безмуфельные толкательные ЭПС. Безмуфельные ЭПС бывают с закрытыми и открытыми нагревателями.
Наличие муфеля и связанный с этим повышенный расход дорогостоящих дефицитных никельсодержащих жароупорных сталей являются недостатками муфельных толкательных печей, кроме того, эти ЭПС не могут иметь температуру выше950°С. Эти же недостатки имеют безмуфельные ЭПС с закрытыми нагревателями.
Однако и те, и другие печи обладают достоинствами, заключающимися в большей надежности нагревателей, а также в возможности быстрой замены нагревателей без охлаждения ЭПС.
Безмуфельные ЭПС с открытыми нагревателями могут иметь температуру до 1050°С, что может значительно повысить их производительность. Однако осаждение сажи на футеровке и нагревателях резко сокращает срок службы нагревателей, в связи с чем подобные ЭПС не получили широкого применения.
На основе толкательных ЭПС могут быть созданы агрегаты, в которых можно проводить ряд последовательных термических и химико-термических процессов. Толкатели этих ЭПС приспособлены для передачи поддонов изделиями на толкатель последующей ЭПС.
В России и странах СНГ созданы серии толкательных электропечей для работы с воздушной атмосферой на температуры 350, 750, 900 и 1000°С, а также серия толкательных ЭПС для цементации при 950°С.
Рольганговые электропечи, передвижение изделий в которых осуществляется рольганговым подом (рис. 4.32), являются наиболее универсальными среди ЭПС непрерывного действия. В рольганговых печах могут быть обработаны изделия, разнообразные по форме и массе. Увеличение длины электропечи не сказывается на надежности ее работы. Для перемещения по электропечи изделия загружаются непосредственно на рольганг или в специальные жароупорные поддоны, которые помещаются на рольганг. Рольганговые ЭПС могут комплектоваться загрузочным столом или загрузочным механизмом, камерой загрузки, камерой охлаждения, закалочным баком, разгрузочным столом или разгрузочным механизмом, разгрузочной камерой, кантователем, транспортером возврата поддонов.
Электропечи с небольшой высотой рабочего пространства для возможности проведения ремонта имеют съемные своды. При использовании рольганговых ЭПС для работы с контролируемыми атмосферами ролики должны быть герметичными, в случае необходимости они охлаждаются водой. Движение роликов, как правило, осуществляется общим наружным приводом.
Эти ЭПС также входят в состав закалочно-отпускных агрегатов.
В России и странах СНГ серийно выпускаются рольганговые электропечи с номинальными температурами 350, 750, 1000 и 1200°С, мощностью от 60 до 1000 кВт, шириной рабочего пространства от 400 до 4500 мм, длиной до 80 м, но возможна и большая длина, кратная 2 м (2 м — длина унифицированной секции).
В карусельных электропечах (рис. 4.33) транспортирующим узлом служит под, выполненный в виде кольца. Под вращается, перемещая изделия в печном пространстве.
Карусельные ЭПС используются для низкотемпературного отпуска (до 250°С) стальных изделий, для закалки (до 850°С) мелких стальных изделий, для нагрева под закалку перед штамповкой (до 1150°С) и для нагрева (до 1250°С) под прокатку в металлургии. Эти ЭПС возможно применять на температуры до 1300°С при значительных массах загрузки благодаря тому, что механизмы находятся вне зоны высоких температур. Подина, так же как и рабочая камера может быть керамической и практически не иметь металлических деталей, ограничивающих температуру применения.
|
| Рис. 4.32. Рольганговая электропечь: 1 – футеровка; 2 – нагреватель; 3 – рольганг; 4 – кожух; 5 – привод рольганга; 6 – камера охлаждения; 7 – система водоохлаждения; 8 - дверца |
| В карусельных ЭПС можно нагревать изделия сложной конфигурации без поддонов, что не всегда возможно в других печах непрерывного действия. Карусельные ЭПС сравнительно легко могут быть приспособлены для работы с защитной атмосферой. В этом случае оконные проемы оборудуются пламенными завесами и шторками. Недостатком этого вида ЭПС являются определенные трудности, связанные с механизацией загрузки и выгрузки обрабатываемых изделий, так как загрузочный и разгрузочный проемы находятся рядом. По этой же причине эти ЭПС неудобно использовать в поточных линиях. |
|
| Рис. 4.33. Карусельная электропечь: 1 — съемный свод; 2 — нагреватели; 3 — дверца; 4 — футеровка; 5 — вращающийся под; 6 — рама; 7 — привод механизма; 8 — кожух |
Карусельные ЭПС для сравнительно низких температур имеют под, выполненный в виде металлоконструкции, расположенной внутри печного пространства.
Для легких загрузок под имеет одну опору, вал которой выводится из печного пространства и приводится во вращение приводом, как правило, с применением системы зубчатых передач.
В ЭПС для закалки мелких изделий вращающийся под выполняется с ковшами. Одна сторона ковша прикрепляется на шарнире к вращающейся конструкции пода, другая скользит по кольцеобразной неподвижной направляющей. Против разгрузочного лотка ЭПС неподвижная направляющая обрывается, и ковш опрокидывается, а изделия, находящиеся в нем, высыпаются в закалочный 6aк. При более высоких температурах и тяжелых загрузках внутри печного пространства располагается огнеупорная часть пода, а его металлоконструкция выносится из зоны высоких температур; опорой пода служат ролики. Обрабатываемые изделия помещаются непосредственно на огнеупорную часть пода.
Для загрузки и выгрузки изделий карусельные ЭПС могут иметь один проем, если охлаждение нагретых обрабатываемых изделий при их разгрузке не сказывается на их качестве (например, при отпуске и отжиге), а также могут иметь два проема с огнеупорной перегородкой между ними, если ЭПС предназначены, например, для закалки или нагрева под штамповку, прессование или прокатку.
Вращение пода может быть непрерывным или прерывистым. Если на вращающемся поду расположены нагревательные элементы, то электропитание к ним подводится через скользящие контакты.
В России и странах СНГ разработаны и изготовляются карусельные электропечи с гладким подом на 700, 1000 и 1250°С мощностью от 20 до 1200 кВт, шириной рабочего пространства от 230 до 1610 мм и средним диаметром пода от 800 до 7000 мм, а также карусельные электропечи с ковшовым подом на 1000°С.
Электропечи с пульсирующим подом (рис. 4.34) имеют ряд преимуществ, благодаря которым они нашли широкое применение в промышленности.
|
| Рис. 4.34. Электропечь с пульсирующим подом: 1 – механизм пульсации; 2 - кожух; 3 – крышка; 4 – футеровка печи; 5 – разгрузочный лоток; 6 – нагреватели; 7 – подовая плита; 8 - газоподвод |
Перемещение изделий в этих ЭПС осуществляется путем повторяющихся возвратно-поступательных движений подовой плиты — плавного медленного вперед с резким остановом и быстрого — назад. Изделия, находящиеся на поду, во время резкой остановки и движения назад пода по инерции перемещаются вперед. Эти ЭПС в основном применяются для термообработки мелких изделий под закалку (до 900°С).
Применяются они также для отжига и высокотемпературного отпуска (до 700°С). Эти ЭПС легко встраиваются в автоматические и поточные линии.
Агрегаты, в состав которых входят ЭПС с пульсирующим подом, состоят обычно из конвейерных закалочных баков, конвейерных моечных машин, конвейерных ЭПС низкотемпературного отпуска, а также другого оборудования конвейерных агрегатов.
Недостатком ЭПС с пульсирующим подом является то, что они могут применяться при сравнительно невысоких температурах и могут иметь относительно небольшую производительность, определяемую длиной подовой плиты.
Подовые плиты этих ЭПС выполняются, как правило, из листового проката с приваренными бортовыми пластинами. В качестве опоры используются ролики. Возвратно-поступательное движение подовой плиты осуществляется механизмом кулачкового типа с пружинами или пневмоприводом.
В России и странах СНГ серийно изготовляются электропечи с пульсирующим подом на температуры до 900°С мощностью от 5 до 150 кВт с размерами пода: шириной — от 125 до 600 мм и длиной — от 500 до 4000 мм.
Перемещение изделий в электрических печах с шагающим подом (с шагающей балкой) осуществляется футерованной подовой балкой (рис. 4.35). Балка поднимаете вверх, снимает загрузку с неподвижной части пода и, перемещаясь вперед, несет изделия в сторону разгрузочного конца. Затем балка, опускаясь вниз, устанавливает изделия на неподвижный под (но уже в другом месте — ближе к разгрузочному концу), а сама, опустившись ниже, возвращается в исходное положение. Таким образом, изделия перемещаются от загрузочного до разгрузочного окна ЭПС. Преимущества ЭПС с шагающим подом состоят в том, что в печном пространстве, т. е. в зоне наибольших температур, отсутствуют металлические детали, что позволяет создавать эти ЭПС на сравнительно высокие температуры. Электропечи с шагающим подом имеют также и определенные недостатки. К ним относятся сравнительно большая неравномерность температуры в рабочем пространстве, трудность герметизации и, следовательно, сложность применения их с контролируемыми атмосферами, высокие тепловые потери из-за наличия продольных щелей между подвижными балками и неподвижными частями пода печи. Кроме того, механизм шагающего пода сложен, недостаточно надежен в эксплуатации.
|
| Рис. 4.35. Электропечь с шагающим подом: 1 – кожух; 2 – футеровка; 3 – измерительный термоэлектрический преобразователь; 4 – дверца; 5 – гидравлический привод пода; 6 – карборундовый нагреватель; 7 – футеровка балки; 8 – шагающая балка |
Применять электропечи с шагающим подом целесообразно для нагрева изделий сложной конфигурации, которые невозможно транспортировать в других ЭПС непрерывного действия (например, трубы с фланцами); для нагрева тяжелых изделий до1200 — 1250°С; для нагрева тяжелых изделий в тех случаях, когда механическая нагрузка на под высока и применять, например, рольганговые печи практически невозможно (нагрев слябов в линии непрерывной разливки стали и т. п.); для нагрева достаточно длинных изделий, когда требуется располагать их в рабочем пространстве поперек ЭПС. Шагающий под выполняется из труб и профильного проката, в зоне высоких температур находится огнеупорная часть пода, защищающая металлоконструкции от воздействия высоких температур.
Шагающую балку делают по высоте составной. Каждый отрезок балки опирается на две пары роликов. Отдельные отрезки балки соединяются между собой шарнирно так, чтобы было обеспечено жесткое соединение в горизонтальной плоскости и подвижное - в вертикальной.
Загрузка и выгрузка подобных ЭПС могут быть осуществлены через торцовые проемы, но в отдельных случаях их целесообразно осуществлять через боковую стенку, например при нагреве длинномерных изделий, расположенных поперек печи.
Вертикальный ход шагающего пода составляет 0,05 — 0,1 м у небольших печей и 0,15 — 0,2 м и более, у крупных горизонтальный ход обычно не превышает 0,5 м.
Цикл хода балки достигает 1 мин. Привод механизма передвижения шагающего пода — гидравлический или электромеханический.
В России и странах СНГ разработаны ЭПС с шагающим подом на температуры 1150 — 1300°С мощностью от 50 до 500 кВт, шириной рабочего пространства от 300 до 2200 мм и длиной до 12 м.
Барабанные электропечи (рис. 4.36) предназначены в основном для обработки изделий с максимальным размером до 80 мм, а также для нагрева порошкообразных материалов.
Перемещение нагреваемых изделий или порошка через электропечь осуществляется во вращающемся барабане-муфеле. Внутри муфеля находятся непрерывные ребра, расположенные по винтовой линии с определенным шагом по всей длине. В этом случае при каждом обороте муфеля обрабатываемые изделия перемещаются на один виток.
Возможен барабан и без ребер для передвижения изделий. В этом случае необходимо расположить барабан наклонно под углом 1 — 5° в сторону разгрузки.
Преимущества барабанных ЭПС в сравнении с другими ЭПС непрерывного действия состоят в том, что они имеют сравнительно высокие технико-экономические показатели из-за отсутствия затрат теплоты на нагрев вспомогательных транспортных средств; легко встраиваются в автоматические и поточные линии; не требуют каких-либо дополнительных транспортных приспособлений; легко герметизируются и тем самым приспособлены для использования их с контролируемыми атмосферами; в этих ЭПС обеспечивается высокое качество термообработки, так как благодаря непрерывному перемешиванию все детали находятся в одинаковых температурных условиях.
| |
| Рис. 4.36. Барабанная электропечь с контролируемой атмосферой: 1 — механизм загрузки; 2 — загрузочный патрубок; 3 — нагреватели; 4 — кожух; 5 — крышка; 6 — муфель; 7 — футеровка; 8 — привод муфеля; 9 — закалочный бак; 10 — газоподвод; 11 — воздухоподвод; 12 — зонт; 13 — разгрузочная воронка; 14 — свеча |
Недостатками этих ЭПС являются сравнительно низкая производительность, обусловленная невозможностью обеспечения полного заполнения барабана, а также ограниченная длина барабана. Кроме того, в этих ЭПС имеется повышенный расход дорогих дефицитных жароупорных сталей.
Нагреваемые в барабанных ЭПС изделия не должны быть тонкостенными и сложной формы, так как при транспортировке изделий через печь на них могут появиться забоины и вмятины.
Эти ЭПС наиболее целесообразно применять в условиях массового и крупносерийного производства, например при термообработке шариков, роликов, гаек, колец, осей и т.д.
Максимальная рабочая температура барабанных ЭПC 1000°С, она ограничена работоспособностью металлического муфеля.
Барабанные ЭПС, как правило, имеют съемные своды. При использовании этих ЭПС с контролируемыми атмосферами применяются герметичные загрузочные и разгрузочные устройства. В этом случае муфели имеют центральную трубу, к которой примыкают витки ребер, — это обеспечивает проход газа через все витки муфеля. Имеются ЭПС, в печном пространстве которых расположены два муфеля.
Барабанные ЭПС используются в поточных линиях для комплексной обработки изделий. Так, широкое применение нашли закалочно-отпускные и цементационно-закалочно-отпускные агрегаты.
В России и странах СНГ производятся барабанные ЭПС для термической и химико-термической обработки деталей, а также для нагрева сыпучих материалов на температуры от 200 до 1000°С, мощностью от 10 до 500 кВт, диаметром рабочего пространства от 400 до 1600 мм и длиной муфеля от 1,2 до 10 м.
Протяжные электропечи (рис. 4.37) предназначены для нагрева проволоки, ленты, тонкого листа, труб большой протяженности. В процессе обработки нагреваемый металл непрерывно протягивается через печь с помощью размоточно-намоточных механизмов.
Преимуществом протяжных ЭПС является высокая равномерность нагрева и как следствие этого — высокое качество обработки в сравнении с нагревом в бухтах или рулонах. Недостатком этих ЭПС является их сравнительно большая длина.
Протяжные ЭПС бывают горизонтальные и вертикальные.
|
| Рис. 4.37. Протяжная электропечь для термообработки проволоки: 1 — ролики; 2 — футеровка; 3 — муфель; 4 — нагреватели; 5 — крышка; 6 — кожух электропечи с ручьевым подом |
В целях получения более высокой производительности электропечей и сокращения их длины ЭПС делаются многорядными, т. е. через одну печную камеру протягивается одновременно несколько рядов проволоки, ленты или труб. Для увеличения рядности ЭПС выполняются многоэтажными — с печными камерами, расположенными одна над другой. Кроме того, используется также многократное прохождение проволоки или ленты (многоходность) через одну или несколько рядом стоящих ЭПС.
Кроме термообработки проволоки, ленты и других изделий из черных и цветных металлов протяжные ЭПС нашли весьма широкое применение для сушки и полимеризации лаков или пластмасс.
Особым видом протяжных ЭПС являются башенные печи. Они применяются для термообработки при большей производительности сравнительно с горизонтальными печами. Скорость движения ленты в таких ЭПС достигает 10 м/с при ширине ленты до 1 м.
Для исключения остаточных деформаций в ленте диаметр ролика, который огибает лента, должен быть в 800 — 1000 раз больше толщины ленты в холодном состоянии и в 600 — 700 раз в горячем. Тем самым ограничивается толщина обрабатываемой ленты (она не превышает в реальных печах 2 мм).
Для обеспечения нормального прохождения проволоки ленты, труб через горизонтальную протяжную печь на практике часто используют направляющие трубы (в случае обработки проволоки или труб) или муфели (в случае обработки ленты). Направляющие трубы или муфели рас положены в печном пространстве, и через них протягиваются обрабатываемые изделия. Наличие направляющих труб и муфелей облегчает использование протяжных ЭПС с контролируемыми атмосферами.
В России и странах СНГ серийно выпускается ряд протяжных электропечей: для термообработки проволоки — горизонтальные печи на температуры 950, 1150 и 1300°С мощностью от 100 до 500 кВт и длиной до 20 м, в которых обрабатывается проволока диаметром от 0,2 до 6 мм (одновременно нагревается до 24 проволок); для термообработки ленты - горизонтальные ЭПС на 650, 950, 1150 и 1300°С мощностью до 400 кВт и длиной до 25 м, в которых обрабатывается лента толщиной от 0,1 до 5 мм; для эмалирования медной и алюминиевой проволок и лент — вертикальные ЭПС на температуру до 600°С мощностью до 130 кВт, в которых эмалируются проволока диаметром от 0,02 до 3,5 мм и ленты сечением до 500 мм2 (одновременно нагревается до 28 проволок, каждая проволока проходит через печь до 10 раз).
| Ручьевые электропечи (рис. 4.38) предназначаются в основном для закалки стальных изделий массового производства, например колец подшипников, втулок, звеньев траков и т. п. |
|
| Рис. 4.38. Схема электропечи с ручьевым подом |
Основным преимуществом ручьевых ЭПС является отсутствие затрат теплоты на нагрев вспомогательных транспортирующих устройств; возможность поштучной механизированной выдачи изделий из печи, что позволяет согласовать работу ЭПС с подачей на закалочные прессы. Вследствие простой конструкции эти ЭПС весьма надежны в эксплуатации.
Недостатками ручьевых ЭПС являются возможность использования их только для изделий цилиндрической формы с размерами, соответствующими размерам ручья подовой плиты, а также трудности в освобождении печной камеры от обрабатываемых изделий при прекращении подачи их к ЭПС или остановках в работе. Как правило, освобождение производится специальными балластными деталями. Изделия в этих ЭПС располагаются в ручьях (желобах) подовой плиты и передвигаются (перекатываются) в них через рабочее пространство под действием толкающего механизма.
Привод ручьевых ЭПС бывает гидравлическим и электромеханическим.
Под электропечи выполняется из металла или керамики. Он бывает в виде труб, плит с желобами, направляющих рельсов, что определяется геометрией обрабатываемых изделий. Как правило, электропечи бывают многоручьевыми.
В России и странах СНГ освоено производство ручьевых ЭПС на температуру 850°С мощностью до 200 кВт с 8 и 12ручьями в одной печи.
Туннельные электропечи. Главным преимуществом туннельных ЭПС (рис. 4.39) является то, что их металлоконструкции (ходовая часть тележек и рельсы) отделены футеровкой тележки от рабочей камеры печи (зоны наибольших температур). Кроме того, эти ЭПС могут иметь весьма большую производительность.
|
| Рис. 4.39. Схема туннельной электропечи |
Недостатком этих ЭПС является наличие футерованных тележек, которые обладают большой массой и, следовательно, требуют больших затрат на их нагрев; для возврата тележек требуются специальные механизмы и площади. Кроме того, частые нагревы и охлаждения тележек приводят к растрескиванию их футеровки и преждевременному выходу из строя.
Туннельные ЭПС бывают однорядными и многорядными. Применяются они в основном в огнеупорной промышленности для обжига керамики до 1300°С, хотя в отдельных слу чаях используются для сушки при температуре до 300°С сварочных электродов.
Для улучшения технико-экономических показателей этих ЭПС используется рекуперация теплоты. Так, в трехрядных ЭПС в крайних рядах загрузки перемещаются в направлении, противоположном движению в центральном ряду. Начальная стадия нагрева загрузки происходит в крайних рядах, конечная — в центральном. В этом случае часть теплоты от изделий, находящихся в центральном ряду, передается изделиям, находящимся в крайних рядах. При этом одновременно упрощается передача тележек oт выхода их из электропечи к входу. Темп перемещения тележек в крайних рядах в 2 раза меньше, чем в центральном.
Дата добавления: 2015-07-30; просмотров: 1200;
