Добыча нефти и газа. Насосная эксплуатация скважин.
Все известные способы эксплуатации скважин подразделяются на следующие группы:
1) фонтанный, когда нефть извлекается из скважин самоизливом;
2) компрессорный (газлифтный) - с помощью энергии сжатого газа, вводимого в скважину извне;
3) насосный - извлечение нефти с помощью насосов различных типов.
Выбор способа эксплуатации нефтяных скважин зависит от величины пластового давления и глубины залегания пласта. Статистика по используемым способам эксплуатации скважин в России показана в табл. 24.
Таблица 24 Статистика по используемым способам эксплуатации скважин в России
| Способ эксплу атации | Число скважин, % | Средний дебит, т/сут | Добыча, % от общей | ||
| нефти | жидкости | нефти | жидкости | ||
| Фонтанный | 4,0 | 31,1 | 51,9 | 19,5 | 9,3 |
| Газлифтный | 1,1 | 35,4 | 154,7 | 11,6 | 14,6 |
| УЭЦН | 48,9 | 28,5 | 118,4 | 52,8 | 63,0 |
| ШСН | 44,1 | 3,9 | 11,0 | 16,1 | 13,1 |
| Прочие | 1,9 | - | - | - | - |
Примечание: ШСН – штанговые скважинные насосы;
УЭЦН – установки центробежных электронасосов
При насосном способе эксплуатации подъем нефти из скважин на поверхность осуществляется штанговыми и бесштанговыми насосами.
Наиболее распространенным способом добычи нефти в нашей стране является эксплуатация нефтяных скважин штанговыми насосами с приводом от станков-качалок (СКН). Около 70% действующего фонда нефтяных скважин в нашей стране эксплуатируются глубинными насосами, которыми добывается более 30% от общего объема добычи нефти. Этому способствует простота оборудования и его обслуживание, небольшие затраты на обустройство скважин, что позволяет с высокими экономическими показателями эксплуатировать скважины с дебитами от нескольких килограммов до нескольких десятков тонн нефти в сутки. Штанговыми глубинными насосами можно добывать нефть с глубины до 3000 метров. В основном глубинно-насосную эксплуатацию применяют в среднедебитных (до 30-40 т/сут) и малодебитных (до 1 т/сут) нефтяных скважинах. Глубинный штанговый насос представляет собой плунжерный насос специальной конструкции. Привод насоса осуществляется с поверхности через колонну штанг. Поэтому такие насосы называются глубинными штанговыми насосами. Штанговые скважинные насосы предназначены для откачивания из нефтяных скважин жидкостей с температурой не более 130 °С, обводненностью не более 99 % по объему, вязкостью до 0,3 Па-с, минерализацией воды до 10 г/л, содержанием механических примесей до 3,5 г/л, свободного газа на приеме не более 25 %, сероводорода не более 50 мг/л и концентрацией ионов водорода рН 4,2-8,0.
Стандарт предусматривает выпуск двух схем штанговых насосов: вставных и невставных. Основное принципиальное их отличие в том, что цилиндр невставного насоса встроен в колонну НКТ и для замены насоса необходим подъем колонны НКТ. Вставной насос опускается в трубы НКТ на штангах и крепится в нужном месте колонны с помощью специального в глубоких скважинах. При эксплуатации скважины штанговыми насосами к добываемой нефти не предъявляются строгие требования, которые имеют место при других способах эксплуатации. Штанговые насосы могут качать нефть, характеризующуюся наличием механических примесей, высоким газовым фактором и так далее. Скважинные насосы по ОСТ 26-16-06-86 выпускают следующих типов: НВ1 вставной с замком наверху, НВ2 вставной с замком внизу, НН невставной без ловителя, НН1 невставной с захватным штоком, НН2 невставной с ловителем К тому же, данный способ эксплуатации отличается высоким КПД.
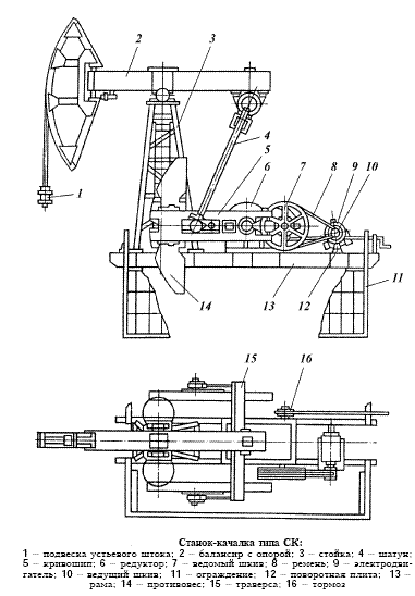
Станок-качалка и есть один из элементов эксплуатации скважин штанговым насосом. По сути, станок-качалка является приводом штангового насоса, расположенного на дне скважины. Это устройство по принципу действия очень похоже на ручной насос велосипеда, преобразующий возвратно-поступательные движения в поток воздуха. Нефтяной насос возвратно-поступательные движения от станка-качалки преобразует в поток жидкости, которая по насосно-компрессорным трубам (НКТ) поступает на поверхность.
Если по порядку описать происходящие процессы при данном виде эксплуатации, то получится следующее. На электродвигатель станка-качалки подается электричество. Двигатель вращает механизмы станка-качалки так, что балансир станка начинает двигаться как качели и подвеска устьевого штока получает возвратно-поступательные движения. Энергия передается через штанги – длинные стальные стержни, скрученные между собой специальными муфтами. От штанг энергия передается штанговому насосу, который захватывает нефть и подает ее наверх.
При эксплуатации скважины штанговыми насосами к добываемой Штанговая насосная установка (рис.29) состоит из глубинного плунжерного насоса 1, который спускается на НКТ 4 в скважину под динамический уровень, и станка-качалки, устанавливаемого на устье скважины, а также устьевого оборудования, состоящего из тройника с сальником и планшайбы. В скважину на штангах 3 спускается плунжер насоса 2.
Верхняя штанга называется полированным штоком, который проходит через сальник 6 и соединяется с головкой балансира станка-качалки 7 с помощью траверсы и гибкой канатной подвески. Станок-качалка приводится в действие от электродвигателя через систему передач.
Вращение электродвигателя 11 станка-качалки при помощи редуктора 12, кривошипа 10 и шатуна 9 преобразуется в возвратно-поступательное движения балансира 8, передаваемое плунжеру насоса 2 через колонну штанг 3. На устье скважины устанавливается тройник 5, в который поступает нефть со скважины. В верхней части тройника имеется сальниковое устройство, через которое пропущена верхняя штанга (полированный шток), и которое служит для герметизации устья и недопущения разлива нефти во время работы насосной установки.

Рис.39.Штанговая насосная установка
Станок-качалка - это балансирный индивидуальный механический привод штангового скважинного насоса.
Станки-качалки, в основном выпускаются в двух исполнениях: СК и СКД, различающихся рядом конструктивных деталей. В шифре их типоразмера указываются важнейшие характеристики привода. Например, обозначение СК3-1,2-630означает: СК-вариант исполнения; 3-грузоподъемность в тоннах; 1,2 - максимальная длина хода головки балансира в метрах; 630 - наибольший крутящий момент на валу редуктора в кНм. Конструкция станков-качалок постоянно совершенствуется. На рисунке 30 показан станок-качалка типа СК.Так на базе станков-качалок СК- 6 и СКД - 8 на заводе «Ижнефтемаш» ПНШ 60 - 2,1 - 25 и ПНШ 80 - 3 - 40, которые имеют широкий диапазон выбора числа качаний и мощностей устанавливаемых двигателей, что позволяет обеспечивать оптимальные эксплуатационные условия добычи нефти при минимальных расходах электроэнергии. Самый распространенный станок-качалка типа СК показан на рис.19. В В России изготавливаются станки-качалки 13 типоразмеров по ГОСТ 5688-76. Штанговые насосы производят ОАО «Элкамнефтемаш» г.Пермь и ОАО «Ижнефтемаш» г.Ижевск. За рубежом станки-качалки обычной конструкции производятся по спецификации НЕ стандарта АНИ. Диапазон показателей: грузоподъемность 2-20 т; длина хода 0,5-6,0 м; крутящий момент до 12000 кг-м. В России наиболее известны фирмы "Lufkin" (США), "Industrial СА" (Румыния).
Кроме того, для механизированной эксплуатации специалистами ОАО «Ижнефтемаш» и подразделением ОАО «Татнефть» - ТатНИПИнефть разработан безбалансирный длиноходовой привод штанговых установок. Их устанавливают преимущественно на скважинах, эксплуатация которых осложнена высокой вязкостью нефти и образованием водонефтяной эмульсии, отложениями солей и парафинов на глубинно-насосном оборудовании. Помимо этого безбалансирные цепные приводы показывают хорошие результаты на скважинах малого диаметра и с дополнительными эксплуатационными колоннами, а также в скважинах, работающих в режимах периодической откачки. Кроме этого помимо снижения металлоемкости цепные приводы приводят к сокращению количества подземных ремонтов и экономии энергопотребления. В 2000 году был изготовлен опытный образец ПЦ-60 с трехметровой длиной хода штанг. Серийное производство началось через три года - после получения сертификата соответствия и разрешения Ростехнадзора. Следом появился опытный образец ПЦ-80 с длиной хода 6 метров, с 2006-го он выпускается серийно. Кроме того, выпускаются модификации с длиной хода 7,3 метра, ПЦ-60 облегченного варианта с открытой цепной передачей, а также ПЦ-40 с длиной хода 2,1 метра, который предназначен для малодебитных скважин.
Наибольшее распространение получила модель ПЦ-60 (рис.31). Она имеет следующие особенности, по сравнению с остальными:
- Малая частота качаний;
- Благоприятный режим движения штанг (с равномерной скоростью на большей части хода);
- Сокращение металлоемкости в 1,4 - 2 раза;
- Снижение габаритов привода скважинного штангового насоса.
Преимущества:
- Снижение сил гидродинамического сопротивления в подземной части УСШН в 1,7 раза;
- Возможность эксплуатации малодебитных скважин в непрерывном режиме;
- Экономия удельных энергозатрат на подъем продукции в 1,3-4 раза;
- Повышение коэффициента использования мощности в среднем на 50%;
- Снижение динамических нагрузок, увеличение срока службы скважинного оборудования;
- Снижение затрат на монтаж и обслуживание.

Рис.40 Станок-качалка типа СК
|
Рис.41 Привод цепной скважинного штангового насоса
ЦП 60-18-3-0,5/2,5
Штанговые глубинные насосы имеют некоторые недостатки (недостаточно высокая производительность, необходимость установки громоздкого оборудования, опасность обрыва штанг при большой глубине скважин) поэтому на практике применяют различные виды бесштанговых насосов. Отличительная черта бесштанговых насосных установок - перенос двигателя непосредственно к насосу и устранение штанг. Наиболее широко распространены погружные центробежные электронасосы (ЭЦН).
Вштанговой скважинно-насосной установке наиболее ответственное и слабое звено — колонна насосных штанг. В связи с этим разработаны насосные установки новых типов с переносом привода (первичного двигателя) в скважину к насосу. К ним относятся установки погружных центробежных и винтовых электронасосов.
Дата добавления: 2015-07-22; просмотров: 2863;
