Шестеренчасті насоси і гідромотори
Характерною особливістю шестеренчастих гідромашин є простота їх конструкції, незначні габарити і вага. Частіше вони використовуються як насоси і менш як гідромотори.

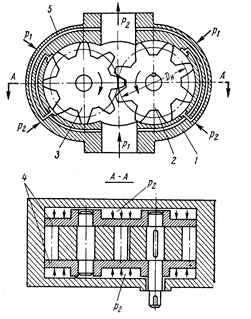
Рис. 9.16. Шестеренчаста гідромашина: 1 – корпус; 2 – ведуча шестерня; 3 – ведена шестерня; 4 – торцеві диски; 5 – розвантажувальні канали
Найбільш поширений насос (рис.9.16) із зовнішнім зачепленням складається із корпуса 1, де з невеликими торцевими і радіальними зазорами знаходяться зачеплені дві однакові шестерні, з яких 2 – ведуча і 3 – ведена. При обертанні шестерень, коли зуби виходять із западин, відбувається всмоктування рідини. Далі рідина, яка заповнила западини, переноситься по зовнішній дузі в напрямі обертання шестерень. Коли зуби входять в западини, об’єм камери зменшується і рідина витискується в нагнітальну лінію.
Процес подачі рідини шестеренчастим насосом складний порівняно з насосом інших конструкцій. Тому розрахункові формули для визначення подачі насоса або витрати рідини гідромотором дають похибку від 5 до 30 %.
Середнє значення подачі насоса (витрата рідини гідромотором) підраховують за формулою:
| (9.42) |
в якій n – частота обертання шестерні, b – ширина шестерні, m – модуль зачеплення, z – число зубів ведучої шестерні.
Ця формула для поширених конструкцій з кількістю зубів 8...15 і з точністю 2...3% характеризує середню розрахункову подачу (витрату).
Розрахункове значення крутного моменту знаходять за формулою:
| (9.43) |
де
– перепад тиску, що спрацьовується в гідромоторі.
Розрахункова потужність насоса чи гідромотора :
| (9.44) |
У шестеренчастій гідромашині головну частину потужності, що втрачається, складають втрати на тертя. В середньому приймають 
Дата добавления: 2015-08-26; просмотров: 841;
