Картоплеочисні машини безперервної дії
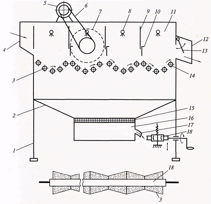
Будову картоплеочисних машин безперервної дії розглянемо на прикладі машини КНА – 600М (рис. 3.5), яку використовують у великих закладах ресторанного господарства або в спеціалізованих цехах з очищення картоплі, а також в поточних лініях. Машина складається з прямокутної робочої камери, завантажувального пристрою, розвантажувального лотка, робочих органів (абразивних роликів), електродвигуна з передаточним механізмом, колектора для подачі води, ванни.
Прямокутна робоча камера машини розділена трьома перегородками 9 на чотири секції 11. Робочими органами є обертові абразивні ролики 3, встановлені по 12 штук на валку 14. Ролики мають форму зрізаних конусів і суміщаються на стержні однаковими діаметрами, що забезпечує високу поверхню контакту бульб з абразивною поверхнею роликів. Для проходження картоплі по секціям в перегородках передбачено отвори, ширина яких регулюється заслінками 10. Отвори розміщено на протилежних сторонах перегородок. Валки розташовані по всій ширині робочої камери і обертаються в напрямку розвантажувального лотка 12. В другій секції міститься шість валків, а в інших – по п'ять.
| Рис. 3.5 Принципова схема картоплеочисної машини КНА – 600М 1 – рама; 2 – ванна; 3 – ролик; 4 – завантажувальний отвір; 5 - електродвигун; 6 – клинопасова передача; 7 – циліндричне колесо; 8 – колектор; 9 – перегородка; 10 – заслінка; 11 – секція робочої камера; 12 – розвантажувальний люк; 13 – поворотна заслінка; 14 – валок; 15 – сітка; 16 – відстійник для крохмалю; 17 – зливний патрубок; 18 – регулювальний механізм |
Валки приводяться в рух від електродвигуна 5 через клинопасову передачу 6 і систему зубчатих циліндричних передач 7. Для безпечної роботи клинопасова передача закрита запобіжним щитком. Натяг ременів здійснюється шляхом пересування двигуна по спеціальним направляючим.
В кожну секцію робочої камери через колектор 8 подається вода, яка змиває очищену мезгу, після чого проходить між роликами у ванну 2, а звідти крізь сітку у відстійник для крохмалю.
Час оброблення продукту залежить від сорту, терміну зберігання і стану абразивної поверхні роликів. Швидкість проходження бульб в робочій камері можна збільшити або зменшити змінюючи розмір отворів в перегородках, а також шляхом нахилу корпуса машини за допомогою черв'ячного механізма 17.
Дата добавления: 2015-08-26; просмотров: 1596;
