Колонны
Сетка колонн одноэтажных каркасных зданий с мостовыми кранами в зависимости от технологии производственного процесса может быть 12×18, 12×24, 12×30 м или 6×18, 6×24, 6×30 м. Шаг колонн принимают преимущественно 12 м; если при этом шаге используются стеновые панели длиной 6 м, то по наружным осям кроме основных колонн устанавливают промежуточные (фахверковые) колонны. При шаге колонн 12 м возможен шаг ригелей 6 м с использованием в качестве промежуточной опоры подстропильной фермы (рис.3).

Рис. 1. Одноэтажное промышленное здание с мостовыми кранами:
а - конструктивный поперечный разрез; б - расчетная схема поперечной рамы; в - расчетная схема продольной рамы

Рис.2. Одноэтажные промышленное здания с плоским покрытием:
1 - длинномерные плиты покрытия; 2 - продольные балки
Лучшие технико-экономические показатели по трудоемкости и стоимости достигаются в сборных железобетонных покрытиях при шаге колонн 12 м без подстропильных ферм.
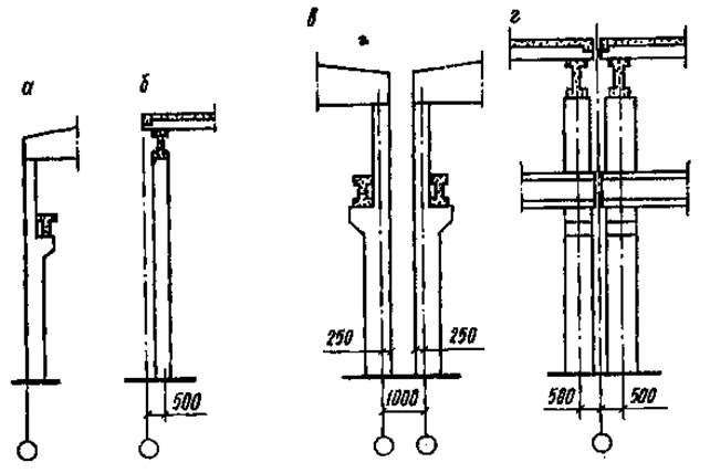
В целях сохранения однотипности элементов покрытия колонны крайнего ряда располагают так, чтобы разбивочная ось ряда проходила на расстоянии 250 мм от наружной грани колонны (рис.4.). Колонны крайнего ряда при шаге 6 м и кранах грузоподъемностью до 30 т располагают с нулевой привязкой, совмещая ось ряда с наружной гранью колонны (рис.5, а). Колонны торцов здания смещают с поперечной разбивочной оси на 500 мм (рис.5,б). При большой протяженности в поперечном и продольном направлениях здание делят температурными швами на отдельные блоки.

Рис.3. Конструктивные схемы здания при шаге колонн:
а – 6м с подстропильными фермами; б - 12м без подстропильных ферм

Рис.4. Привязка элементов конструкций к разбивочным осям на поперечном разрезе
Продольный температурный шов выполняют, как правило, на спаренных колоннах со вставкой (рис.4, в), при этом колонны у температурного шва имеют привязку к продольным разбивочным осям 250 мм (или нулевую при 6м). Поперечный температурный шов также выполняют на спаренных колоннах, но при этом ось температурного шва совмещается с поперечной разбивочной осью, а оси колонн смещаются с разбивочной оси на 500 мм (рис.5, г).

Рис.5. Компоновочные схемы привязки к разбивочным осям колонн:
а - крайнего ряда при шаге 6 м; б - в торце здания; в - у продольного температурного шва;
г - у поперечного температурного шва
Расстояние от разбивочной оси ряда до оси подкрановой балки при мостовых кранах грузоподъемностью до 50 т принято λ=750 мм (см. рис.3). Это расстояние складывается из габаритного размера крана В, размера сечения колонны в надкрановой части
и требуемого зазора С между габаритом крана и колонной. На крайней колонне λ =
( в мм ).
Колонны каркасного здания могут быть сплошными прямоугольного сечения или сквозными двухветвевыми (рис.6).При выборе конструкции колонны следует учитывать грузоподъемность мостового крана и высоту здания. Сплошные колонны принимают при кранах грузоподъемностью до 30 т и относительно небольшой высоте здания; сквозные колонны - при кранах грузоподъемностью 30 т и больше и высоте здания более 12м. Размеры сечения колонны в надкрановой части назначают с учетом опирания ригелей непосредственно на торец колонны без устройства специальных консолей. Высоту сечения принимают: для средних колонн h2=500 или 600 мм, для крайних колонн h2=380 или 600 мм; ширина сечения средних и крайних колонн b=400...600 мм (большие размеры сечения колонны принимают при шаге 12 м). Размеры сечения сплошных колонн в нижней подкрановой части устанавливают преимущественно по несущей способности и из условий достаточной жесткости с тем, чтобы при горизонтальных перемещениях колонн в плоскости поперечной рамы не происходило заклинивания моста крана. По опыту эксплуатации производственных зданий с мостовыми кранами принято считать жесткость колонн достаточной, если высота сечения
=(1/10...1/14)
.

Рис.6. Колонны одноэтажного здания:
а – сплошного прямоугольного сечения; б - сквозные двухветвевые
Сквозные колонны имеют в нижней подкрановой части две ветви, соединенные короткими распорками-ригелями. Для средних колонн, в нижней подкрановой части допускают смещение оси ветви с оси подкрановой балки и принимают высоту всего сечения h1=1200...1600 мм, а для крайних колонн - h1=1000...1300 мм. При этом высота сечения ветви h=250 или 300 мм и ширина b=500 или 600 мм. Кроме того, b= (1/25...1/30)H.
Расстояние между осями распорок принимают (8...10)h. Распорки размещают так, чтобы размер от уровня пола до низа первой надземной распорки составлял не менее 1,8 м и между ветвями обеспечивался удобный проход. Нижнюю распорку располагают ниже уровня пола. Высоту сечения распорки принимают (1,5...2)h, а ширину - равной ширине сечения ветви.
Соединение двухветвевой колонны с фундаментом осуществляют в одном общем стакане или же в двух отдельных стаканах; во втором соединении объем укладываемого на монтаже бетона уменьшается (рис.7). Глубину заделки колонны в стакане фундамента принимают равной большему из двух размеров:
или
.
Кроме того, глубина заделки колонны должна быть проверена из условия достаточной анкеровки Продольной рабочей арматуры. Если в одной из ветвей колонны возникает растягивающее усилие, соединение колонны с бетоном замоноличивания выполняют на шпонках.

Рис.7. Конструкции соединения двухветвевой колонны с фундаментом:
а - в одном общем стакане; б - в двух отдельных стаканах; в - при устройстве шпонок;
1 - бетон замоноличивания; 2 – колонна
Колонны обычно изготовляют в виде одного цельного элемента. Членение их на части, по высоте для уменьшения веса монтажных элементов связано с затруднениями в устройстве стыков, а потому осуществляется редко. Примеры армирования сплошных и двухветвевых колонн приведены на (рис. 8); средние колонны, испытывающие действие моментов двух знаков, армируются симметрично. Для колонн применяют бетоны классов В15...ВЗ0.
Дата добавления: 2015-08-21; просмотров: 2520;
