Некоторые схемы центральных систем кондиционирования воздуха (ЦСКВ).
Кондиционирование воздуха — автоматическое поддержание в закрытых помещениях всех или отдельных его параметров (температуры, относительной влажности, чистоты, подвижности) на определенном уровне для обеспечения главным образом оптимальных метеорологических условий, наиболее благоприятных для самочувствия людей, ведения технологического процесса и обеспечения сохранности оборудования, материалов и др.
Кондиционирование воздуха осуществляется системой кондиционирования воздуха (СКВ), т. е. комплексом технических средств и устройств для приготовления приточного воздуха с заданными автоматическими регулируемыми параметрами в целях поддержания в помещениях требуемого состояния воздуха независимо от изменения режима поступления вредных выделений и состояния наружного воздуха. Такая система в отличие от вентиляционной обеспечивает не только смену воздуха в помещении по принципу общеобменной вентиляции, но и автоматически поддерживает необходимые метеорологические условия в нем независимо от времени года и переменных поступлений теплоты и влаги в помещение. Система кондиционирования может обеспечить чистоту воздуха в помещении, его газовый состав, ароматические запахи, содержание легких ионов, а в ряде случаев определенное давление воздуха.
В СКВ входит оборудование для всевозможных процессов обработки воздуха, его перемещения и распределения, источники тепло- и холодоснабжения, средства автоматического регулирования, дистанционного управления и контроля, насосы и трубопроводы для тепло- и холодоснабжения, местные доводчики (подогреватели, охладители и увлажнители), электрооборудование.
Основное оборудование для приготовления и перемещения воздуха обычно агрегируется в аппарат, называемый кондиционером. По назначению СКВ подразделяют на системы комфортного и технологического кондиционирования. Комфортное кондиционирование применяют для создания и автоматического поддержания метеорологических условий и чистоты воздуха, установленных для помещений жилых, общественных и вспомогательных зданий предприятий. Технологическое кондиционирование применяют для обеспечения параметров воздуха, в максимальной степени отвечающих требованиям производства продукции, проведения технологических операций, хранения оборудования, техники, материалов и т. п. Технологическое кондиционирование воздуха в помещениях, где находятся люди, осуществляют с учетом санитарно-гигиенических требований.
Системы комфортного и технологического кондиционирования в зависимости от расположения кондиционеров по отношению к обслуживаемым помещениям делят на центральные и местные. Центральными называются СКВ, обслуживающие несколько помещений из одного центра, внешнего по отношению к обслуживаемым помещениям. Приготовленный в центральном кондиционере воздух подается в обслуживаемые помещения по сети воздуховодов.
СКВ, кондиционеры которых установлены в обслуживаемых помещениях, называются местными. С помощью таких систем обеспечивается кондиционирование воздуха только для помещения, в котором располагается кондиционер.
По способу тепло- и холодоснабжения кондиционеров системы кондиционирования воздуха подразделяют на неавтономные и автономные. Кондиционеры неавтономных СКВ снабжаются теплотой (доставляемой горячей водой или паром) и холодом (доставляемым холодной водой или рассолом) от внешних источников. Кондиционеры автономных СКВ (автономные кондиционеры) имеют встроенные агрегаты, являющиеся источниками теплоты (электронагреватели) и холода (холодильные машины). Центральные СКВ, получившие наибольшее распространение, имеют неавтономные кондиционеры. Местные СКВ могут иметь неавтономные и автономные кондиционеры. Во всех случаях кондиционеры снабжаются электроэнергией для привода вентиляторов и насосов от внешних источников.
По степени использования наружного воздуха центральные СКВ подразделяют на прямоточные, рециркуляционные и с частичной рециркуляцией.
В прямоточных СКВ, принципиальная схема которых представлена на рис. 5.29, используется только наружный воздух. Эти системы забирают наружный воздух, обрабатывают его до необходимых параметров и подают в обслуживаемые помещения. Из помещений воздух удаляется системами вытяжной вентиляции.
Прямоточные СКВ применяют для помещений, в которых выделяются токсичные пары и газы, пыль и содержатся болезнетворные микроорганизмы, исключающие повторное использование удаляемого из помещения воздуха. Такие же системы применяют для помещений, в воздухе которых содержатся резко выраженные неприятные запахи, а также для помещений с выделениями взрывоопасных и пожароопасных веществ.
В рециркуляционных (замкнутых) СКВ (рис. 5.30) многократно используется один и тот же воздух, который забирается из помещения, подвергается в кондиционере необходимой обработке и снова подается в помещение. Таким образом осуществляется полная рециркуляция воздуха. Рециркуляционные системы применяют для помещений, в которых образуются только тепло и влагоизбытки и в которых отсутствуют выделения вредных паров, газов и пыли.
Если в воздух помещений поступают вредные пары, газы и пыль, то применять СКВ с полной рециркуляцией можно лишь при включении в комплект устройств по обработке воздуха, специальных аппаратов для очистки воздуха от вредных примесей, что весьма усложняет системы и обычно экономически нецелесообразно. К такому решению прибегают тогда, когда нельзя использовать наружный воздух.

Рис.5.29 Принципиальная схема центральной прямоточной СКВ:
1- воздухоприемная камера; 2- центральный кондиционер; 3- приточный вентилятор.
В СКВ с полной рециркуляцией осуществляются только очистка воздуха от пыли и тепловлажностная обработка, поэтому такие СКВ применяют для кондиционирования воздуха в помещениях, в которых требуется поддержание температурно-влажностных параметров воздуха, а потребность в наружном воздухе отсутствует или удовлетворяется другими системами. К числу таких помещений относятся многие технологические помещения с тепловыделяющим оборудованием (залы вычислительных машин, радиоцентры и т. п.).
Наиболее распространенной является СКВ с частичной рециркуляцией, в которой используется смесь наружного и рециркуляционного воздуха (рис. 5.31). Такие системы применяют при условии, что воздух, используемый для рециркуляции, не содержит токсичных паров и газов, а расчетное количество вентиляционного воздуха для удаления избытков теплоты и влаги превышает количество наружного воздуха, которое должно подаваться в помещение для ассимиляции вредных паров и газов. Кроме того, использование рециркуляционного воздуха должно приближать температурно-влажностные параметры наружного воздуха к требуемым параметрам приточного воздуха.
СКВ с частичной рециркуляцией обычно предусматривается с подачей в помещения переменных объемов наружного и рециркуляционного воздуха в зависимости от параметров наружного воздуха. Однако количество наружного воздуха в смеси, подаваемой в помещение СКВ с частичной рециркуляцией, должно быть не меньше санитарной нормы.

Рис. 5.30. Принципиальная схема центральной рециркуляционной (замкнутой) СКВ:
1- вытяжной вентилятор; 2- воздухоприемная камера; 3- центральный кондиционер; 4- приточный вентилятор.
СКВ с частичной рециркуляцией являются наиболее гибкими: в зависимости от условий и состояния наружного воздуха они могут работать по прямоточной схеме, по схеме с частичной или полной рециркуляцией. В последнем случае при необходимости газовый состав воздуха по кислороду и углекислому газу в помещениях поддерживается иными средствами.
В системах с частичной рециркуляцией рециркуляционный воздух смешивается с наружным до или после камеры орошения. В первом случае система называется СКВ с первой рециркуляцией, во втором — СКВ со второй рециркуляцией. В воинских зданиях чаще применяют СКВ с первой рециркуляцией. Применение первой рециркуляции позволяет уменьшить расход теплоты на нагрев наружного воздуха в холодное время года и расход холода на охлаждение воздуха в теплое время.

Рис.5.31. Принципиальная схема однозональной центральной СКВ с частичной рециркуляцией:
1- воздухоприемная камера; 2- вытяжной вентилятор;3-воздуховыбросная шахта; 4- воздуховод вытяжной системы; 5 – приточный воздуховод; 6- вентилятор; 7- центральный кондиционер.
Центральные СКВ, принципиальные схемы которых представлены на рис. 5.22-5.31, являются однозональными и одноканальными. Приготовленный в центральном кондиционере таких систем воздух подается в помещения по одному воздуховоду без дополнительной обработки перед выпуском в помещения. Однозональные СКВ применяют для обслуживания одного или нескольких помещений с одинаковыми требуемыми параметрами воздуха.
Существуют и двухканальные СКВ, в которых воздух двух различных состояний подается в помещения по двум самостоятельным каналам. Требуемые параметры приточного воздуха достигают смешением воздуха перед подачей в помещение. Двухканальные СКВ в воинских зданиях не применяют.
Если требуется подавать в помещения воздух с различными параметрами, то применяют многозональные СКВ (рис. 5.32). В многозональных СКВ приточный воздух доводится в центральном кондиционере до определенных параметров, по воздуховодам подается к помещениям, а перед выдачей в помещения подвергается дополнительной обработке в тепломассообменных аппаратах. В местных доводчиках воздух доводится до параметров, требуемых для каждого помещения.
Многозональные СКВ могут быть прямоточными, рециркуляционными, с частичной рециркуляцией. Применение многозональных СКВ более экономично, чем устройства индивидуальных систем для каждого из обслуживаемых помещений. Однако эти системы могут поддерживать с заданной точностью только один из параметров воздуха: температуру или относительную влажность. Многозональные СКВ, применяемые для общественных зданий, обычно поддерживают температуру воздуха на заданном уровне, допуская отклонения относительной влажности от расчетных значений.

Рис. 5.32. Принципиальная схема многозональной СКВ:
1- воздухоприемная камера; 2- местный доводчик; 3- воздуховод; 4- вентилятор; 5- центральный кондиционер.
Центральные СКВ способны эффективно поддерживать в помещениях заданную температуру и относительную влажность воздуха. Оборудование, требующее систематического обслуживания, сосредоточено в малом количестве мест или даже в одном месте. Центральные СКВ имеют устройства эффективного шумо и виброгашения. К числу недостатков центральных систем относятся: трудоемкость строительно-монтажных работ по установке кондиционеров, прокладке воздуховодов и трубопроводов; осложнение акустической изоляции одних помещений от других при наличии разветвленной сети воздуховодов; менее гибкое регулирование температуры и влажности в отдельных помещениях.
Воздухозаборное устройство, воздуховоды, воздухораздаточные устройства центральных СКВ такие же, как в центральных системах вентиляции.
Современные центральные СКВ оборудуются неавтономными кондиционерами в секционном и агрегатном использовании. Наиболее распространенными в центральных СКВ являются секционные горизонтальные типовые кондиционеры с форсуночной камерой. В настоящее время такие кондиционеры выпускают производительностью по воздуху от 10 до 250 тыс. м3/ч.
Для всех типовых секций определенной номинальной производительности присоединительные размеры одинаковы. Это дает возможность собирать секции в такой последовательности, которая обусловлена выбранной технологической схемой обработки воздуха. Схема центрального секционного кондиционера представлена на рис. 5.33.
В состав центрального секционного кондиционера в общем случае входят рабочие секции (воздушный фильтр, воздухонагреватели первого и второго подогрева, воздухоохладители и камеры орошения, воздушные клапаны), а также камеры и секции корпуса кондиционера, необходимые для сборки и обслуживания рабочих секций (камеры присоединительные, смесительные, секции поворотные и др.). В центральном секционном кондиционере, представленном на рис. 5.33, воздух проходит через следующие секции.
Наружный воздух из воздухозаборного устройства поступает через открытый утепленный клапан в смесительную камеру. Как правило, клапан имеет пневматический или электрический привод, который через систему автоматического управления включается в схему пускателя электродвигателя вентилятора. При пуске вентилятора в работу привод открывает створки клапана, а при остановке — закрывает. Через регулирующий клапан поступает в смесительную камеру рециркуляционный воздух. Рециркуляционный и наружный воздух перемещается в смесительной камере, получившаяся смесь воздуха проходит далее через воздушный фильтр, предназначенный для очистки воздуха от пыли. Доступ для ревизии и обслуживания фильтра осуществляется через дверки в воздушных камерах.

Рис. 5.33. Центральный секционный кондиционер типа Кр:
1- смесительная камера;
2- утепленный клапан;
3- регулирующий клапан;
4- противопыльный фильтр;
5- воздушная камера;
6- секция первого подогрева;
7- форсуночная камера;
8- секция второго подогрева;
9- переходная секция;
10- вентилятор;
11- опоры.
Из фильтра через воздушную камеру воздух поступает в теплообменники секции первого подогрева, в которых при необходимости воздух нагревается до требуемой температуры. Нагрев воздуха регулируется изменением температуры и расхода горячей воды, поступающей в теплообменники. Если в кондиционере используют теплообменники, обогреваемые паром, то здесь предусмотрен обводной канал, расход воздуха через который регулируется секционным клапаном.
Из секции первого подогрева через воздушную камеру воздух поступает в камеру орошения, в которой подвергается увлажнению, осушке, охлаждению. Иногда вместо камеры орошения используют поверхностные воздухоохладители или другие устройства, способные охладить воздух и изменять его влагосодержание.
Далее воздух через воздушную камеру поступает к теплообменникам секции второго подогрева.
К фланцам последней по ходу воздуха воздушной камеры присоединена переходная секция, посредством которой воздушный тракт секций соединяется с всасывающим патрубком вентилятора. Для обеспечения горизонтальной связки и установки секций и камер служат опоры. Нагревательное отверстие вентилятора соединяется с приточным воздуховодом, по которому подготовленный в кондиционере воздух подается в помещения непосредственно или через местные доводчики.
Рассмотренный вариант центрального кондиционера соответствует СКВ с первой рециркуляцией, в которой рециркуляционный воздух смешивается с наружным до камеры орошения.
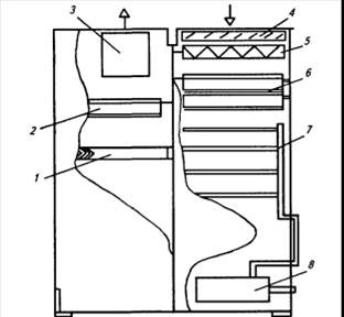
Неавтономные агрегатные кондиционеры номинальной производительностью по воздуху от 3,15 до 20,0 тыс. м3/ч поставляются заводом-изготовителем в собранном виде с комплексом приборов автоматического регулирования и управления. Кондиционеры имеют условный индекс КНБ (кондиционер неавтономный). Цифровое обозначение отвечает номинальной производительности по воздуху в тысячах кубических метров в час. Кондиционеры КНБ предназначены для круглогодичного поддержания в обслуживаемых помещениях заданных температуры и относительной влажности воздуха, необходимых по технологическим или санитарно-гигиеническим требованиям. Они могут работать как на одном наружном воздухе, так и с полной и частичной рециркуляцией воздуха. Кондиционеры могут применяться в системах кондиционирования с тепло- и холодоснабжением от центральных источников (ТЭЦ, центральная котельная, центральная холодильная станция, артскважина). Предельные значения температуры наружного воздуха, обрабатываемого в кондиционере, — от 40 до минус 45 °С и ниже. Кондиционеры оснащены электрической системой регулирования и обеспечивают автоматическое поддержание температуры воздуха в помещениях с точностью ±1 °С и относительной влажности с точностью ±7 %. Принципиальная схема агрегатного кондиционера КНБ-3,15 изображена на рис. 5.34.
Кондиционер КНБ-3,15 выполнен в виде шкафа, внутренний объем которого разделен на три основных блока: воздухообрабатывающий, вентиляторный и водяной. В воздухообрабатывающем блоке находятся: поворотный клапан для регулирования количества наружного и рециркуляционного воздуха, фильтр для очистки воздуха от пыли, калорифер первого подогрева, два ряда форсунок для разбрызгивания воды. В вентиляторном блоке размещены вентилятор с электродвигателем, калорифер второго подогрева, сепаратор для улавливания капель воды, один ряд форсунок для разбрызгивания воды. В водяном блоке размещены бак для воды, насос, фильтр для очистки воды, набираемой насосом, поплавковый клапан для поддержания постоянного уровня воды в баке. Воздух в кондиционере подготавливается последовательно: наружный воздух или смесь его с рециркуляционным очищается от пыли в воздушном фильтре, при необходимости подогревается в калорифере первого подогрева, охлаждается или увлажняется в камере орошения, нагревается в калорифере второго подогрева и далее вентилятором подается в помещения. Рециркуляционный воздух подмешивается к наружному до камеры орошения.

Рис. 5.34. Неавтономный кондиционер:
1-каплеотделитель; 2- воздухонагреватель второго подогрева; 3- вентагрегат; 4- клапан; 5- вентилятор противопыльный; 6-воздухонагреватель; 7- коллектор; 8- насос.
| <== предыдущая лекция | | | следующая лекция ==> |
| МЕТОДЫ ОХЛАЖДЕНИЯ И НАГРЕВАНИЯ, ОСУШЕНИЯ И УВЛАЖНЕНИЯ ВОЗДУХА, ИСПОЛЬЗУЕМЫЕ В ТЕХНИКЕ КОНДИЦИОНИРОВАНИЯ | | | ФОРСУНОЧНЫЕ КОНДИЦИОНЕРЫ |
Дата добавления: 2016-05-05; просмотров: 4993;
