Рельефа
h1,h2 - толщины слоев воздуха и пород, залегающих выше поверхности геоида
Измеренное значение силы тяжести gаном является частной производной от потенциала гравитационного поля в точке наблюдения:
gаном=
(1.7)
Параметр gнорм – представляет собой ускорение силы тяжести Земли, как сфероида малого сжатия. Последний описывается уровенной поверхностью, близкой к геоиду, который в свою очередь также является уровенной поверхностью свободной воды океанов.
Показатель gсв.возд. или gф (Фая) учитывается в гравиметрических измерениях как поправка за слой воздуха находящийся между точкой наблюдения и поверхностью геоида.
gф = 0,3086.h1 (1.8), где
h1 толщина слоя воздуха.
Параметр gб вводится в измеренные значения как поправка за промежуточный слой, который еще носит название поправки Буге. Поправка gб необходима в том случае если измерения производятся в точке, находящейся выше поверхности геоида и, следовательно, проявляется влияние толщи пород заключенных между поверхностью геоида и поверхностью рельефа (см. рис. 9).
gБ = -0,418
h2 (1.9), где
- средняя плотность, а h2 – толщина промежуточного слоя.
Поправка за рельеф
gр учитывается, если этот рельеф очень сложный, например в горной местности.
В конечном виде формула аномальной силы тяжести в редукции Буге включает разность значений наблюденного и теоретического полей и сумму поправок за свободный воздух, промежуточный слой и рельеф:
gб = gаном - gнорм + gф + gб + gр (1.10)
Как и любое геофизическое гравитационное поле может быть измерено путем специальных приборов. В основу их функционирования положено физическое явление притяжения. Следовательно, измерения могут быть выполнены путем маятниковых наблюдений, наблюдение процесса растягивания или кручения пружин, времени падения грузов. Эти измерения разделяются на относительные и абсолютные, среди которых преимущество получили первые, которые более легко реализуются в практике полевых гравиразведочных работ. Абсолютные же измерения требуют очень высокой точности и могут осуществляться только в специальных обсерваториях. Достаточно сказать, что для достижения точности в 0,1 мГал в маятниковых приборах необходимо определить длину маятника с точностью < 0,7 мкм, а время измерять с точностью сотых долей наносекунд (10-7с). Кроме того следует вводить поправки за свободный воздух, температуру и ход хронометра (колебания маятника).
В основу маятниковых приборов положена формула Гюйгенса:
(1.11), где
Т – период; l - длина
В методе свободного падения грузов используется формула:
, (1.12), где
S – высота падения груза, t – время падения груза.
Относительные измерения характеризуются тем, что ведутся по отношении к одной выбранной базовой точке, обычно привязанной к какому-либо триангуляционному пункту. Приборы для таких измерений носят название гравиметров. В отечественной практике их два основных вида:
1) Маятниковый;
2) Астазированый (на основе кручения упругой нити).
В основу маятниковых приборов положена та же формула, что и для абсолютных измерений. Отличие в том, что эти приборы используют в совокупном виде от двух до шести и более маятников. Этим за счет разностных колебаний каждой пары маятников, исключается необходимость учета длины этих маятников. То есть, при расчетах gi по формуле:
(1.13), где
(T1/2)o=√ℓ/go, а (T1/2)i=√ℓ/gi (1.14),
показатель ℓ уничтожается.
Маятниковые гравиметры эффективны при измерениях в движении, в частности на морских суднах.
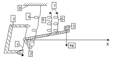
Основной тип гравиметров - это астазированные. Механизм их действия поясняется схемой на рис. 1.10.
Конструкция гравиметра помещается в сосуд Дюара, с тем, чтобы максимально снизить влияние температуры воздуха, влажности, ветровых воздействий и т.д. Работа системы осуществляется таким образом, что при размещении гравиметра в точке измерения на массу (m) главного рычага воздействует сила притяжения. Пропорционально ей изменяется угол . Этот, угол тарируется (размечается) делениями микрометрического винта. Последний регулирует действие измерительной пружины. При этом роль главной пружины заключается в поддержании равновестности рычажной системы. Диапазонная пружина предназначена для искусственного увеличения угла . Эта операция называется астазированием, что и предопределило название гравиметров. Астазированием достигают высокой точности измерений (до 0,01 мГал). Визуализация микрометрических меток осуществляется с помощью оптической системы.
Рис. 1.10. Схема механизма действия астазированных гравиметров
1 - упругая кварцевая нить, 2 - рамка крепления нити, 3 - главный рычаг с массой m, 3’ - дополнительный рычаг жестко связанный с главным, 4 - главная пружина, 5 - диапазонная пружина -,
6 - измерительная пружина, 7 - микрометрические винты, 8 - корпус прибора
К другим типам гравиметрических приборов относятся вариометры и градиентометры. Они измеряют вторые производные гравитационного потенциала. Их основа - крутильные весы (Рис.1. 11).

Рис.1.11. Схема устройства вариометров и градиентометров
1 - корпус прибора, 2 - упругая нить, 3 - ломаный рычаг,
4 - грузики массой m
Основные производные гравитационного потенциала Wxz и Wyz:
U//xz = ∂2U/∂x∂z = Wxz; (1.15)
U//yz = ∂2U/∂y∂z = Wyz (116)
Значения Wxz и Wyz позволяют определить пространственное расположение объектов с повышенной или пониженной избыточной плотностью.
Градиентометры отличаются от вариометров тем, что, во-первых, для них предусматривается жесткая фиксация, а во-вторых - непрерывное наблюдение во времени.
Плотность горных пород
Плотность (δ)это свойство природных объектов, в том числе горных пород определяемое отношением их массы (m) к объему (V).
m/V, (1.17)
Плотность величина переменная. Единица измерения в системе СИ
кг/м3 *103. Вне системы пользуются единицей г/см3. В каждой точке геологической среды
(18),
следовательно, δ=∂m/∂V (1.19)
Для гетерогенной среды:
(1.20)
Твердая фаза
У минералов δ изменяется от до 20 г/см3. Тенденцию изменения твердой фазы для основных породообразующих минералов можно отобразить схематически (рис. 12).
Увеличение δ 
Дата добавления: 2015-08-21; просмотров: 886;
