МАШИНЫ ДЛЯ УПЛОТНЕНИЯ ГРУНТА И СТРОИМТЕЛЬНЫХ СМЕСЕЙ

Рис.10.1 – Машины для уплотнения грунтов и дорожных покрытий: а – кулачковый прицепной каток, б – прицепной пневмоколесный, в – прицепной решетчатый, г – полуприцепной пневмоколесный, д – пневмоколесный самоходный, е – прицепной с вибровальцем, ж – падающая плита, и - виброплита
Рис. 10.2 – Виброплита с электроприводом
Рис. 10.3 – Трамбующая машина: а – общий вид, б – кинематическая схема.
|
|
ОБОРУДОВАНИЕ ДЛЯ УПЛОТНЕНИЯ БЕТОННЫХ СМЕСЕЙ
Рис. 10.4 – Вибратор поверхностный
|
Рис.10.5 – Глубинные вибраторы: а,б – дебалансные со встроенным электроприводом; в – электромеханический с гибким валом; г,д – вибронаконечники с дебалансами –бегунками с внутренней и внешней обкаткой
|
|
|
|

Рис.10.6 а- Наружное уплотнение: 1 – опалубка, 2 – прикрепляемый вибратор. Рис.10.6б – пневматические прикрепляемые вибраторы: 1 – ВП-8, 2 – ВП – 9, 3 – ВП-5А. Рис. 10.6в - схема пневматического прикрепляемого вибратора.

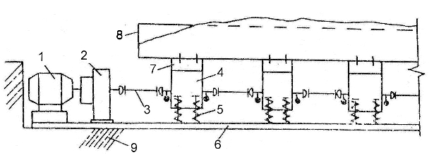
Рис.10.7 Конструктивная схема виброплощадки

Пневмоколесный прицепной каток
| Трамбующая машина
| |
Виброплита с электроприводом
(Bomag-BP-10_36-2E4)
|
Вибротрамбовка бензиновая(масса - 68кг, размер трамбующего башмака- 345/280 мм, амплитуда- 65мм)
| |
ОБОРУДОВАНИЕ ДЛЯ УПЛОТНЕНИЯ БЕТОННЫХ СМЕСЕЙ
| <== предыдущая лекция | | | следующая лекция ==> |
| ИСЧИСЛЕНИЕ ПРЕДИКАТОВ (ГЕНЦЕНА) | | | Вопрос № 2. Характеристика понятий «вооруженный конфликт», «локальная война», «региональная война» и «крупномасштабная война». |
Дата добавления: 2015-08-21; просмотров: 981;

Рис. 10.2 – Виброплита с электроприводом
Рис. 10.3 – Трамбующая машина: а – общий вид, б – кинематическая схема.
Рис. 10.4 – Вибратор поверхностный
Рис.10.5 – Глубинные вибраторы: а,б – дебалансные со встроенным электроприводом; в – электромеханический с гибким валом; г,д – вибронаконечники с дебалансами –бегунками с внутренней и внешней обкаткой