Назначение, техническая характеристика, устройство и работа частей и механизмов системы питания двигателя воздухом (СПДВ). Работа СПДВ.
А) Воздухоочиститель.В машине установлен двухступенчатый воздухоочиститель с автоматическим удалением пыли из пылесборника. Воздухоочиститель установлен в силовом отделении у правого борта и крепится через резиновые амортизаторы на двух кронштейнах на перегородке силового отделения и специальном съемном кронштейне на правом борту.
Воздухоочиститель состоит из корпуса, трех кассет и крышки 2.
Корпус воздухоочистителя представляет собой сварную конструкцию" состоящую из головки 1, циклонного аппарата и пылесборника 7.
Циклонный аппарат собран из 96 циклонов, каждый из которых состоит из корпуса 1 (рис. 36), входного патрубка 2, центральной трубки 3 и крышки 4. Циклонный аппарат вместе с пылесборником представляет собой первую ступень очистки. Для предотвращения попадания во входные патрубки циклонов посторонних предметов вокруг циклонного аппарата установлены сетка 12 (рис. 35) и щитки 8. В головке воздухоочистителя размещены одна над другой три кассеты: нижняя 6 (рис. 37), средняя 5, верхняя 4. Кассеты для отличия имеют надписи: НИЖНЯЯ, СРЕДНЯЯ, ВЕРХНЯЯ — и устанавливаются этими надписями в сторону патрубка 8. Кассеты составляют вторую ступень очистки. Каждая кассета состоит из корпуса и обечайки с сетками.

Система питания воздухом, и устройство для выпуска отработавших газов:
1 — двигатель; 2 — впускные коллекторы; 3 — трубопровод подвода воздуха от нагнетателя к компенсаторам; 4 — нагнетатель; 5 — воздухоочиститель; 6 — сигнализатор СДУ-1А-0.12; 7 — шланг сигнализатора; 8 — планка; 9 — кронштейн крепления воздухоочистителя; 10 — кронштейн крепления датчика СДУ-1А-0.12; 11 — труба отсоса пыли; 12 — выпускной коллектор; 13—клапан; 14 — компенсатор: 15 — выпускная труба; 16 — выпускной патрубок; 17 — прокладка; 18 — гайка; 19 — хомут; 20— шланг; 21 — патрубок воздухоочистителя; 22 — патрубок нагнетателя двигателя.

Воздухоочиститель:
1 - головка; 2 - крышки; 3 - бонка для подсоединении датчика СДУ-1А-0,12; 4 -патрубок к нагнетателю двигателя; 5 - патрубок к компенсатору; 6 и 10 - патрубки пылесборника; 7 - пылесборник; 8 - щиток; 11 - стопор; 9 и 12 – защитные сетки; 15 - лапа крепления воздухоочистителя; 14 - ручки; 15 – стяжка.
Корпус кассет набит с определенной (для каждой кассеты) плотностью проволочной канителью. Для исключения подсоса неочищенного воздуха между верхней решеткой циклонного аппарата и
нижней кассетой, между кассетами, а также между головкой и крышкой воздухоочистителя установлены войлочные прокладки 9, 10 и 7.
В головке воздухоочистителя имеются патрубок 4 для соединения воздухоочистителя с нагнетателем двигателя, патрубок 5 для подвода воздуха к компрессору, полая бонка 3 для подсоединения сигнализатора СДУ-1А-0.12.
Циклон:
1 - корпус; 2 - входной патрубок; 3 - центральная трубка; 4 – крышка
В пылесборнике 7 осаждается улавливаемая циклонами пыль, которая под действием создаваемого в выпускных трубах разрежения по трубам отсоса пыли выбрасывается наружу вместе с выпускными газами.

Установка кассет в головке воздухоочистителя:
1—головка; 2 — крышка; 3 — балка; 4 — верхняя кассета; 5 — средняя кассета; 6 — нижняя кассета; 7—прокладка под крышкой; 8 — патрубок (к нагнетателю двигателя); 9 — прокладка под нижней кассетой; 10 — прокладки под средней и верхней кассетами
Трубы отсоса пыли соединены с патрубками 6 и 10 пылесборника накидными гайками и уплотнены резиновыми прокладками. Накидные гайки от самоотвертывания удерживаются стопорами 11, установленными на патрубках пылесборника в специальных кронштейнах.
Б) Подвод воздухак воздухоочистителю.Подвод воздуха для питания двигателя осуществляется через специальный люк воздухопритока в крыше над двигателем, а также через радиаторы. Для уменьшения потерь мощности двигателя в летнее время от повышенного подогрева воздуха, поступающего в двигатель, на правом борту и циклонном аппарате со стороны радиаторов установлены спе-цнальны4 щитки, которые уменьшают количество подогретого воздуха, поступающего через радиаторы. В зимнее время для улучшения работы двигателя подогрев воздуха, поступающего в двигатель, должен быть выше, чем летом. С этой целью при зимней эксплуатации люк воздухопритока в крыше над двигателем перекрывается щитком, имеющимся в ЗИП машины. При установленном щитке большая часть воздуха, поступающего в воздухоочиститель, проходит через радиаторы, где он подогревается. Очищенный воздухоочистителем воздух поступает в нагнетатель и далее во впускные коллекторы и цилиндры двигателя.
В) Работа воздухоочистителя.Запыленный воздух под действием разрежения, создаваемого двигателем, с большой скоростью поступает во входные патрубки циклонов 11 (рис. 38) воздухоочистителя, где получает спиралеобразное вращательное движение.
Под действием центробежной силы наиболее тяжелые частицы пыли отбрасываются к стенкам циклонов, теряют скорость и осаждаются в пылесборнике 10. Из пылесборника под действием разрежения, создаваемого выпускными газами, часть воздуха с пылью по трубам 9 отсоса пыли транспортируется к выпускным трубам 4, где смешивается с выпускными газами и выбрасывается в атмосферу.
Циклонный аппарат (первая ступень очистки) обеспечивает предварительную очистку воздуха от пыли на 99,4%. После прохождения воздуха последовательно через нижнюю, среднюю и верхнюю кассеты, которые являются второй ступенью очистки, окончательно очищенный до 99,8% воздух из головки воздухоочистителя через патрубок поступает в нагнетатель двигателя и затем по впускным коллекторам в цилиндры двигателя.
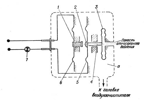
Г) Сигнализатор предельного сопротивления воздухоочистителя.Сигнализатор СДУ-1А-0.12 установлен на воздухоочистителе на специальном кронштейне и шлангом соединен с головкой воздухоочистителя. Он служит для контроля за предельным сопротивлением (разрежением) в головке воздухоочистителя при работающем двигателе, которое увеличивается по мере запыления его кассет. Указателем сигнализатора является сигнальная лампа, установленная на щите контрольных приборов механика-водителя, загорающаяся при достижении предельного разрежения в головке воздухоочистителя.
Сигнализатор состоит из основания 1, корпуса 7, втулки 4, штуцеров 2 и 3, вилки 5.
Действие сигнализатора основано на зависимости между разрежением и упругими деформациями чувствительного элемента 3. Разрежение в полости а воспринимается чувствительным элементом 3, который, деформируясь, перемещает связанный с ним шток 4. Одновременно со штоком перемещается пружина 5. Когда разрежение достигает предельной величины, контакт 2 замыкается с контактом 1, укрепленным в пружине 6, при этом сигнальная лампа 7 загорается.

Схема работы системы питания двигателя воздухом:
1 — кассеты; 2 — прокладки; 3 — патрубок; 4 — выпускная труба; 5 — выпускной патрубок; 6—сопло: 7 — компенсатор; 8 — эжекционный клапан; 9 — труба отсоса пыли; 10 — пылесборник; 11— циклон.

Сигнализатор СДУ-1А-0,12:
1 — основание; 2 — штуцер для соединения с головкой воздухоочистителя; 3 — штуцер для сообщения с атмосферой; 4— втулка; 5 — вилка; 6 — заглушка; 7 — корпус.

Схема работы сигнализатора СДУ-1А-0,12:
1 и 2 — контакты; 3 — чувствительный элемент: 4 — шток; 5 — нижняя пружина; 6 — верхняя пружина; 7 — лампа сигнальная ВО; а — полость
Д) Устройство для выпуска отработавших газов.Устройство предназначено для отвода отработавших газов из цилиндров двигателя в атмосферу и включает в себя выпускные коллекторы 12 (рис. 34), выпускные трубы 15, компенсаторы 14 и выпускной патрубок 16 на надгусеничной полке.
Выпускные коллекторы установлены на двигателе и крепятся с помощью шпилек и гаек к головкам блоков. Между фланцами коллекторов и головкой блока устанавливаются медно-асбестовые прокладки завальцованной стороной к головке двигателя.
Коллектор состоит из основной наружной трубы 3, внутренних труб 4 и 8, втулки 7, экрана 9, шести патрубков 10 с фланцами 2, фланцев 1 и 5.
Концевой квадратный фланец 1 предназначен для соединения с компенсатором. Фланец 5 предназначен для подсоединения термодымовой аппаратуры.
Для компенсации теплового расширения внутренняя труба изготовлена из двух частей 4 и 8, которые посредине коллектора соединены телескопической втулкой 7. Внутренние экраны 9 предохраняют коллектор от действия выпускных газов.
Компенсатор состоит из наружной 9 и внутренней 5 втулок и пяти колец 6. Для обеспечения более надежного уплотнения в полость между наружной и внутренней втулками через штуцер 8 подается сжатый воздух от нагнетателя двигателя.
Основное назначение компенсаторов — обеспечение возможности взаимных перемещений выпускных коллекторов и выпускных труб. Для этой цели между наружной и внутренней втулками устанавливается кольцевой зазор а, равный 3±0,5мм.
Между компенсатором и коллектором установлены регулировочная шайба 4 и две железоасбестовые прокладки 3. Между компенсатором и выпускной трубой установлена медно-асбестовая прокладка 10.
Выпускные трубы служат для отвода отработавших газов от коллекторов двигателя к выпускному патрубку на левой надгусеничной полке и удаления пыли из пылесборника воздухоочистителя.
В машине установлены две выпускные трубы, работающие одна от правой, другая от левой группы цилиндров двигателя. Каждая из них состоит из сопла 6, смесителя 4 диффузора 10 и воздушной камеры 7. Высокая скорость отработавших газов на выходе из сопла создает в воздушной камере 7 разрежение. Под действием этого разрежения воздух вместе с пылью из пылесборника по трубам отсоса пыли поступает в смеситель, смешивается с отработавшими газами и выбрасывается через диффузор трубы в выпускной патрубок и далее в атмосферу.

Выпускной коллектор:
1, 2 и 5 - фланцы; 3 - труба (наружная); 4 и 8 - трубы внутренние; 6 - полукольцо; 7 - втулка; 9 - экран; 10 - патрубок; 11 – кольцо.

Компенсатор:
1 — выпускной коллектор; 2 — фланец коллектора; 3 — прокладка; 4 — регулировочная шайба; 5 — внутренняя втулка компенсатора; 6 — уплотнительное кольцо; 7 — гайка; 8 — штуцер; 9 — наружная втулка компенсатора; 10 — прокладка; 11 — фланец выпускной трубы; 12 - выпускная труба; 13 — эжекционный клапан; 14 — заслонка эжекционного клапана; 15 — шланг; 16 — труба отсоса пыли; 17— хомут; 18 — щиток; а — зазор.

Выпускные трубы:
1 —выпускная труба левая; 2 — выпускная труба правая; 3 — фланец для соединения с выпускным патрубком; 4 — смеситель; 5 — лапа крепления трубы; 6 — сопло; 7 — воздушная камера; 8 — втулка для соединения с зжекционным клапаном; 9 — фланец для соединения с: компенсатором; 10 — диффузор
Между патрубками воздушной камеры выпускных труб и трубами отсоса пыли установлены эжекционные клапаны 13 (рис. 42). Они служат для отключения пылесборника воздухоочистителя от выпускных труб при движении машины под водой. Это необходимо для предотвращения попадания отработавших газов через воздухоочиститель в двигатель. При движении машины по суше заслонки 14 клапанов постоянно удерживаются в открытом положении под действием разрежения в воздушной камере выпускных труб.
Дата добавления: 2015-08-21; просмотров: 3361;
