Классификация пожарных рукавов
Материалы по «Пожарной технике» для заочного обучения
(л – 4 ч., пр – 6 ч., л.р. – 4 ч. - Тангатаров), ргр – Тангатаров, зачет
Лекция 2 ПОЖАРНО-ТЕХНИЧЕСКОЕ ВООРУЖЕНИЕ ДЛЯ ПОДАЧИ ОГНЕТУШАЩИХ ВЕЩЕСТВ В ОЧАГ ПОЖАРА
Пожарные рукава и рукавная арматура
Комплект пожарно-технического вооружения для подачи огнетушащих веществ в очаг пожара состоит из пожарных рукавов и гидравлического оборудования. Его использование позволяет формировать насосно-рукавную систему пожарного автомобиля (мотопомпы) в целях обеспечения подачи огнетушащих веществ. Элементы, составляющие комплект ПТВ, являются наиболее часто используемым пожарно-техническим оборудованием. Знание их технических характеристик и устройства позволит повысить эффективность использования насосно-рукавных систем пожарных автомобилей (мотопомп) при ликвидации пожаров.
Пожарные рукава
Пожарные рукава – это гибкие трубопроводы, оборудованные пожарными соединительными головками и предназначенные для транспортирования огнетушащих веществ.
Классификация пожарных рукавов
Вода для тушения пожаров подается насосами пожарных автомобилей и мотопомп из различных водоисточников. Наиболее простая схема подачи воды – это забор ее из цистерны пожарного автомобиля и подача насосом через магистральные 1 и рабочие 3 рукавные линии
к стволам 4 (рис. 3.1, а).
Рис. 3.1. Схемы забора и подачи воды:
а – от цистерны пожарного автомобиля; б – от открытого водоисточника;
в – от водопроводной сети; 1 – магистральная рукавная линия; 2 – разветвление
трехходовое; 3 – рабочая рукавная линия; 4 – ствол пожарный ручной;
5 – всасывающий рукав; 6 –напорно-всасывающий рукав; 7 – рукавный водосборник;
8 – рукав напорный для работы от гидранта
Пожарные рукава, по которым огнетушащие вещества подаются под давлением, называются напорными. В случае использования открытых водоисточников (рис. 3.1, б) для забора воды используют всасывающие рукава 5. При заборе воды из водопроводной сети (рис. 3.1, в) используется напорно-всасывающий рукав 6 и короткий напорный рукав 8.
При достаточном давлении в водопроводной сети вода поступает в насос по рукавам 6 и 8. В случае недостаточного напора она всасывается насосом по напорно-всасывающему рукаву 6.
Всасывающие рукава. Для комплектации пожарных автомобилей и мотопомп используются рукава всасывающие классов «В» (рабочая среда – вода) и «КЩ» (рабочая среда – слабые растворы неорганических кислот и щелочей), подразделяющиеся в зависимости от условий работы на две группы: 1) всасывающие – для работы при разрежении и забора воды из открытых водоисточников; 2) напорно-всасывающие – для работы под давлением и при разрежении.
Устройство всасывающих рукавов показано на рис.3.2. Они состоят из внутренней резиновой камеры 3, двух текстильных слоев 2 и 6, проволочной спирали 4, промежуточного резинового слоя 5 и наружного текстильного слоя 1.
Резиновые слои обеспечивают рукаву воздухо- и водонепроницаемость, а также эластичность и гибкость. Проволочная спираль 4 увеличивает механическую прочность и исключает сплющивание рукава под действием атмосферного давления. На концах всасывающих рукавов имеются мягкие (без спирали) манжеты для навязывания рукава на головки соединительные всасывающие 7 отожженной оцинкованной проволокой диаметром 2,0 – 2,6 мм или металлическими оцинкованными хомутами.
|
Рис. 3.2. Конструктивное исполнение всасывающих и напорно-всасывающих рукавов:
1 – наружный текстильный слой; 2, 6 – текстильный слой; 3 – внутренняя резиновая камера; 4 – проволочная спираль; 5 – промежуточный резиновый слой;
7 – головка соединительная всасывающая
На наружную поверхность манжеты каждого рукава наносится маркировка, содержащая наименование завода-изготовителя, номер стандарта, группу, тип, внутренний диаметр, рабочее давление (для рукавов 2-й группы), длину и дату изготовления.
Технические характеристики всасывающих рукавов, используемых на передвижной пожарной технике, представлены в табл. 3.1.
Таблица 3.1
| Параметры | Внутренний диаметр рукава, мм | ||
| Длина манжеты, мм | |||
| Толщина резинового слоя, мм не менее: внутреннего промежуточного | 2,0 1,5 | 2,0 1,5 | 2,2 1,5 |
| Длина рукава, мм | |||
| Минимальный радиус изгиба, мм | |||
| Рабочее давление, МПа | 0,5 | - | - |
| Рабочий вакуум, МПа | 0,08 | 0,08 | 0,08 |
| Масса 1 м рукава, кг | 3,1 | 6,3 | 13,5 |
Длина всасывающих рукавов определяется конструктивной особенностью пожарных автомобилей. Пенал для хранения всасывающих рукавов размещается, как правило, на надстройке пожарного автомобиля и имеет длину более 4 м. Конструкция пенала обеспечивает сушку всасывающих рукавов за счет обдува при движении пожарного автомобиля.
Всасывающие рукава, поступившие в пожарную часть или на рукавную базу, подвергаются входному контролю. При этом, прежде всего, проверяется наличие и данные маркировки. Рукава, прошедшие входной контроль, навязывают на головки соединительные всасывающие, после чего их подвергают испытаниям на герметичность при гидравлическом давлении и вакууме. Создав давление 0,2 МПа, его выдерживают 10 мин. На рукаве не должно быть разрывов, местных вздутий, деформации металлической спирали. Под вакуумом 0,08 МПа рукав выдерживают 3 мин, падение разрежения при этом не должно превышать 0,013 МПа. При испытании не должно быть сплющиваний и изломов. Находящиеся на пожарных автомобилях всасывающие рукава испытывают при проведении ТО-1 автомобиля.
Напорные рукава предназначены для транспортирования огнетушащих веществ под избыточным давлением и могут быть использованы для комплектации как пожарных кранов и переносных мотопомп (рабочее давление 1,0 МПа), так и передвижной пожарной техники.
В зависимости от конструктивных особенностей и используемых материалов напорные рукава подразделяются на типы, которые приведены на рис. 3.3.
Конструкция напорного рукава состоит из следующих элементов: армирующего каркаса (чехла), внутреннего гидроизоляционного слоя и наружного защитного слоя. Армирующие каркасы напорных рукавов ткут или вяжут из натуральных нитей (льна, хлопка и т.д.) или искусственных (лавсан, капрон и т.д.) волокон. Армирующий каркас образуется переплетением нитей под углом 90о. Продольные нити называются основой, а поперечные – утком.
|
Рис. 3.3. Классификация пожарных напорных рукавов
При использовании в различных климатических зонах напорные рукава могут быть двух видов. Исполнения «У», рассчитанные на работу при температуре окружающей среды от – 40 до + 45°С и исполнения «УХЛ», рассчитанные на работу при температуре окружающей среды
от – 50 до + 45 °С.
На передвижной пожарной технике применяют напорные рукава длиной (20±1) м, диаметром 51, 66, 77, 89, 150 мм.
Пожарные напорные рукава должны обладать высокой прочностью, способностью сопротивляться истиранию, действию солнечных лучей, гнилостным процессам, агрессивным средам, низким и высоким температурам. Гидравлическое сопротивление потоку воды должно быть возможно малым. Кроме того, к ним предъявляется ряд эргономических требований: легкость, малые габариты скаток, эластичность.
Напорные рукава из натуральных волокон имеют ограниченное применение. Сухие чистые льняные рукава сравнительно легкие, а их скатки малогабаритны. При подаче воды по таким рукавам наружная поверхность ткани чехла увлажняется вследствие просачивания воды через стенки чехла (перколяция). Это повышает термостойкость льняных рукавов в условиях пожаров. Однако повышенная склонность льняных рукавов к гнилостным процессам, большие гидравлические потери, а также сложность эксплуатации в условиях низких температур ограничивают область их применения на пожарных машинах.
Напорные рукава с армирующим каркасом из синтетических волокон имеют несколько вариантов конструктивного исполнения (см. рис. 3.3).
Устройство прорезиненного рукава, относящегося к типу напорных рукавов с внутренним гидроизоляционным слоем без наружного покрытия каркаса, показано на рис. 3.4. Такой рукав имеет армирующий каркас 1, выполненный из синтетических волокон. В качестве внутреннего гидроизоляционного слоя 2 применяется резиновая камера, которая вводится внутрь армирующего каркаса 1, предварительно смазанного резиновым клеем 3, и вулканизируется паром под давлением 0,3 – 0,4 МПа при температуре 120-140°С в течение 40-45 мин.

Конструкция латексированного рукава представлена на рис. 3.5. Он относится к типу напорных рукавов с внутренним гидроизоляционным слоем и с пропиткой армирующего каркаса тем же материалом, что и гидроизоляционный слой.
Армирующий каркас 1 латексированного рукава изготавливают из синтетических волокон. Такой рукав имеет внутренний гидроизоляционный слой 2, выполненный из латексной пленки. Кроме того, армирующий каркас имеет пропитку раствором латекса, который образует наружную латексную пленку 3, выполняя функцию защитного слоя.

|
| |
К типу рукавов с двусторонним покрытием относятся напорные рукава с двусторонним полимерным покрытием и напорные рукава на рабочее давление 3,0 МПа.
Технические характеристики напорных пожарных рукавов для передвижной пожарной техники изложены в НПБ 152-2000, некоторые из них представлены в табл. 3.2.
Таблица 3.2
| Параметры | Все типы напорных рукавов для передвижной пожарной техники | Рукава на рабочее давление 3,0 МПа | |||||
| Внутренний диаметр, мм | |||||||
| Рабочее давление, МПа | 1,6 | 1,4 | 1,2 | 3,0 | |||
| Разрывное давление, МПа, не менее | 3,5 | 2,8 | 2,4 | 6,0 | |||
| Масса рукава длиной 1 м, кг, не более | 0,45 | 0,55 | 0,65 | 0,75 | 1,20 | 0,45 | 0,55 |
| Толщина внутреннего слоя покрытия, мм, не менее | 0,35 | 0,35 |
Пожарные напорные рукава диаметром 77 мм и более применяют для прокладки магистральных линий (см. рис. 3.1), а диаметром 51 и 66 мм – рабочих рукавных линий.
Параметры технических характеристик напорных рукавов во многом определяют эффективность действий пожарных подразделений. Так, шероховатость внутренней поверхности рукавов оказывает влияние на потери напора воды в рукавной линии и регламентирует предельно возможную длину этой линии.
В напорных рукавах при подаче воды изменяется их длина и площадь поперечного сечения. Внутренний гидроизоляционный слой рукава под напором воды вдавливается в армирующий каркас (чехол) рукава. При этом формируется профиль шероховатости его внутренней поверхности, определяющей величину сопротивления потоку воды. Для рукавов длиной 20 м определены коэффициенты сопротивления Sp , указанные в табл. 3.3.
Таблица 3.3
| Рукава | Диаметр рукава, мм | ||||
| С армирующим каркасом из синтетических волокон с внутренним гидроизоляционным слоем | 0,13 | 0,034 | 0,015 | 0,007 | 0,0004 |
| С армирующим каркасом из натуральных волокон без гидроизоляционного слоя | 0,24 | 0,077 | 0,030 | - | - |
Потери напора в магистральной рукавной линии, м, определяем по формуле
h м.р.л = Np Sp Q2, (3.1)
где Sp – коэффициент сопротивления одного рукава длиной 20 м (см. табл. 3.3); Q – расход воды в магистральной линии, л/с; Np – число рукавов в магистральной линии, шт., которое определяем по формуле
Np = 1,2 L/20,(3.2)
где L – расстояние от пожарного автомобиля до места подачи стволов, м.
Длина любой рукавной линии зависит, прежде всего, от гидравлических сопротивлений рукавов Sp и расхода Q подаваемой воды. Так, предельную длину магистральной рукавной линии, м, определяем по формуле
lпр =
, (3.3)
где Zм – наибольшая высота подъема (+) или спуска (-) местности на предельном расстоянии, м; Zпр – наибольшая высота подъема (+) или спуска (-) приборов тушения, м.
| |
|
| |
|
|
| |
|
Определяющим параметром в технических характеристиках напорных рукавов является его внутренний диаметр, от которого зависит масса скатки рукава (см. табл. 3.2), рабочее давление, а также гидравлическая характеристика рукавной линии. На рис. 3.7 приведена зависимость потерь напора в одном рукаве магистральной линии длиной 20 м от расхода воды. Показано, как диаметр рукавов влияет на потери напора в линии.
Рукава различают и по теплофизическим характеристикам (рис. 3.8). Из анализа следует, что наилучшей теплоизолирующей способностью обладают латексированные рукава. У них меньшее значение коэффициента теплопроводности материала λпри отрицательных температурах. Это значит, что при подаче воды в условиях низких температур, ее охлаждение в линии из латексированных рукавов будет менее интенсивное по сравнению с другими типами рукавов. Вероятность обледенения такой рукавной линии снижается.
Указанные выше параметры напорных рукавов следует учитывать при их выборе для заданных условий эксплуатации.
Напорные рукава, поступившие в пожарную часть или на рукавную базу, после входного контроля навязываются на соединительные головки мягкой оцинкованной проволокой диаметром 1,6 – 1,8 мм (для рукавов диаметром 150 мм используется проволока диаметром 2,0 мм). После этого на рукав наносится маркировка принадлежности к рукавной базе или пожарной части. На рукавах, эксплуатируемых на рукавных базах, маркируется их порядковый номер. На рукавах, принадлежащих пожарной части, маркировка состоит из дроби, где в числителе указывается номер пожарной части, а в знаменателе – порядковый номер рукава. Далее рукава подвергаются гидравлическим испытаниям под давлением 1,0 МПа. Рукава на рабочее давление 3,0 МПа испытывают при рабочем давлении насоса
автомобиля высокого давления.
| |
|
| |
| |
| |
|
|
|
|
|
| |
| |
|
|
| |
| |
| |
|
| |
|
Рукава, выдержавшие гидравлические испытания, поступают на сушку и передаются для эксплуатации. На новые рукава заводят паспорта. Находящиеся в эксплуатации рукава испытывают после каждого обслуживания и ремонта, а также два раза в год при сезонном обслуживании пожарной техники.
Гидравлическое оборудование
Гидравлическое оборудование является элементом пожарного оборудования, относящегося к коммуникациям пожаротушения, и предназначено для формирования насосно-рукавных систем пожарных автомобилей (мотопомп) в целях обеспечения подачи огнетушащих веществ к месту тушения пожара.
В зависимости от назначения гидравлическое оборудование можно разделить на две группы (рис. 3.9). Наиболее распространенный вид оборудования – рукавная арматура – изготавливается из алюминиевых сплавов марок АК7 и АК7ч (АЛ9) по ГОСТ 1583 с последующей механической обработкой и состоит из следующих элементов (см. рис. 3.9).
|
Рис. 3.9. Классификация гидравлического оборудования

Всасывающая пожарная сетка (рис. 3.10) предназначена для предотвращения самостоятельного опорожнения всасывающей линии и попадания в нее посторонних предметов.
Всасывающая сетка состоит из корпуса, верхняя часть которого имеет штуцер для присоединения соединительной всасывающей головки 1, обратного клапана 2, рычага для поднятия клапана 3 и решетки 4. Всасывающую сетку присоединяют к всасывающим рукавам с помощью соединительной головки.
При работе насоса из открытого водоисточника во всасывающей линии создается разрежение. Вода под атмосферным давлением поднимает клапан 2 и поступает во всасывающую линию и далее в полость насоса. При остановке насоса клапан опускается в гнездо и всасывающая линия остается заполненной водой. Чтобы освободить линию от воды, необходимо при помощи веревки, прикрепленной к кольцу, повернуть рычаг 3, клапан приподнимется и вода вытечет из рукавов.
Всасывающие сетки выпускают различных типоразмеров (табл. 3.4).
Таблица 3.4
| Показатели | Сетки всасывающие | |
| СВ-100А | СВ-125А | |
| Условный проход, мм | ||
| Коэффициент гидравлического сопротивления | не более 1,5 | |
| Пропускная способность, л/с | ||
| Усилие для поднятия клапана при столбе воды высотой 8 м, Н | ||
| Масса, кг | 3,0 | 3,8 |
Рукавный водосборник предназначен для соединения двух
потоков воды из пожарной колонки и подвода ее к всасывающему патрубку пожарного насоса, а также он используется при работе с гидроэлеватором и для перекачки воды на большие расстояния.
Рукавный водосборник состоит из корпуса-тройника, двух напорных соединительных цапковых головок ГЦ-80 для присоединения напорных или напорно-всасывающих рукавов и выходной соединительной головки для установки водосборника на всасывающем патрубке насоса. Внутри корпуса водосборника закреплен шарнирно-тарельчатый клапан для перекрывания одного входного патрубка при работе насоса от гидранта на один рукав.
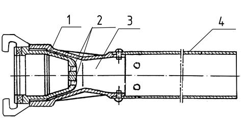
Рукавное разветвление предназначено для разделения потока и регулирования количества подаваемого огнетушащего вещества, транспортируемого по напорным пожарным рукавам. В зависимости от числа выходных штуцеров и условного диаметра входного штуцера различают следующие типы разветвлений: трехходовые РТ-70 и РТ-80 и четырехходовые РЧ-150. Наибольшее распространение имеют трехходовые разветвления. Они имеют три выходных и один входной штуцер.
Четырехходовые разветвления применяют на передвижных насосных станциях и рукавных автомобилях.
Разветвления всех типоразмеров имеют в основном одинаковую конструкцию (рис. 3.11) и состоят из фигурного корпуса 8, входного 5 и выходного 7 патрубков. На всех патрубках разветвлений навернуты муфтовые соединительные головки. Входные патрубки снабжены запорными механизмами вентильного типа с тарельчатым клапаном 6, маховичком 1, шпинделем 3 и сальниковым уплотнением 2. Для переноса разветвления имеется ручка 4.
|
|
|
|
|
|
|
|
Рис. 3.11. Разветвление трехходовое:
1 – маховичок; 2 – сальниковое уплотнение; 3 – шпиндель; 4 – ручка;
5 – входной патрубок; 6 – тарельчатый клапан; 7 – выходной патрубок;
8 – фигурный корпус
Для обеспечения подачи воды от насосов пожарных высокого давления (типа НЦПВ-20/200) используют рукавные разветвления на рабочее давление до 3,0 МПа РТВ-70/300. Технические характеристики разветвлений представлены в табл. 3.5.
Таблица 3.5
| Показатели | Рукавные разветвления | |||
| РТ-70 | РТ-80 | РЧ-150 | РТВ-70/300 | |
| Условный проход входного патрубка, мм | ||||
| Условный проход выходных штуцеров, мм: центрального боковых | ||||
| Рабочее давление, МПа | 1,2 | 1,2 | 0,8 | 3,0 |
| Масса, кг, не более | 5,3 | 6,3 | 15,0 | 15,0 |
Головки соединительные пожарные – быстросмыкаемая арматура, предназначенная для соединения пожарных рукавов и присоединения их к пожарному оборудованию и пожарным насосам. В зависимости от назначения соединительные головки разделяют на напорные и всасывающие.
Напорные Всасывающие
ГР (рукавная головка) ГРВ (рукавная головка всасывающая)
ГМ (муфтовая головка) ГМВ (муфтовая головка всасывающая)
ГЦ (цапковая головка) ГЗВ (головка-заглушка всасывающая)
ГП (переходная головка)
ГЗ (головка-заглушка)
Соединительные рукавные головки (ГР и ГРВ) (рис. 3.12) состоят из втулки 1, несущей в канавке торцевой кромки уплотняющее резиновое кольцо 2 (типа КВ – для всасывающих головок и КН – для напорных головок), и обоймы 4 свободно надетой на втулку. На обойме отлиты два клыка 3 и наружная спиральная наклонная площадка, с помощью которых соединяются две головки и достигается их уплотнение. Рукавные головки навязывают на концы пожарных рукавов соответствующего диаметра.
Муфтовая и цапковая соединительные головкисостоят из одной втулки, с одной стороны которой имеется резьба, а с другой – на торцевой кромке – канавка для уплотняющего резинового кольца и по наружной поверхности – два клыка со спиральными наклонными площадками. У муфтовых головок резьба внутренняя, а у цапковых – наружная.
Головка-заглушка предназначена для закрывания пожарных соединительных головок и представляет собой соединительную обойму с крышкой.
Переходная головка предназначена для соединения напорных рукавов или другого водопенного оборудования с разными условными проходами. Переходная головка состоит (рис. 3.13) из двух несущих втулок 2 и 4 с разными условными проходами, соединенных между собой, и двух обойм 1 и 3, аналогичных соответствующим рукавным головкам.
Напорные и всасывающие соединительные головки классифицируются в зависимости от их максимального рабочего давления, типов и условных проходов.
1,3 – обойма; 2,4 – несущая втулка
Рисунок 3.13 – Переходная головка
Стволы пожарные – устройства, устанавливаемые на концах напорных линий для формирования и направления огнетушащих струй. Пожарные стволы в зависимости от пропускной способности и размеров подразделяются на ручные и лафетные, а в зависимости от вида подаваемого огнетушащего вещества – на водяные, пенные и комбинированные.
Ручные пожарные стволы предназначены для формирования и направления сплошной или распыленной струи воды, а также (при установке пенного насадка) струй воздушно-механической пены низкой кратности. Стволы в зависимости от конструктивных особенностей и основных параметров классифицируются на стволы нормального давления и стволы высокого давления (рис. 3.14).

Рис. 3.14. Классификация пожарных стволов
Стволы нормального давления обеспечивают подачу воды и огнетушащих растворов при давлении перед стволом от 0,4 до 0,6 МПа, стволы высокого давления – при давлении от 2,0 до 3,0 МПа. Для стволов нормального давления определяющей характеристикой является условный проход соединительной головки. В связи с этим стволы подразделяют на два типоразмера: Ду 50 и Ду 70.
В зависимости от конструктивного исполнения ручные стволы могут иметь широкие функциональные возможности (см. рис. 3.14). Так, к формирующим только водяную струю относятся стволы РС-50 и РС-70, которые имеют одинаковую конструкцию и отличаются лишь геометрическими размерами. Они состоят (рис. 3.15) из корпуса конической формы 1, внутри которого установлен успокоитель 2 соединительной муфтовой
головки 3, предназначенной для присоединения ствола к напорному рукаву, ремня 4 для переноски ствола, сменного насадка 6. На корпус ствола насаживается оплетка красного цвета 5, обеспечивающая удобство удержания ствола в руках при работе.
|
|
|
|
|
|
Рис. 3.15. Ствол ручной пожарный РС-70:
1 – корпус; 2 – успокоитель; 3 –соединительная головка; 4 –ремень; 5 –оплетка; 6 – насадок
|
|
|
|
|
|
Рис. 3.16. Ствол ручной пожарный перекрывной КР-Б:
1 – корпус; 2 – кран пробковый; 3 – насадок; 4 – ремень; 5 – оплетка;
6 – соединительная головка
К этому типу относится ствол перекрывной КР-Б (рис. 3.16). Отличительной особенностью ствола является наличие в конструкции пробкового крана 2, обеспечивающего возможность прекращать подачу воды. Технические характеристики стволов, формирующих только сплошную водяную струю, представлены в табл. 3.6.
Таблица 3.6
| Показатели | Стволы пожарные ручные водяные сплошной струи | ||
| РС-50 | РС-70 | КР-Б | |
| Диаметр насадка, мм Расход воды при давлении у ствола 0,4 МПа, л/с Дальность водяной струи, м Масса, кг | 3,6 28,0 0,7 | 7,4 32,0 1,5 | 3,3 22,0 1,7 |
Конструкция универсальных ручных пожарных стволов позволяет управлять струей и они предназначены для формирования как сплошной, так и распыленной струи воды.
Ствол РСК-50 состоит из корпуса 5, пробкового крана 3, насадка 12, соединительной напорной головки 6 (рис. 3.17).
|
|
|
|
|
|
|
|
|
|
|
|
Рис. 3.17. Ствол ручной пожарный РСК-50:
1,2,9 – каналы; 3 – пробковый кран; 4 – ручка; 5 – корпус; 6 – соединительная головка; 7,10 – отверстия; 8 – полость; 11 – тангенциальные каналы; 12 – насадок
При положении ручки 4 пробкового крана 3 вдоль оси корпуса 5 поток жидкости проходит через центральное отверстие центробежного распылителяи далее выходит из насадка 12 в виде компактной струи. При повороте ручки крана на 90° центральное отверстие перекрывается и поток жидкости из полости 8 пустотелой пробки крана через отверстия 7 и 10 поступает в каналы 2 и 9. Через тангенциальные каналы 11 жидкость попадает в центральный распылитель и выходит из него закрученным потоком, который под действием центробежных сил при выходе из насадка распыляется, образуя факел с углом раскрытия 60°. Аналогичный принцип работы заложен в конструкции универсальных стволов РСП-50 и РСП-70. Ствол РСКЗ-70 позволяет, кроме того, дополнительно формировать защитную водяную завесу. Для формирования и направления сплошной или распыленной конусообразной струи воды предназначены стволы-распылители РС-А и РС-Б (рис. 3.18).
|
|
|
|
|
|
Рис. 3.18. Ствол-распылитель ручной РС-А (РС-Б):
1 – распылитель; 2 – устройство перекрытия потока воды; 3 – корпус;
4 – соединительная головка; 5 – оплетка; 6 – ремень
Эти стволы идентичны и отличаются только геометрическими размерами. Стволы состоят из корпуса 3, распылителя 1, устройства перекрытия потока воды 2, соединительной головки 4, ремня 6 и оплетки 5, служащей для удержания ствола в руках при работе.
Технические характеристики универсальных ручных пожарных стволов и ствола РСКЗ-70 с защитной завесой представлены в табл. 3.7.
Таблица 3.7
| Показатели | Размерность | Стволы пожарные ручные водяные универсальные | С защитной завесой | |||
| РС-А | РСК-50 | РСП-50 | РСП-70 | РСКЗ-70 | ||
| Расходы воды при давлении у ствола 0,4 МПа: сплошной струи распыленной струи защитной струи Дальность струи при давлении у ствола 0,4 МПа: сплошной струи распыленной струи Угол факела защитной завесы Присоединительная арматура ствола Масса ствола | л/с л/с л/с м м град. - кг | - 3,1 - - - - ГМ-70 | 2,7 2,7 - - ГМ-50 2,2 | 2,7 2,0 - - ГМ-50 1,6 | 7,4 7,0 - - ГМ-70 2,8 | 7,4 7,0 2,3 ГМ-70 3,0 |
Наиболее многофункциональными являются комбинированные ручные стволы, которые позволяют формировать как водяную, так и пенную струю.
|
|
|
|
|
Рис. 3.19. Ствол ручной комбинированный ОРТ-50:
1 – головка соединительная; 2 – корпус; 3 – головка; 4 – пеногенератор; 5 – рукоятка
В качестве примера рассмотрим ствол ОРТ-50 (рис. 3.19), который
состоит из следующих основных элементов: корпуса 2 с присоединенной муфтовой рукавной головкой 1, рукоятки 5, головки 3 и съемного насадка-пеногенератора 4. Ствол ОРТ-50 формирует сплошные и распыленные водяные струи, дает возможность получить водяную завесу для защиты ствольщика от теплового воздействия, а также позволяет получать и
направлять струю воздушно-механической пены низкой кратности. Технические характеристики ствола ОРТ-50 представлены в табл. 3.8.
Таблица 3.8
| Показатели | Размерность | Ствол ручной комбинированный ОРТ-50 |
| Рабочее давление Расход воды при давлении у ствола 0,4 МПа: сплошной струи распыленной периферийной струи (при факеле струи 30°) Дальность водяной струи: сплошной струи распыленной струи Рабочее давление при подаче пены Расход 4 – 6% раствора ПО Кратность пены Дальность подачи пены Масса | МПа л/с л/с м м МПа л/с м кг | 0,4 – 0,8 2,7 2,0 30,0 14,0 0,6 5,5 1,9 |
Для оценки тактико-технических возможностей пожарных стволов определяющими являются параметры формирующейся на стволе струи. Теория струй детально изучается в курсе гидравлики, поэтому рассмотрим лишь наиболее важные для нас ее составляющие.
Если струю пожарного ствола направить вертикально вверх, то она будет иметь два характерных участка (рис. 3.20):
|
|
|
|
Sв – максимальную высоту струи. Как правило, водяные стволы на пожарах работают не вертикально вверх, а под определенным
углом α. Если при одном и том же напоре у насадка постепенно изменять угол наклона ствола, то конец компактной части струи будет описывать траекторию, которая называется радиусом действия компактной струи Rк. Для ручных стволов эта траектория будет близка к радиусу окружности
Rк = Sк. (3.4)
Минимальная длина компактных струй ручных стволов равняется в среднем 17 м, для ее создания у стволов с диаметром насадка 13,16,19,22 и 25 мм требуется создавать напор 0,4 – 0,6 МПа.
Расстояние от насадка ствола до огибающей кривой раздробленной струи Rр возрастает с уменьшением угла наклона α к горизонту:
Rр = β Sв,(3.5)
где β – коэффициент, зависящий от угла наклона α .
Наибольшая дальность полета струи по горизонтали наблюдается при угле наклона ствола α = 30°.
Важным параметром для ручных пожарных стволов является реакция струи – сила, возникающая при истечении жидкости из насадка ствола.
Известна зависимость для определения силы реакции струи F, H:
F = -2 p ω, (3.6)
где p = ρ g H; ω – площадь выходного сечения насадка, м2; ρ – плотность жидкости, кг/м3; g = 9,8 м2/с; H - напор на стволе, м.
Знак минус указывает, что сила реакции направлена в сторону, противоположную движению струи (рис. 3.21, б). Так, сила реакции струи для ручных стволов при напоре 0,4 МПа достигает 400 Н. Для ее компенсации требуется работа со стволом двух человек.
|
|
Рис. 3.21. Силы реакции струй ручных пожарных стволов:
а – для стволов пистолетного типа; б – для ручных пожарных стволов
В результате совершенствования конструкции разработаны ручные пожарные стволы пистолетного типа, сила реакции струи для которых разделяется на несколько составляющих и направлена вверх (рис. 3.21, а). Это значительно упрощает работу ствольщиков при тушении пожаров.
Стволы лафетные комбинированные (водопенные)предназначены для формирования сплошной или сплошной и распыленной с изменяемым углом факела струй воды, а также струй воздушно-механической пены низкой кратности. Лафетные стволы подразделяются на стационарные, монтируемые на пожарном автомобиле; возимые, монтируемые на прицепе, и переносные.
Переносные лафетные стволы входят в комплект пожарных автоцистерн и насосно-рукавных автомобилей. Переносной лафетный ствол ПЛС-П20 (рис. 3.22) состоит из корпуса 1, двух напорных патрубков 3, приемного корпуса 4, фиксирующего устройства 5, рукоятки управления 6. В приемном корпусе имеется обратный шарнирный клапан, который позволяет присоединять и заменять рукавные линии к напорному патрубку без прекращения работы ствола. Внутри корпуса 1 трубы ствола установлен четырехлопастной успокоитель. Для подачи воздушно-механической пены водяной насадок на корпусе трубы заменяют на воздушно-пенный 2.
|
|
|
|
|
|
|
Рис. 3.22. Переносной пожарный лафетный ствол ПЛС-П20:
1 – корпус ствола; 2 – воздушно-пенный насадок; 3 – напорный патрубок;
4 – приемный корпус; 5 – фиксирующее устройство; 6 – рукоятка управления
Основные технические характеристики лафетного ствола ПЛС-П20 представлены в табл. 3.9.
Таблица 3.9
| Показатели | Диаметр насадка, мм | ||
| Рабочее давление, МПа Расход воды, л/с Расход пены, м3/мин Длина струи, м: воды пены | 6,0 - - | 6,0 | 6,0 - - |
Приборы и аппараты для получения воздушно-механической пены
Воздушно-механическая пена предназначена для тушения пожаров жидких (класс пожара В) и твердых (класс пожара А) горючих веществ. Пена представляет собой ячеисто-пленочную дисперсную систему, состоящую из массы пузырьков газа или воздуха, разделенных тонкими пленками жидкости.
Получают воздушно-механическую пену механическим перемешиванием пенообразующего раствора с воздухом. Основным огнетушащим свойством пены является ее способность препятствовать поступлению в зону горения горючих паров и газов, в результате чего горение прекращается. Существенную роль играет также охлаждающее действие огнетушащих пен, которое в значительной степени присуще пенам низкой кратности, содержащим большое количество жидкости.
Важной характеристикой огнетушащей пены является ее кратность – отношение объема пены к объему раствора пенообразователя, содержащегося в пене. Различают пены низкой (до 10), средней (от 10 до 200) и высокой (свыше 200) кратности. Пенные стволы классифицируются в зависимости от кратности получаемой пены (рис. 3.23).
Исправить и ВСТАВИТЬ!!!
Рис. 3.23. Классификация пенных пожарных стволов
Пенный ствол – устройство, устанавливаемое на конце напорной линии для формирования из водного раствора пенообразователя струй воздушно-механической пены различной кратности.
Для получения пены низкой кратности применяются ручные воздушно-пенные стволы СВП и СВПЭ. Они имеют одинаковое устройство, отличаются только размерами, а также эжектирующим устройством, предназначенным для подсасывания пенообразователя из емкости.
Ствол СВПЭ (рис. 3.24) состоит из корпуса 8, с одной стороны которого навернута цапковая соединительная головка 7 для присоединения ствола к рукавной напорной линии соответствующего диаметра, а с другой – на винтах присоединена труба 5, изготовленная из алюминиевого сплава и предназначенная для формирования воздушно-механической пены и направления ее на очаг пожара. В корпусе ствола имеются три камеры: приемная 6, вакуумная 3 и выходная 4. На вакуумной камере расположен ниппель 2 диаметром 16 мм для присоединения шланга 1, имеющего длину 1,5 м, через который всасывается пенообразователь. При рабочем давлении воды 0,6 МПа создается разрежение в камере корпуса ствола не менее 600 мм рт. ст. (0,08 МПа).
|
|
|
|
|
|
|
|
Рис. 3.24. Ствол воздушно-пенный с эжектирующим устройством типа СВПЭ:
1 – шланг; 2 – ниппель; 3 – вакуумная камера; 4 – выходная камера;
5 – направляющая труба; 6 – приемная камера; 7 – соединительная головка;
8 – корпус
Принцип образования пены в стволе СВП (рис. 3.25) заключается в следующем. Пенообразующий раствор, проходя через отверстие 2 в корпусе ствола 1, создает в конусной камере 3 разрежение, благодаря которому воздух подсасывается через восемь отверстий, равномерно расположенных в направляющей трубе 4 ствола. Поступающий в трубу воздух интенсивно перемешивается с пенообразующим раствором и образует на выходе из ствола струю воздушно-механической пены.
|
|
|
|
Рис. 3.25. Ствол воздушно-пенный СВП:
1 – корпус ствола; 2 – отверстие; 3 – конусная камера; 4 – направляющая труба
Принцип образования пены в стволе СВПЭ отличается от СВП тем, что в приемную камеру поступает не пенообразующий раствор, а вода, которая, проходя по центральному отверстию, создает разрежение в вакуумной камере. Через ниппель в вакуумную камеру по шлангу из ранцевого бочка или другой емкости подсасывается пенообразователь. Технические характеристики пожарных стволов для получения пены низкой кратности представлены в табл. 3.10.
Таблица 3.10
| Показатель | Размерность | Тип ствола | |||||
| СВП | СВПЭ-2 | СВПЭ-4 | СВПЭ-8 | ||||
| Производительность по пене | м3/мин | ||||||
| Рабочее давление перед стволом | МПа | 0,4 – 0,6 | 0,6 | 0,6 | 0,6 | ||
| Расход воды | л/с | - | 4,0 | 7,9 | 16,0 | ||
| Расход 4 – 6 % раствора пенообразователя | л/с | 5 – 6 | - | - | - | ||
| Кратность пены на выходе из ствола | - | 7,0 (не менее) | 8,0 (не менее) | ||||
| Дальность подачи пены | м | ||||||
| Соединительная головка | - | ГЦ-70 | ГЦ-50 | ГЦ-70 | ГЦ-80 | ||
Для получения из водного раствора пенообразователя воздушно-механической пены средней кратности и подачи ее в очаг пожара используются генераторы пены средней кратности.
В зависимости от производительности по пене выпускаются следующие типоразмеры генераторов: ГПС-200; ГПС-600; ГПС-2000. Их технические характеристики представлены в табл. 3.11.
Таблица 3.11
| Показатель | Генератор пены средней кратности | ||
| ГПС-200 | ГПС-600 | ГПС-2000 | |
| Производительность по пене, л/с | |||
| Кратность пены | 80 – 100 | ||
| Давление перед распылителем, МПа | 0,4 – 0,6 | ||
| Расход 4-6% раствора пенообразователя, л/с | 1,6 – 2,0 | 5,0 – 6,0 | 16,0 – 20,0 |
| Дальность подачи пены, м | |||
| Соединительная головка | ГМ-5 | ГМ-70 | ГМ-80 |
Генераторы пены ГПС-200 и ГПС-600 по конструкции идентичны и отличаются только геометрическими размерами распылителя и корпуса. Генератор представляет собой водоструйный эжекторный аппарат переносного типа и состоит из следующих основных частей (рис. 3.26): корпуса генератора 1 с направляющим устройством, пакета сеток 2, распылителя центробежного 3, насадка 4 и коллектора 5. К коллектору генератора при помощи трех стоек крепится корпус распылителя, в котором вмонтирован распылитель 3 и муфтовая головка ГМ-70. Пакет сеток 2 представляет собой кольцо, обтянутое по торцевым плоскостям металлической сеткой (размер ячейки 0,8 мм). Распылитель вихревого типа 3 имеет шесть окон, расположенных под углом 12°, что вызывает закручивание потока рабочей жидкости и обеспечивает получение на выходе распыленной струи. Насадок 4 предназначен для формирования пенного потока после пакета сеток в компактную струю и увеличения дальности полета пены. Воздушно-механическая пена получается в результате смешения в генераторе в определенной пропорции трех компонентов: воды, пенообразователя и воздуха. Поток раствора пенообразователя под давлением подается в распылитель. В результате эжекции при входе распыленной струи в коллектор происходит подсос воздуха и перемешивание его с раствором. Смесь капель пенообразующего раствора и воздуха попадает на пакет сеток. На сетках
деформированные капли образуют систему растянутых пленок, которые, замыкаясь в ограниченных объемах, составляют сначала элементарную (отдельные пузырьки), а затем массовую пену. Энергией вновь поступающих капель и воздуха масса пены выталкивается из пеногенератора.
В качестве пенных пожарных стволов комбинированного типа рассмотрим установки комбинированного тушения пожаров (УКТП) «Пурга», которые могут быть ручного, стационарного и мобильного исполнения. Они предназначены для получения воздушно-механической пены низкой и средней кратности. Технические характеристики УКТП различного исполнения представлены в табл. 3.12. Кроме того, для этих стволов разработаны диаграмма радиуса действия и карта орошения (рис. 3.27), что позволяет более четко оценивать их тактические возможности при тушении пожаров.
Таблица 3.12
| Показатель | Установка комбинированного тушения пожара (УКТП) типа | ||||||
| Пурга-5 | Пурга-7 | Пурга-10 | Пурга-10.20.30 | Пурга- 20.60.80 | Пурга-30.60.90 | Пурга-200-240 | |
| Производительность по раствору пенообразователя, л/с | 5–6 | 200–240 | |||||
| Производительность по пене средней кратности, л/с | |||||||
| Дальность подачи струи пены средней кратности, м | 25–30 | 45–50 | 90–100 | ||||
| Рабочее давление перед стволом, МПа | 0,8 | 0,8 | 0,8 | 0,8 | 0,8 | 0,9–1,2 | 1,0–1,4 |
| Кратность пены | 60–70 | 30–40 | |||||
| Расход Пенообразователя, л/с | 0,36 | 0,4 | 0,8 | 1,8 | 4,8 | 5,0 | 12,0 |
Дата добавления: 2015-08-11; просмотров: 4765;
