Дозаторы
Для сухих реагентов,
суспензий,
растворов,
газов
Все дозаторы бывают: постоянного расхода;
пропорциональные.
Для сухих реагентов:
1. Весовые дозаторы 2. Дозатор звездочка.
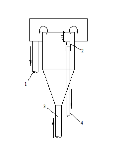
Весовой дозатор состоит:
из бункера 1 со сводообрутающим устройством 2, вращающим через редуктор двигателем 4, с вибратором 5. Транспортер 6.
Один из роликов транспортера стирается на коромысло весов 7. Весы находятся в равновесии под действием веса транспортера 6, и груза 8, перемещаемого по коромыслу весов электрода игателем. Если вес реагента на транспортере больше или меньше расчетного, равновесия нарушается, свободный конец коромысла весов перемещается вверх (доза масса) или вниз (доза велика), при этом он через тягу 10 воздействует на термопозиционное реле 11, которое управляет с помощью регулятора 12 частотой вибрации вибратора.
2. Дозатор постоянной дозы В.В. Хаванского Дозатор состоит из бочка 1, с раствором реагента, в котором плавает поплавок 2.Снизу поплавка прикреплена трубочка,
с одного конца которой вставляют диафрагмы.
На другой конец трубочки надевают резиновый шланг, присоединяемый
обратным концом к выпускной трубе над приемной воронкой. К трубочке под поплавком подсоединена воздушная трубка, чтобы рукав не сифонил. Поплавок обеспечивает дозирование раствора под постоянным напором и наиболее осветленного.
Автоматический дозатор В.Л. Чейшвили и И.Л. Крымского основан на измерении разности электропроводности воды до и после введения в нее коагулянта.
Дозатор состоит из двух электролитических ячеек (1,2), электролитической ячейки (3) температурной компенсации, автоматического электронного равновесного моста, и регулирующего крана 6 с электрическим приводом, установленным на трубопроводе, падающем раствор коагулянта в обрабатывающую воду.
При работе через ячейку 1 и 3 притекает не коагулированная вода, а через ячейку 2 коагулированная.
Импульсом для изменения дозы реагента является разность электропроводностей коагулированной и не коагулированной воды, или, иначе говоря разность сопротивления воды прохождению тока в электролитических ячейках 1 и 2. Если разность сопротивления отклоняется от заданной, то через электронный мост вызывает включение электропровода регулятора и изменение подачи раствора коагулянта в трубопровод обрабатываемой воды.
Точность дозирования достигает ± 5%. Неточность обусловливается непостоянством качества коагулянта.
Различают три способа дозирования реагентов: в виде растворов суспензий и виде сухого порошка. В РФ порошкообразные коагулянты выпускаются в ограниченном количестве, поэтому сухое дозирование коагулянтов применяется редко.
Чаще коагулянты дозируют в воду в виде растворов концентрацией от 1 до 10% (Повышение концентрации раствора уменьшает точность дозирования).
Известь, дозируемая в воду в виде гидроокиси кальция Са(ОН2) имеет растворимость в воде при 20° всего 0,123%. При необходимости получения более высоких концентраций извести ее приготавливают для дозирования в виде суспензии, называемой известковым молоком.
Устройства для растворения коагулянтов (сернокислого алюминия) которое поставляется на очистную станцию в виде кусков различной величины представляют собой баки различной емкости.
Растворные баки, где происходит загрузка коагулянтов, растворение их, осаждение их раствора нерастворимых примесей и удаление их. Растворный бак представляет собой прямоугольный в плане железобетонный резервуар с пирамидальным дном, колосниковой решеткой, на которую загружается подлежащий растворению коагулянт. Под решеткой укреплены горизонтально дырчатые трубы, по которым подается в бак сжатый воздух для барботирования раствора.
Съемный колосниковые решетки с прозорами 10-15 мм. Интенсивность подачи воздуха для растворения коагулянта - 810 л/сек м2 (для перемешивания при разбавлении 3-5 л/сек м2). Диаметр воздухораспределительных труб принимают из расчета скорости движения в них воздуха 10-15 м/сек, а число отверстий (диаметром 3-4 мм) - по скорости воздуха из них 20-30 м/сек. Отверстия в трубах направлены вниз.
Для растворения кусковых реагентов применяются баки с пропеллерной мешалкой.

Коагулянт загружают на колосниковую решетку, затем бак заполняют водой и включают пропеллерную мешалку. Пропеллер засасывает воду сверху и направляет ее вниз под колосниковую решетку. Вода поднимается через щели между колосниками и омывает куски коагулянта, ускоряя их растворение. Для хорошо растворимых реагентов растворные баки
(совмещенные с расходными) могут выполнятся в виде баков с двухлопастными мешками.
Из растворных баков раствор перепускают или сливают в расходные баки. Днища расходных баков делается с уклоном 0,05 к одной точке, откуда предусматривается сброс в водосток. Забор раствора производится при применении неочищенного коагулянта из верхнего слоя, поплавком при очищенном коагулянте снизу на 100 - 200 мм от дна.
Интенсивность подачи воздуха для перемешивания раствора с водой 3-5 л/сек м2.
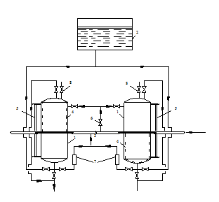
К дозаторам напорного типа пропорционального дозирования для раствора относятся так называемые Шайбовые дозаторы, представляющие собой закрытый бак, разделенный на две половины, соединяемые фланцами.
Установка состоит из двух переменно - работающих баков (дозаторов). Перед включением в работу один из дозаторов (снизу) заполняется раствором из расходного бака (2).
Вследствие разности давления, создаваемой диафрагмой на трубопроводе обрабатываемой воды, происходит вытеснение раствора из дозатора в трубопровод с водой по другую сторону диафрагмы (на величину потерь напора в диафрагме).
Пропорциональность дозирования достигается по тому, что перепад давления в диафрагме изменяется пропорционально расходу воды, протекающей по трубопроводу.
Для того чтобы раствор не смешивался с водой, предусматриваются резиновые мешки, зажимаемой между фланцами. Дозу реагента замеряют при помощи ротаметров.
Когда из одного дозатора раствор вытеснен полностью, его отключают и включают другой дозатор. Из первого дозатора воду сбрасывают в сток и снова заполняют его раствором реагента. На дозаторах установлены воздушные краны.
Для дозирования известкового молока (суспензии) применяется простейший дозатор постоянной дозы или Димба.
Известковое молоко с большим избытком насосом подается в дозатор, что обеспечивает перемешивание суспензии и постоянный напор над дозировочной диафрагмой. К каждому дозатору имеется набор тарированных диафрагм.
Широкое применение для дозирования раствора и суспензий реагентов в практике очистки воды нашли плунжерные, шестеренчатые и диафрагмовые насосы дозаторы, преимущество которых по сравнению с описанными выше является их компактность, возможность использования для дозирования реагентов в напорный трубопровод, легкость автоматизации.
Плунжерный насос ПР-5/6сQ=0,1-5м3/час Н=60м
Плунжерный насос НД сQ=25-2500л/ч Н=60м и другие марки.
До сих пор на многих водопроводах для дозирования применяют доски с отверстиями (Доска Игнатова) различного диаметра. Прочистка таких отверстий от засорения не составляет трудности.
Дата добавления: 2015-08-11; просмотров: 1976;
