Предохранители с жидкометаллическим контактом
Предельно отключаемый ток достигает 250 кА при напряжении 450 В переменного тока. Предохранители работают многократно с большим токоограничением.

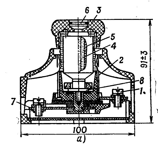
Рис. 6.7. Жидкометаллический предохранитель
1-электроизоляционная трубка, 2- жидкий металл, 3, 4 - электроды, 5- корпус,
6- уплотнение, 7,8- демпфирующее устройство.
В таком предохранителе электроизоляционная трубка 1 имеет капилляр, заполненный жидким металлом 2. Капилляр с жидким металлом герметично закрыт электродами 3, 4 и корпусом 5 с уплотнением 6 и имеет специальное демпфирующее устройство 7,8. При протекании большого тока жидкий металл в нем испаряется, образуется паровая пробка и электрическая цепь размыкается. После определенного времени пары металла конденсируются и контакт восстанавливается.
Дата добавления: 2015-08-11; просмотров: 1006;
