Классификация поршневых компрессоров
Холодильные поршневые компрессоры классифицируются по множеству отличительных особенностей, из которых наиболее значительные следующие:
1.По виду рабочего вещества холодильные компрессоры делятся на аммиачные, фреоновые, пропановые, воздушные и др.
Детали и узлы компрессоров изготавливают из таких конструкционных материалов, которые не вступают в химическую реакцию с холодильным агентом. Например, в аммиачных компрессорах исключается применение медных деталей, так как аммиак окисляет медь, что может привести к нежелательному омеднению стальных поверхностей. Фреоны являются наиболее текучими холодильными агентами. Поэтому, во избежание утечек, к материалам блок-картеров предъявляются повышенные требования (отсутствие микротрещин, раковин, рисок и т. д.).
2.По диапазону работы на высоко-, средне- и низкотемпературные.
Для высокотемпературных компрессоров стандартная температура кипения холодильного агента равна
, для среднетемпературных компрессоров
,для низкотемпературных
.
3.По холодопроизводительности на малые, средние и крупные.
К малым относятся компрессоры, имеющие холодопроизводительность
менее 12 кВт, к средним
от 12 до120 кВт, к крупным -
более 120кВт при стандартном среднетемпературном режиме.
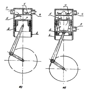
4.По конструкции кривошипно-шатунного механизма: крейцкопфные и бескрейцкопфные. (рисунок 3)

Рисунок 3 – Конструкции механизма движения компрессора.
а) крейцкопфный; б) бескрейцкопфный;
1-цилиндр;2-шатун; 3-поршень; 4-коленчатый вал; 5-крейцкопф; 6-шток; 7-нагнетательный клапан; 8-всасывающий клапан.
В крейцкопфных конструкциях компрессоров (рисунок 3а) движение от шатуна к поршню передается через специальный механизм-крейцкопф и шток. В бескрейцкопфных компрессорах движение от шатуна непосредственно передается поршню (рисунок 3б). В крейцкопфных компрессорах поршень имеет небольшую высоту, достаточную только для размещения колец, так как всю боковую нагрузку воспринимает на себя крейцкопф. В бескрейцкопфных компрессорах высота поршня значительно больше, здесь роль крейцкопфа выполняет нижняя часть поршня. В настоящее время в холодильной технике применяются в основном бескрейцкопфные компрессоры, как наиболее простые.
5.По количеству цилиндров: одно-, двух-, четырех-, шести- и так далее цилиндров (количество цилиндров может быть до шестнадцати). Так как валы холодильных компрессоров преимущественно двухколенчатые, то число цилиндров всегда четное, кроме одноцилиндровых с консольным или эксцентриковым валом.
6.По расположению осей цилиндров – вертикальные, горизонтальные, оппозитные и угловые (рисунок 4).

Рисунок 4 – Расположение осей цилиндров компрессоров.
а – вертикальный; б – горизонтальный; в – угловой; г – оппозитный, д – V-образный; е – W-образный.
В вертикальных компрессорах оси цилиндров расположены вертикально (рисунок 4а). У горизонтальных компрессоров оси цилиндров проходят горизонтально по одну сторону коленчатого вала (рисунок 4б). Расположение осей цилиндров у оппозитного компрессора также горизонтальное, только по обе стороны коленчатого вала (рисунок.4г). Угловые компрессоры имеют часть цилиндров, расположенных горизонтально, часть - вертикально (рисунок 4в). В последнее время большое распространение получили угловые компрессоры, у которых оси цилиндров расположены Y-образно с углом развала от
до
(рисунок 4д) и веерообразно с углом развала от
до
(рисунок 4е).
7.По типу газораспределения в цилиндре: прямоточные и непрямоточные (рисунок 5,6,7).

Рисунок 5 – Схема прямоточного (а) и непрямоточного (б) компрессора.

Рисунок 6 – Прямоточный компрессор

Рисунок 7 – Непрямоточный компрессор
1 — блок картер, 2 — всасывающий патрубок, 3 — блок цилиндров, 4 — крышка цилиндров, 5 — клапанная группа, 6 — нагнетательный патрубок, 7 — шатунно-поршневая группа, 8—коленчатый вал, 9 – фильтр
В прямоточных компрессорах пар всегда движется в одном направлении. Нагнетательный клапан неподвижно закреплен в клапанной доске в верхней части цилиндра, а всасывающий клапан находится в верхней части поршня и движется вместе с ним (рисунок 5а). В непрямоточных компрессорах, всасывающий и нагнетательный клапан неподвижны и расположены в клапанной доске в верхней части цилиндра. При всасывании и нагнетании пар холодильного агента в цилиндре меняет свое направление (рисунок 5б).
8.По количеству ступеней сжатия на одно-, двух-, многоступенчатые.
Количество ступеней сжатия выбирается в зависимости от того, какой термодинамический цикл осуществляется в холодильной машине. Сжатие в одной ступени экономически не эффективно при отношении давления нагнетания и всасывания :

В многоступенчатом поршневом компрессоре одна часть цилиндров работает на низкую ступень, другая – на ступень высокого давления.
9.По степени герметичности на герметичные, бессальниковые и сальниковые.

Рисунок 8 - Герметичный холодильный компрессор
1 – электродвигатель , 2 – коленчатый вал , 3 – шатунно-поршневая группа, 4 – блок цилиндров, 5 – глушитель шума , 6 – кожух.
В герметичных компрессорах весь механизм движения вместе с электродвигателем помещен в один неразъемный сварной кожух (рисунок 8). Бессальниковый компрессор имеет картер со встроенным электродвигателем (рисунок 9). Картер выполнен со съемными крышками, обеспечивающим доступ к клапанам, механизму движения и электродвигателю. Сальниковые компрессоры соединяются с приводом через муфту или ременную передачу. Тут герметичность между выходным концом коленчатого вала и корпусом достигается установкой специального устройства-сальника.


Рисунок 8 - Бессальниковый холодильный компрессор.
1 — блок картер, 2 — ротор электродвигателя, 3 — статор электродвигателя, 4 — герметизированные электровводы
10.По взаимному креплению цилиндра и картера: на блок-картерные и блок-цилиндровые.
Блок-картерные конструкции имеют блок цилиндров и картер в общей отливке. В блок-цилиндровых компрессорах картер и блок цилиндров отдельные детали, крепящиеся друг к другу болтами. Блок-цилиндровые компрессоры применяются в настоящее время сравнительно редко и только в малых холодильных компрессорах.
11.По числу рабочих полостей цилиндра: на компрессоры простого действия и двойного действия.
В компрессорах простого действия сжатие пара осуществляется одной стороной поршня, а в компрессорах двойного действия обеими сторонами поршня, соответственно в двух рабочих полостях цилиндра. Крейцкопфные компрессоры в основном двойного действия (рисунок 3а), бескрейцкопфные – простого действия (рисунок 3б).
12.По виду охлаждения: на компрессоры с водяным охлаждением и с воздушным охлаждением, с охлаждением паром холодильного агента, с комбинированным охлаждением.
При водяном охлаждении верхняя часть цилиндров, а иногда и крышки, имеют водяную рубашку, выполненную в блок-картере или в блок-цилиндре. В компрессорах с воздушным охлаждением для увеличения теплопередающей поверхности на блок-цилиндрах и крышках делается оребрение.
13.По способу смазки трущих деталей: на компрессоры с принудительной смазкой, разбрызгиванием, комбинированной смазкой и без смазки.
Для смазки поверхностей трения используется специальное жидкое масло, которое находится в нижней части картера компрессора. Принудительная смазка осуществляется при помощи масляного насоса через просверленные отверстия в коленчатом вале и шатуне.
При смазке разбрызгиванием, масляного насоса нет, а смазка осуществляется за счет разбрызгивания масла по всему внутреннему объему компрессора. При комбинированной смазке применяется совместное действие принудительной системы смазки и разбрызгиванием. В настоящее время выпускаются крейцкопфные компрессоры, у которых цилиндропоршневая группа не смазывается, а кривошипно-шатунный механизм имеет обычную циркуляционную смазку от насоса. Для предотвращения попадания масла к цилиндрам, в них на штоке, между поршнем и крейцкопфом, устанавливается сальник. Прошли успешные испытания бескрейцкопфные поршневые компрессоры без смазки, где полностью отсутствует жидкое масло. В таких компрессорах шатунные подшипники, поршневые кольца, втулки верхних головок шатунов изготовлены из композиционных антифрикционных материалов с низким коэффициентом трения. Имеются также компрессоры без смазки, в нижних головках шатунов которых установлены герметизированные подшипники качения с консистентной смазкой. Такие компрессоры имеют разъемный вал.
Дата добавления: 2015-07-10; просмотров: 2920;
