Сдвигающий регистр
Последовательный сдвигающий регистр является, как правило универсальным и может выполнять все доступные для регистров микрооперации. Для этого разрядные схемы, входящие в его состав, соединены между собой. Рассмотрим однотактный сдвигающий регистр с возможностью параллельной записи информации (рис. 3). Для упрощения на рис. 3 показаны только две разрядные схемы регистра.

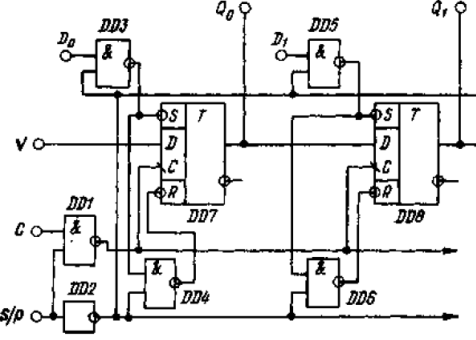
Рис. 3. Фрагмент структурной схемы сдвигающего регистра
Выбор режима работы регистра определяется значением сигнала на входе s/p. При сигнале s/p = 0 элемент DD1 2И-НЕ, формируя на своем выходе сигнал лог. 1, независимо от сигнала синхронизации, поданного на вход C, блокирует синхронное переключение триггеров разрядных схем регистра. Одновременно выходной сигнал инвертора DD2 преобразует элементы 2И-НЕ DD3 и DD5 в инверторы, и сигналы, присутствующие на входах параллельной записи информации D, переписываются в триггеры разрядных схем. Элементы DD4 и DD6 в данном режиме также работают как инверторы, предотвращая возможность одновременной подачи на асинхронные входы R- и S- триггеров двух активных логических уровней.
Если s/p = 1, параллельная запись информации становится невозможной, так как логические элементы DD3 – DD6 независимо от сигналов на входах параллельной записи D формируют на асинхронных входах R- и S- триггеров пассивные логические сигналы. Одновременно элемент DD1 2И-НЕ превращается в инвертор и по фронту импульса синхронизации информация со входа V (вход последовательного приема информации) записывается в триггер первой разрядной схемы регистра. В триггер второй разрядной схемы переписывается информация из первой разрядной схемы и т.д. Регистр выполняет прием информации в последовательном виде и сдвиг ранее записанной в него информации влево (из младшего разряда в старший).
Условное графическое изображение 4-разрядного регистра сдвига показано на рис. 4.

Рис. 4. Условное графическое обозначение сдвигающего регистра
Если регистр выполняет операцию сдвига информации вправо из старшего разряда в младший, то на его условном обозначении стрелка указывает вправо. Если стрелки показывают в обе стороны, то такой регистр является реверсивным, и направление сдвига информации определяется управляющим сигналом.
Схемотехнически этого можно добиться введением в разрядные схемы дополнительных элементов 2×2 И-ИЛИ (рис. 5), использующихся в качестве мультиплексора, изменяющего направление передачи сигнала. При S = 1 входы и выходы различных разрядных схем соединяются так, чтобы выполнять сдвиг информации влево, а при S = 0 – вправо.

Рис. 5. Фрагмент схемы реверсивного сдвигающего регистра
В сдвигающих регистрах используются только двухступенчатые триггеры или триггеры с динамическим управлением. Это гарантирует сдвиг информации строго на один разряд по каждому импульсу синхронизации. При использовании других триггеров процесс сдвига становится неуправляемым и за один импульс синхронизации информация может быть сдвинута на несколько разрядов.
Дата добавления: 2015-08-08; просмотров: 1350;
