Котельные установки
В теплоэнергетике котельные установки наиболее широко используются для выработки электроэнергии на тепловых электростанциях (ТЭС). Из котлоагрегатов некоторых таких установок поступает до 3500 т пара в час с давлением до 26,5 МПа и температурой 540 – 570 0С. Для теплоснабжения используются менее мощные котельные установки. Часть из них служит для комбинированной выработки тепла и электроэнергии, их называют теплоэлектроцентралями (ТЭЦ). Другие обеспечивают горячей водой или паром различного рода потребителей.
Котельные установки классифицируются по назначению, по тепловой мощности, по виду используемого горючего и типу котельного агрегата.
Котельная установка – это сложное инженерное сооружение, включающее комплекс конструкций и технологических процессов. Принципиальная схема котельной установки на газовом горючем представлена на
рис. 4.1.
Любая котельная установка состоит из следующих основных объектов:
– котельного агрегата;
– системы подачи горючего;
– системы подачи окислителя;
– системы подачи воды;
– системы удаления продуктов сгорания;
– системы контроля и автоматического регулирования режима работы.
Каждая из этих систем занимает свое место в общей цепочке технологии получения горячей воды или пара котельной установкой. Рассмотрим поочередно эти системы.
4.2.1. Котельный агрегат
Котельный агрегат это своего рода теплообменный аппарат, в котором для получения высокотемпературного теплоносителя используется химический теплогенератор (топка). В нем от факела пламени горящего топлива и продуктов сгорания теплота передается нагреваемой воде через стенки различного конструктивного выполнения.
Промышленностью выпускаются котельные агрегаты различного предназначения – паровые, водогрейные и комбинированные. По виду горючего различают: газовые котлы (природный газ, попутный газ, биогаз), котлы на жидком горючем (горючие нефтяного происхождения, синтезированные горючие), котлы на твердом горючем (угли всех сортов, различные формы биомасс). Все эти типы котлов используют в качестве окислителя кислород воздуха.
Паровые котельные агрегаты стандартизованы (ГОСТ 3619-76) по паропроизводительности и параметрам пара. Котельные агрегаты паропроизводительностью до 20 т/ч относятся к котлам малой мощности, до 110 т/ч к котлам средней и более 110 т/ч – к котлам большой мощности.
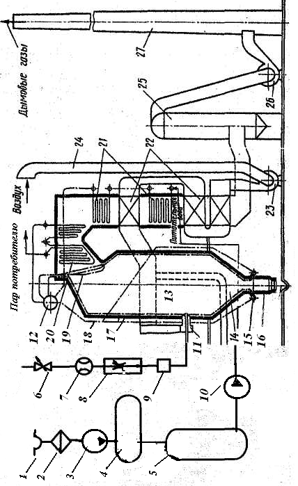
| Рис. 4.1. Схема котельной установки на газовом горючем: 1 -– заборное устройство, 2 -– фильтр, 3 – насос, 4 – отстойник, 5 – катионатор, 6 – запорный вентиль, 7 – расходомер, 8 – редуктор, 9 -–регулятор подачи газа, 10–насос, 11– горелка, 12– барабан котла, 13– топка, 14–холодная воронка, 15–коллекторы экранов, 16 –шлаковый комод, 17 – топочные экраны (подъемные трубы), 18 – водоподводящие (отпускные) трубы, 19–фестон, 20 – пароперегреватель, 21– водяной экономайзер, 22 — воздухоподогреватель, 23 — дутьевой вентилятор, 24 — воздуховод, 25 — газоочистительная установка, 26-– дымосос, 27 -– дымовая труба |
По давлению вырабатываемого пара котельные агрегаты разделяются на следующие: низкого давления (0,8…1,6 МПа); среднего (2,4…4 МПа); высокого (10…14 МПа) и сверхвысокого (25…31 МПа) давления.
По схеме размещения теплоносителей котлы выполняются двух типов: газотрубные и водотрубные. В газотрубных котлах продукты сгорания перемещаются внутри жаровых или дымогарных труб, которые снаружи омываются нагреваемой водой. Более совершенными являются водотрубные паровые котлы. За счет труб, заполненных водой и пароводяной смесью и обтекаемых снаружи продуктами сгорания топлива, реализуется большая поверхность теплопередачи. Котлы относятся к горизонтально – водотрубным, если трубы расположены под углом к горизонту не более 250. Вертикально – водотрубным называют котлы, если трубы установлены вертикально или с наклоном более 250.
Котел и газоход для удаления продуктов сгорания по форме похожи на некоторые буквы русского алфавита, отсюда котлы бывают Т, Г, П – образной формы.
Каждый тип котла имеет свою специфическую маркировку. Для паровых котлов маркировка определяется ГОСТ 3619-82. Маркировку обозначают буквами и цифрами, например, Е – котел с естественной циркуляцией нагреваемого теплоносителя; Пр – принудительная циркуляция; вид горючего (Г – газ, М – мазут, К – каменный уголь). Цифра означает паропроизводительность котла в т/ч. Например, маркировка Е–35–ГМ означает: паровой котел с естественной циркуляцией, номинальной паропроизводительностью 35 т/ч, работающий на газе или мазуте.
Ряд котлов имеет заводскую (не гостовскую) маркировку. Так котел марки ДКВР обозначает: двухбарабанный котел, вертикально-водотрубный, реконструированный.
В качестве примера рассмотрим устройство типового котельного агрегата средней мощности для ТЭС. На рис.4.2 приведена схема вертикального П – образного котла с факельной топкой.
Силовую нагрузку котла воспринимает к а р к а с5, выполненный в виде пространственной металлической (иногда железобетонной) конструкции из колон и балок. На каркас монтируется о б м у р о в к а 16 – это стены и перекрытия котельного агрегата, состоящие из кирпича или специальных плит и щитов. Обмуровка отделяет от наружного пространства топку 2 и газоходный канал 17. Так как температура продуктов сгорания в топке достигает примерно 1500 0С, а на входе в газоход – 1000 0С, то материал обмуровки должен обладать высокими теплоизоляционными свойствами. Внутренняя часть обмуровки топки, выполняемая из огнеупорных материалов, называется ф у т е р о в к о й. Г о р е л к а 3 предназначена для подготовки топливной смеси и ее воспламенения.

Рис. 4.2. Котельный агрегат:
1 – нижний коллектор; 2 – топка ; 3 – горелка; 4 – опускные трубы; 5 – каркас; 6 – пароотделитель; 7 – барабан; 8 – паровое пространство; 9 – экранные трубы; 10 – финкстонные трубы; 11 – задвижка; 12 – пароперегреватель; 13 – коллектор пароперегревателя; 14 – водяной экономайзер; 15 – воздухоподогреватель; 16 – обмуровка; 17 – газоходный канал
По о п у с к н ы м т р у б а м 4, расположенным снаружи котельного агрегата, вода поступает в коллекторы 1э к р а н н ы х т р у б 9. Эти трубы монтируются вертикально изнутри котла, создавая защитный тепловой экран между факелом пламени и обмуровкой. Для выхода продуктов сгорания в верхней части задней стенки котла однорядный экран разводится в многорядный пачек труб 10, называемый ф е с т о н о м. В экранных трубах и фестоне вода кипит и пароводяная смесь поступает в так называемый
б а р а б а н7. Здесь пар отделяется от воды, заполняет паровое пространство 8 и далее через п а р о п е р е г р е в а т е л ь 12 поступает в паровой коллектор 13 и при помощи задвижки 11 выдается потребителю.
Продукты сгорания топлива за фестоном на своем пути в газоходе омывают два водяных э к о н о м а й з е р а 14 и два в о з д у х о п о д о-
г р е в а т е л я 15. В результате теплопередачи в этих теплообменниках температура газов на выходе из газохода составляет около 170 0С.
4.2.2. Системы подачи горючего и окислителя
Сложность технологических процессов подачи топлива в топку котельного агрегата определяется в основном фазовым составом горючего.
Так при использовании угля в качестве горючего с целью повышения полноты его сгорания и упрощения конструкции топки, подача этого компонента осуществляется в мелкодисперсном состоянии. Следовательно, поступающий к котлу уголь необходимо просушить, раздробить до пылеобразного состояния и обеспечить подачу в топку.
Если в качестве горючего используется мазут, то осуществляется предварительный его подогрев для обеспечения требуемого распыла. Детально системы подачи твердых и жидких горючих рассмотрены, например, в

При использовании газообразного горючего система подачи упрощается и, что не менее важно, создается возможность автоматизации ее процесса. На рис. 4.1 система подачи газообразного горючего включат запорный вентиль 6, расходомер 7, редуктор 8, регулятор подачи газа 9.
В котельных установках в качестве окислителя используется кислород воздуха. Отсюда, системы подачи окислителя для всех составов горючих идентичны. На рис. 4.1 система подачи воздуха состоит из воздухово-
да 24, дутьевого вентилятора 23 и воздухоподогревателей 22.
4.2.3. Система водоснабжения котельной установки
Для нагрева в котел подается смесь, состоящая из конденсата отработанного пара и природной воды. В природной воде могут содержаться грубодисперсные вещества; механические примеси (песок, глина и пр.); коллоидные составляющие (продукты распада растительных организмов); молекулярные и монодисперсные вещества (газы: О2, СО2 , H2 S и соли: хлориды, сульфаты, силикаты, бикарбонаты, нитраты).
Растворенные в воде соли кальция и магния характеризуют ее жесткость. В процессе нагрева воды в котлах соли жесткости осаждаются на поверхностях нагрева в виде плотного слоя, называемого н а к и п ь ю, и рыхлого осадка – ш л а м а . Из-за низкого коэффициента теплопроводности накипи и шлама ухудшается процесс теплопередачи, что приводит к снижению
экономичности котельной установки и перегреву теплопередающей стенки.
Растворимые в воде кислород и углекислый газ вызывают коррозию трубопроводов и поверхностей нагрева.
С целью получения требуемого качества воды проводится ее предварительная о б р а б о т к а, которая включает: осветление, умягчение и деаэрацию.
О с в е т л е н и е воды предназначено для удаления грубодисперсных веществ, механических примесей, коллоидных составляющих. Здесь используются фильтры разной степени очистки и отстойники. Осветление в отстойниках происходит значительно быстрее и полнее при наличии в воде специальных реактивов – к о а г у л я н т о в. Благодаря этим реактивам мелкодисперсные и коллоидные частицы укрупняются, увеличивается скорость их осаждения и они лучше задерживаются фильтрующими материалами.
Д е а э р а ц и я позволяет удалить из воды агрессивные газы. Наиболее распространенным способом деаэрации является термический способ. Он основан на свойстве О2 и СО2 снижать степень растворимости в воде при повышении ее температуры. В устройствах (по сути, в смесительных теплообменниках), называемых деаэраторами, вода разбрызгивается и нагревается паровым конденсатом, что приводит к удалению агрессивных газов.
У м я г ч е н и е воды проводят в основном методом катионного обмена. Его основой является способность нерастворимых в воде веществ – катионов (Ca+, Mg+, Cu+, Fe+) заменять свои обменные катионы на катионы солей воды в процессе ее фильтрования через слой катионита. Образовавшиеся в результате катионного обмена в воде соли не отлагаются на поверхности нагревающих стенок. Обработка воды подробно изложена в
. На рис. 4.1 система подачи воды включает: 1 – заборное устройство; 2 – фильтр; 3 - насос; 4 – отстойник; 5 – катионатор; 10 – насос.
4.2.4. Система удаления продуктов сгорания топлив
На выходе из котла энтальпия продуктов сгорания еще очень высокая (температура газов около 1000 0С). При движении газов по газоходу 17 (рис. 4.2) эта энергия утилизируется вначале в пароперегревателях 12, затем в водяных экономайзерах 14 и в воздухоподогревателях 15. В целом в газоходе температура газов снижается примерно до 170 0С. С целью уменьшения выброса вредных веществ в атмосферу продукты сгорания проходят через газоочистительную установку 25 (рис. 4.1). Для улучшения так называемой тяги для газов перепад давления увеличивается дымососом 26 и дымовой трубой 27.
Cистема контроля и автоматического регулирования режима работы котельной установки включает: элекрофицированную схему с мониторами, функционирующую по введенной программе, и операторов, контролирующих выполнение заданной программы.
Дата добавления: 2015-08-04; просмотров: 1451;
