Струнные преобразователи (Датчики)

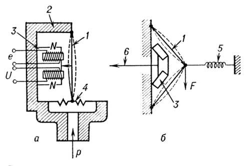
Чувствительный элемент С. д. — натянутая вольфрамовая или стальная струна (несколько струн). Действие С. д. основано на зависимости собственной частоты колебаний струны f0 от её длины l массы m и силы натяжения F (либо механического напряжения s или удлинения Dl):
,
где r и E — соответственно плотность и модуль упругости материала струны. Основные элементы С. д.: механическая система со струной (струнами) и вторичный преобразователь (обычно электромагнитного или магнитоэлектрического типа), преобразующий изменение частоты колебаний механической системы в изменение параметра электрической цепи.
С. д. делятся на однострунные и дифференциальные, имеющие две идентичные струны (рис.). Дифференциальное включение струн позволяет значительно уменьшить влияние окружающей среды (температуры, давления) на результаты преобразования входного параметра. Основной недостаток однострунных датчиков — резко нелинейная статическая характеристика; у дифференциальныхС. д. нелинейность статической характеристики значительно меньше. Точность преобразования С. д. увеличивается, если основной составляющей жёсткости механической системы является жёсткость струны. Пример С. д. — струнный дифференциальный гравиметр, имеющий относительную, погрешность преобразования не выше ± (10–6— 10–8).
Дата добавления: 2015-08-04; просмотров: 1415;
