Цифровые вольтметры
Цифровые вольтметры (ЦВ) – это цифровые приборы, автоматически вырабатывающие дискретные сигналы измерительной информации, показания которых представляются в цифровой форме [2-6]. В ЦВ в соответствии со значением измеряемого напряжения образуется код, а затем в соответствии с кодом измеряемая величина представляется на отсчетном устройстве в цифровой форме.
Упрощенная структурная схема ЦВ [5], состоящая из входного устройства (ВУ), аналогово-цифрового преобразователя (АЦП), цифрового отсчетного устройства (ЦОУ), управляющего устройства (УУ), приведена на рис. 5.

ВУ содержит делитель напряжения. АЦП преобразует аналоговый сигнал в цифровой, представляемый цифровым кодом. Процесс аналого-цифрового преобразования составляет сущность любого цифрового прибора, в том числе и ЦВ. Использование в АЦП цифровых вольтметров двоично-десятичного кода облегчает обратное преобразование цифрового кода в десятичное число, отражаемое ЦОУ. ЦОУ измерительного прибора регистрирует измеряемую величину. УУ объединяет и управляет всеми узлами вольтметра.
По типу АЦП цифровые вольтметры могут быть разделены на четыре основные группы:
1) кодово-импульсные (поразрядного уравновешивания);
2) время-импульсные;
3) частотно-импульсные;
4) пространственного кодирования.
В настоящее время ЦВ строятся чаще всего на основе кодово-импульсного и времяи-мпульсного преобразования. В кодово-импульсном ЦВ постоянного тока выполняется последовательное сравнение измеряемого напряжения с рядом дискретных значений известной величины, изменяющейся по определенному закону, заложенному в схеме вольтметра, которая либо больше, либо меньше измеряемого напряжения, но постепенно стремится к нему до тех пор, пока не будет достигнуто равенство измеряемой и известной величин. Процесс измерения напряжения в кодово-импульсном вольтметре напоминает взвешивание на весах, поэтому такие приборы иногда называют ЦВ поразрядного уравновешивания. Точность кодово-импульсного ЦВ зависит от стабильности опорного напряжения, точности изготовления делителя, порога срабатывания сравнивающего устройства.
Принцип действия время-импульсного ЦВ основан на преобразования с помощью АЦП измеряемого напряжения в пропорциональный интервал времени, который заполняется счетными импульсами, следующими с известной стабильной частотой следования. В результате такого преобразования дискретный сигнал измерительной информации на выходе преобразователя имеет вид пачки счетных импульсов, число которых пропорционально уровню измеряемого напряжения.
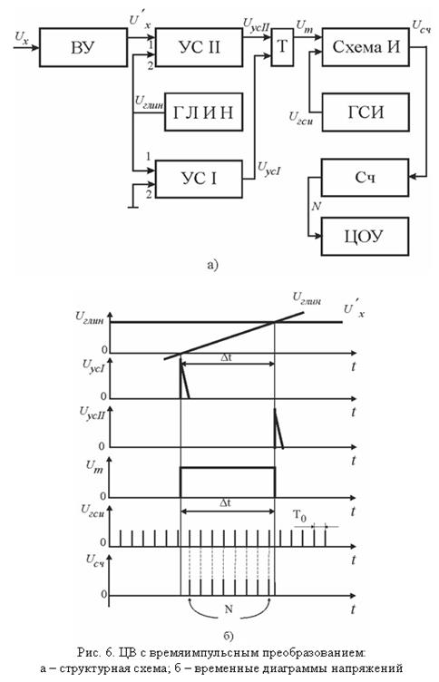
В качестве примера, иллюстрирующего принципы построения таких устройств, на рис. 6 приведены упрощенная структурная схема и временные диаграммы, поясняющие работу время-импульсного ЦВ с генератором линейно изменяющегося напряжения (ГЛИН) [5]. В этом вольтметре измеряемое напряжение
через входное устройство (ВУ), обеспечивающее большое входное сопротивление и расширение пределов измерения вольтметра, подается на вход 1 устройства сравнения (УС) II. Линейно изменяющееся во времени напряжение
с ГЛИН поступает соответственно на входы 1 и 2 и УС I и II. Вход 2 УС I соединен с корпусом. В момент, когда на входе 2 УС I напряжение
, на его выходе возникает импульс
условно фиксирующий нулевой уровень входного сигнала. Этот импульс, подаваемый на единичный вход триггера (T), вызывает появление положительного напряжения на его выходе. Возвращается T в исходное состояние импульсом
, поступающим с выхода УС II и возникающим в момент равенства измеряемого
и линейно изменяющегося напряжения
.

Сформированный в результате на выходе T импульс
длительностью
, (21)
где
– коэффициент преобразования, подается на вход схемы И, на второй вход которой с генератора счетных импульсов (ГСИ) поступает сигнал
, следующих с частотой:
. (22)
На выходе схемы И сигнал
появляется только при наличии импульсов
и
на обоих ее входах, т. е. счетные импульсы проходят через схему И тогда, когда присутствует сигнал на выходе триггера.
Количество прошедших через схему И счетных импульсов
, (23)
подсчитывается счетчиком (Сч) и отображается на индикаторе ЦОУ.
Из выражений (22) и (23) получаем формулу для определения измеряемого напряжения:
. (24)
В вольтметре значение
выбирают равным
, где
– число определяющее положение запятой в цифровом отсчете. Поэтому ЦВ непосредственно показывает значение измеряемого напряжения.
Рассмотренный цикл работы ЦВ периодически повторяется. Возврат ГЛИН в исходное состояние и подготовка схемы к очередному измерению осуществляется автоматически.
Формула (24) не учитывает погрешности дискретности из-за несовпадения момента появления счетных импульсов с началом и концом интервала
. Еще большую погрешность вносит фактор нелинейности коэффициента преобразования
. Недостатком метода времяимпульсного преобразователя является также его невысокая помехоустойчивость. Шумовая помеха, наложенная на измеряемое напряжение
изменяет его и, следовательно, изменяет момент появления импульса
, определяющего длительность времени счета.
Дата добавления: 2015-08-01; просмотров: 1101;
