Спиртоочистка
Высаливание
Высаливание заключается в том, что под действием значительных количеств насыщенного раствора сильного электролита высокомолекулярные природные соединения (белки, камеди, слизи, пектины) выпадают из вытяжек в осадок. Это происходит потому, что при добавлении в вытяжку раствора электролита образующиеся ионы электролита гидратируются, отнимая воду у молекул биополимера. Исчезает защитный гидратный слой молекул биополимера. Наблюдаются слипание частиц и осаждение биополимера. Высаливание довольно широко применяется для очистки белковых лекарственных препаратов, например пепсина. Термин «высаливание» получил название от процесса осаждения белков при добавлении к их растворам хлорида натрия.
Наибольшей высаливающей активностью обладает Li2SO4, однако обычно для этой цели используют хлорид натрия, который дешевле.
Спиртоочистка
Механизм спиртоочистки аналогичен механизму высаливания. При к водному раствору биополимеров спирт отнимает у их молекул защитную гидратную оболочку и при этом сам гидратируется. Спиртоочистка находит широкое применение при получении галеновых препаратов, причем эффект частичной очистки от биополимеров достигается уже в процессе экстракции сырья, если применяется в качестве экстрагента спирт концентрации не ниже 70%.
Денатурация
Поскольку белки весьма чувствительные к воздействию самых различных внешних факторов (нагрев, УФ-радиация, ультразвук и др.), то под воздействием этих факторов они видоизменяются, образуют осадки. Этот процесс называется денатурацией белков. Этим свойством пользуются для очистки растительных вытяжек от белков. Если вытяжку кипятить, то денатурированный белок выделится в виде осадка, который отделяют фильтрацией. Кипячение позволяет освободиться только от белков.
Диализ и электродиализ
Диализ основан на свойствах молекул биополимеров, имеющих большие размеры, не проходить через полупроницаемые мембраны, в то время как вещества с меньшими размерами молекул проходят через них довольно свободно. Для диализа используют пленки из желатина, целлофана, коллодия, нитроцеллюлозы.
Процесс диализа протекает обычно довольно медленно. Диализ ускоряется при повышении температуры, увеличении площади диализа и приложении электрического тока. В последнем случае наблюдается явление электродиализа, которому подвержены в основном вещества, распадающиеся на ионы.
Простейшая установка для электродиализа состоит из емкости, разделенной двумя полупроницаемыми перегородками на три отсека. В крайние отсеки опущены катод и анод, в средний отсек наливается диализуемая вытяжка. Катионы под действием электрического тока двигаются через полупроницаемые перегородки к аноду, анионы – к катоду. В среднем отсеке остаются вещества, которые не проходят через полупроницаемые перегородки. В процессе работы периодически или непрерывно производится отвод вытяжки растворов продиализованных веществ.
Жидкостная экстракция или хроматографическая абсорбция
Абсорбция – поглощение вещества всем объемом твердой или жидкой фазы.
Жидкостная экстракция или хроматографическая абсорбция – очистка в системах жидкость-жидкость.
Основана на избирательной растворимости БАВ в экстрагенте и переход вещества из одной жидкости в другую, не смешивающуюся с первой. Переход вещества из одной фазы в другую подчиняется законам массопередачи, растворимости и межфазного равновесия. Если вещество очень хорошо растворимо в фазе В, а в фазе А – хуже, то большее количество вещества перейдет в фазу В. В процессе жидкостной экстракции возникает всегда тройная система: фаза А, фаза В и экстрагируемое вещество.
Полученная смесь расслаивается на две фазы:
1) на экстракт – раствор, обогащенный распределяемым компонентом В,
2) на рафинат – раствор, обедненный компонентом В
Причем составы экстракта и рафината находятся в равновесии друг с другом.
Жидкостная экстракция может идти ступенчато и непрерывно. Ступенчатую экстракцию можно разделить на:
1) одноступенчатую – экстракция проводится в одном аппарате,
2) многоступенчатую – экстракция проводится в нескольких аппаратах. Многоступенчатая экстракция может быть прямоточной и противоточной.
Наиболее простой экстрактор – аппарат с мешалкой, работающий по принципу делительной воронки. Перемешивание должно быть очень медленным, поскольку почти все вытяжки содержат сапонины, которые вызывают образование пены. Экстрагирование должно быть многократным, чтобы извлечь как можно больше экстрактивных веществ.
Распылительные экстракторы. Распылительный экстрактор представляет собой полую колонку, заполненную одной из жидкостей – сплошной фазой. На рисунке показан экстрактор, в котором сплошной фазой является тяжелая жидкость. Для создания большей поверхности контакта фаз другая жидкость распыляется при помощи распределительного устройства в сплошной фазе. На определенном уровне капли дисперсной фазы сливаются и образуют слой, отделенный от сплошной фазы поверхностью раздела. Сверху и снизу экстракционная колонка расширена, что способствует лучшему отстаиванию фаз.
Рис. Распылительный экстрактор. 1 – тяжелая жидкость; 2- поверхность раздела фаз; 3 – легкая жидкость; 4 – распределительное устройство.

Экстракторы с тарелками-перегородками. В таких колонках (рисунок) для уменьшения обратного перемешивания и для турбулизации потоков фаз установлены перегородки в виде чередующихся друг с другом плоских дисков (или тарелок) и колец. Расстояние между перегородками 75-150 мм и более. Контакт между фазами осуществляется при обтекании перегородок дисперсной фазой в виде тонкой пленки (при коалесценции капель) и при движении капель дисперсной фазы в пространстве между перегородками.
Рис. Экстрактор с тарелками-перегородками. 1 – легкая жидкость; 2 – тяжелая жидкость; а – колонка с дисковидными перегородками; б -колонка с тарелковидными перегородками.
Пульсационные экстракторы. Пульсационный экстрактор (рисунок) представляет собой колонну с ситчатыми тарелками для перетока сплошной фазы. В колонке при помощи специального механизма (пульсатора) жидкости сообщаются пульсации – колебания небольшой амплитуды (10-25 мм) и определенной частоты. В качестве пульсатора чаще всего используют бесклапанный поршневой насос, присоединяемый к днищу колонны или к линии подачи легкой жидкости. При сообщении жидкости пульсаций происходит многократное тонкое диспергирование одной из фаз, что обусловливает интенсивную массопередачу.
Рис. Пульсационный экстрактор. 1 – тяжелая жидкость; 2 – легкая жидкость; а – пульсатор присоединен к днищу колонки; б – пульсатор присоединен к трубопроводу для подачи легкой жидкости
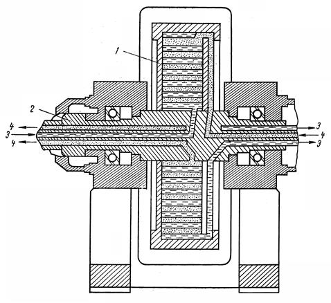
Центробежные экстракторы. Наиболее распространен центробежный экстрактор, показанный на рисунке. Корпус аппарата представляет собой цилиндрический барабан 1, быстро вращающийся на горизонтальном валу 2 (1500-5000об/мин). Внутри барабан разделен спиральной перфорированной перегородкой 3 на каналы 4 прямоугольного сечения. Контактируемые жидкие фазы подают с помощью насосов через вал по обособленным каналам, тяжелая жидкость подводится к периферии барабана. В барабане жидкости движутся противотоком, они многократно смешиваются, главным образом при истечении через отверстия в перегородке, и разделяются под действием центробежных сил. Рафинат и экстракт удаляются также через обособленные каналы вала. Аппараты такого типа отличаются высокой интенсивностью разделения.

Рис. Центробежный экстрактор. 1 – барабан; 2 – вал; 3 – тяжелая жидкость; 4 – легкая жидкость
Батарея перфораторов (4) работает на гравитационном принципе с патрубками для вывода жидкости из нижней и верхней частей сосуда. Внутри сосуда находится труба, которая внизу заканчивается ситчатым воронкообразным расширением 6. Имеются и другие конструкции перфораторов (например, с ситчатыми дисками 5 и др.). В перфораторы I – V наливают тяжелую жидкость (хлороформ), после чего в трубу из емкости 3 подают сгущенную вытяжку, которая стекает вниз в воронку 6 и вследствие того, что она легче хлороформа, мелкими струйками поднимается вверх через весь слой хлороформа.
После того как водная жидкость, скопившаяся над хлороформом, достигнет верхнего патрубка, она переливается во второй перфоратор II для повторного извлечения. Жидкостная экстракция обычно производится в батарее из 4-5 перфораторов до полного извлечения БАВ из водной жидкости. Перфорацией удается освободиться от балластных веществ (белки, слизи и др.), поскольку они в хлороформе нерастворимы. Хлороформное извлечение поступает в вакуум-аппарат 7.

Рис. Схема перфорационной установки. 1 – трубопровод; 2 – насос; 3 – бак; 4 – крышка; 5 – решетка-аппарат; 6 – перфорационная воронка; 7 – вакуум-аппарат; 8 – сборник.
Хроматографическая адсорбция и ионообменная хроматография
Адсорбция –поглощение вещества на поверхности сорбента. Поверхность сорбента обычно очень велика, так как на ней имеется огромное количество пор. Процесс адсорбции имеет селективность и позволяет адсорбировать определенные вещества из раствора.
Метод основан на избирательной сорбции либо балластных, либо действующих веществ.
Вытяжку пропускают через колонку с адсорбентом после предварительного удаления высокомолекулярных примесей с помощью других видов очистки. На адсорбенте адсорбируются либо действующие вещества, либо примеси; все остальное проходит через колонку с током растворителя.
Затем, в случае необходимости, вещества элюируют, или вымывают, другим подходящим растворителем, и получают раствор очищенных веществ.
Адсорбент имеет ограниченную поглотительную способность, поэтому процесс адсорбции ведут до полного насыщения адсорбента.
Процессы адсорбции сопровождаются выделением тепла (чаще всего), поэтому снижение температуры благоприятно для сорбции, повышение для обратного процесса – десорбции. Резкую границу между отдельными видами сорбции провести нельзя, поэтому при адсорбции наблюдаются элементы всех видов сорбции.
Адсорбция происходит вследствие взаимодействия сил межмолекулярного притяжения в неполярных адсорбентах и силами электрического взаимодействия в полярных адсорбентах. Например, адсорбция на активированном угле объясняется межмолекулярными силами, на силикагеле больше сказывается электрическое притяжение. Обычно вещество на адсорбенте адсорбируется в виде тонкого мономолекулярного слоя, и естественно, его количество зависит от поверхности адсорбента.
Адсорбенты. К адсорбентам относятся высокодисперсные тела с большой наружной (непористые) или внутренней (пористые) поверхностью, на которой проходит адсорбция веществ из газов или растворов.
Адсорбенты делят на две группы:
а) непористые – алюминия оксид I, II и III групп активности, тонкоизмельченные порошки типа глин;
б) пористые – силикагель, полиамиды, полиакриламиды, целлюлоза, цеолиты, активированный уголь, некоторые глины (бентониты) и др.
Адсорберы. Простейшим адсорбером периодического действия является колонка с адсорбентом. Этот адсорбер представляет собой вертикальный цилиндрический сосуд 1 высотой 6-10 м и диаметром 0,6-1,2 м. Адсорбент загружают в аппарат через горловину 2 на решетку 4, на которой помещены металлическое сито и холст. Для выгрузки используют люк 5. Раствор подается через трубку.
Простейшим адсорбером непрерывного действия является батарея из нескольких колонок.
Рис. Адсорбер периодического действия. 1 – цилиндрический сосуд, 2 – патрубок с крышкой для загрузки адсорбента, 3 – трубка вывода раствора, 4 – решетка, 5 – люк выгрузки, 6 – контрольный тканевый фильтр
Также применяют аппараты, работающие на принципе псевдоожижения. Адсорбция в таком аппарате производится в состоянии «кипения» под действием подающегося снизу раствора.
Хемосорбция– поглощение веществ с образованием химических соединений. К хемосорбции относится ионный обмен. Используется для очистки вытяжек, содержащий алкалоиды (фенольные соединения, ферменты, антибиотики, витамины).
В основе ионного обмена лежит реакция обмена ионами между неподвижным твердым ионообменным сорбентом и растворенным в растворителе веществом. Известны два типа ионообменных сорбентов:
1) анионообменники – аниониты, обменивающие анионы,
2) катионообменники – катиониты, обменивающие катионы.
Пропустив через ионит растительную вытяжку, можно адсорбировать на ионите действующие вещества, а балластные вещества при этом будут проходить свободно через иониты. Затем с ионита снимаются действующие вещества при воздействии растворов кислот и щелочей. Ионным обменом можно очищать органические и неорганические кислоты и основания.
ВЫДЕЛЕНИЕ И ОЧИСТКА ИНДИВИДУАЛЬНЫХ ВЕЩЕСТВ
Дата добавления: 2015-08-01; просмотров: 1823;
