Мацерация
Раньше метод мацерации, или настаивания, (от лат. maceratio – вымачивание) был широко распространен для получения настоек. В настоящее время его применение постепенно сокращается, потому что при экстрагировании этим методом трудно достигнуть полноты извлечения лекарственных веществ из растительного материала.
Мацерацияпроводится следующим образом. Измельченное сырье с предписанным количеством экстрагента загружают в мацерационный бак и настаивают при температуре 15–20°С, периодически перемешивая. Если специально не оговорены сроки, то настаивание проводят в течение 7 суток. После чего вытяжку сливают, остаток отжимают, отжатую вытяжку промывают небольшим количеством экстрагента, снова отжимают, отжатую вытяжку добавляют к слитой первоначально, после чего объединенную вытяжку доводят экстрагентом до требуемого объема.
Данный метод малоэффективен – протекает медленно, сырье полностью не истощается. С целью интенсификации экстрагирования материала процесс проводят с использованием дробной мацерации (ремацерации), мацерации с принудительной циркуляцией экстрагента, вихревой экстракции (турбоэкстракции),ультразвука и др.
Ремацерация, или дробная мацерация с делением на части экстрагента, или сырья и экстрагента.Общее количество экстрагента делят на 3–4 части и последовательно настаивают сырье с первой частью экстрагента, затем со второй, третьей и четвертой, каждый раз сливая вытяжку. Время настаивания зависит от свойств растительного материала. Такое проведение процесса экстрагирования позволяет при меньших затратах времени полнее истощить сырье, так как постоянно поддерживается высокая разность концентраций в сырье и экстрагенте.
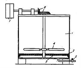
Мацерация с принудительной циркуляцией экстрагента.Проводится в мацерационном баке 1, с ложным (перфорированным) дном 2, на которое укладывают фильтрующий материал 3, Экстрагент, отделенный от сырья ложным дном, с помощью насоса 4 прокачивается через сырье до достижения равновесной концентрации. При этом время настаивания сокращается в несколько раз. С принудительной циркуляцией экстрагента проводят также дробную мацерацию. В данном случае достигается более полное истощение сырья при том же расходе экстрагента.
|
|
Рис. Мацерационный бак с циркуляцией экстрагента
Вихревая экстракция, или турбоэкстракция,основана на вихревом, очень интенсивном перемешивании сырья и экстрагента при одновременном измельчении сырья. Турбинная мешалка вращается со скоростью 8000–13000 об/мин. Время экстракции сокращается до 10 мин, настойки получаются стандартными.
Ультразвуковая экстракция. Для интенсификации мацерационного процесса эффективно применение ультразвуковых колебаний. При этом ускоряется экстрагирование и достигается полнота извлечения действующих веществ. Источник ультразвука помещают в обрабатываемую среду или крепят к корпусу мацерационного бака в месте, заполненном экстрагентом и сырьем. Наибольший эффект от воздействия ультразвука проявляется тогда, когда клетка экстрагируемого материала хорошо пропитана проводящим ультразвук экстрагентом. Возникающие ультразвуковые волны создают знакопеременное давление, кавитацию и «звуковой ветер». В результате ускоряется пропитка материала и растворение содержимого клетки, увеличивается скорость обтекания частиц сырья, в пограничном диффузионном слое экстрагента возникают турбулентные и вихревые потоки. Молекулярная диффузия внутри клеток материала и в диффузионном слое сменяется на конвективную, что приводит к интенсификации массообмена. Возникновение кавитации вызывает разрушение клеток. При этом экстрагирование ускоряется за счет вымывания экстрактивных веществ из разрушенных клеток и ткани. При озвучивании вытяжку можно получить в течение нескольких минут.
К другим видам динамизации мацерации относятся: размол сырья в среде экстрагента, например в шаровой мельнице; ремацерация, сопровождающаяся прессованием на гидравлических прессах или вальцах. В последнем случае процесс повторяется до достижения равновесных концентраций. Метод позволяет сократить потери действующих веществ и экстрагента, так как в шроте остается небольшой объем вытяжки. В готовой настойке содержится высокое количество экстрактивных веществ.
Дата добавления: 2015-08-01; просмотров: 6507;
