Вертушка ГР-99
Вертушка ГР-99 (рис. 6) состоит из корпуса, ходовой части и контактного устройства. Ходовая часть размещена в передней части корпуса и представляет собой трехлопастной винт, установленный на оси и закрепленные гайкой два шарикоподшипника, распорную втулку, гильзу. Ходовая часть крепится к корпусу винтом.

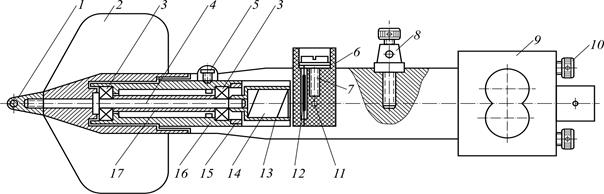
Рис. 6. Общий вид вертушки ГР-99 (в разрезе)
1 – гайка; 2 – трехлопастной винт; 3 – радиальные шарикоподшипники; 4 – ось; 5 – винт для крепления ходовой части к корпусу; 6 – изоляционная втулка; 7 – изолированная клемма; 8 – массовая клемма; 9 – втулка для крепления вертушки на штанге или вертлюге; 10 – зажимной винт; 11 – винт крепления изоляционной втулки; 12 – магнитоуправляемый контакт; 13 – обойма; 14 – постоянный магнит; 15 – гайка;
16 – гильза; 17 – распорная втулка
Главная особенность вертушки заключается в контактном устройстве. Оно состоит из постоянного магнита, закрепленного в обойме на оси ходовой части, и магнитоуправляемого контакта, размещенного в изоляционной втулке, закрепленной в корпусе вертушки. Постоянный магнит при каждом обороте лопастного винта вызывает одно замыкание магнитоуправляемого контакта. В электрическую цепь включен счетно-импульсный механизм, который служит для суммирования электрических импульсов, поступающих от контактного устройства вертушки, и регистрации выдержки времени. Он состоит из электромагнитного счетчика импульсов, стандартного секундомера и рычажного устройства, обеспечивающего синхронное включение и выключение счетчика и секундомера (рис. 7).

Рис. 7. Общий вид вертушки ГР-99
Для подключения сигнальной линии служат две клеммы, расположенные на корпусе, одна из которых изолирована, а другая связана с массой корпуса вертушки.
Вертушка крепится к штанге двумя винтами, расположенными в тыльной части корпуса. Для работы на тросе вертушка укомплектована вертлюгом и хвостовым оперением.
Дата добавления: 2015-07-24; просмотров: 1942;
