Классификация насосов
Геохимия систем. К системам относятся Земля в целом, окружающая среды Земли в целом, земная кора, гидросфера, атмосфера, артезианский бассейн, почва, живой организм, ландшафт, государство, административное образование и т.д. При системных исследованиях в геохимии большое значение имеют методы обшей теории систем, теории информации, кибернетики, использование ЭВМ Системы изучаемые в геохимии, по формам движения материи разделяютсяна четыре основных типа:
Абиогенные системы, в которых протекают только процессы механической и физико-химической миграции. Это магматические, гид-ротермальныеи многие другие системы
Биологические системы — живые организмы и их ассоциации, например биоценозы.
Биокосные системы, для которых характерно взаимопроникновение живых организмов и неорганической («косной» по Вернадскому) материи. В этих системах развиваются явления и физико-химической миграции, но определяющее значение имеет биогенная миграция. Таковы почвы коры выветривания, природные ландшафты, моря и океаны, реки и т. д. Самая крупная биокосная система — биосфера, т. е. вся область планеты, населенная жив ыми орган измам и
Техногенные системы характеризуются ведущий значением тех
ногенной миграции, хотя в них имеют место и все остальные виды миграции
(промышленные предприятия, города, транспортные артерии, агроландшаф-
ты, хранилишабьповых или промышленных отходов и т. д.).
Металогенічні епохи – головні періоди формування рудних родовищ, що відповідають осн. етапам геол. розвитку земної кори. В історії розвитку земної кори виділяється 11 етапів, що визначають закономірну послідовність виникнення генетичних груп рудних родовищ.
§ Ґренландський етап (5000 – 3800 млн років тому) збігається з найдавнішим місячним періодом геол. історії без ознак рудоутворення.
§ Кольський етап (3800 – 2800 млн років тому) відповідає нуклеарному періоду і знаменує початок формування найдавніших ендогенних рудних родов., звичайно глибокометаморфізованих. Ці родов. виразно розділяються на дві групи. Одну групу складають базальтоїдні зеленокам’яні пояси, з якими пов’язані найдавніші колчеданні гідротермальні і золоторудні родов. Півн. Америки, Австралії, Півд. Африки та Індії. Інша група належить гранітоїдним ядрам зі слюдяними і рідкіснометалічними метаморфогенними пегматитами, відомими в Сибіру, Африці, Австралії і Бразилії.
§ Біломорський етап (2800 – 2300 млн років тому) охоплює першу половину протогеосинклінального періоду, відповідає зародженню древніх геосинкліналей, що розчленовують протоплатформи. Серед платформних звертають на себе увагу великі родов. хромових руд Великої дайки в Зімбабве і унікальні золото-уранові конгломерати Вітватерсранда в ПАР.
§ Карельський етап (2300 – 1800 млн років тому) пов’язаний з розквітом і відмиранням протогеосинкліналей. З геосинклінальним базальтоїдним вулканізмом цього етапу пов’язане формування всіх найбільших басейнів і родов. залізистих кварцитів світу: Криворізького, Курської магнітної аномалії, залізорудного басейну Великих озер Канади і США і ін. З карельськими гранітоїдами асоціюють слюдяні і слюдяно-рідкіснометалічні пегматити Біломор’я, Сибіру, а також золото в метаморфічних чорносланцевих товщах (США, Канада). В умовах карельського часу формувалися найбільші магматичні родов. хромових руд і платинових руд Бушвелдського комплексу (Півд. Африка), магматичні сульфідні мідно-нікелеві руди Садбері (Канада) та ін.
§ Готський етап (1800 – 1500 млн років тому) відповідає інтергеосинклінальному періоду геол. історії, що визначає помітну перерву в ендогенному рудоутворенні.
§ Гренвілський етап (1500 – 1000 млн років тому) знаменує початок нового геосинклінального періоду з переважанням базальтоїдного вулканізму, що привів до утворення колчеданно-поліметалічних родов. типу Саліван в Канаді.
§ Байкальський етап (1000 – 600 млн років тому) характеризується ендогенними родов. базальтоїдного і наступного гранітоїдного рядів, з якими пов’язані магматичні титаномагнетити Канади, Норвегії і Уралу, а також колчеданні родовища Сибіру і Півн. Америки.
§ Каледонський етап (600 – 400 млн років тому) виділяється за переважаючим розвитком базальтоїдів, особливо вулканіч. фації, з численними колчеданними родовищами Центр. Сибіру, Норвегії, Швеції, Іберійського пояса Іспанії і Португалії, Австралії і М’янми.
§ Гєрцинський етап (400 – 250 млн років тому) визначає розквіт геосинклінального магматизму і металогенії. З ним пов’язані магматичні родовища хромових, титано-магнетитових руд (Урал) і колчеданно-поліметалічні родов. (РФ, Урал, Рудний Алтай, країни Зах. Європи).
§ Кімерійський етап (250 – 100 млн років тому) проявлений серіями гранітоїдів з постмагматичними родов. руд кольорових та радіоактивних металів (платформні околиці Тихоокеанського та Середземноморського геосинклінальних поясів).
§ Альпійський етап (до 100 млн років тому) відрізняється розломною тектонікою, яка контролює вулканогенні пояси з гідротермальними родовищами руд золота, срібла і ланцюги мідно-порфірових утворень Тихоокеанського рудного поясу, а також рудоносні карбонатити і алмазоносні кімберліти Африканської, Північно-Американської та Сибірської платформ.
Классификация насосов
Насосами называются гидравлические машины, предназначенные для перемещения жидкости и сообщения ей механической энергии.
По принципу действия насосы разделяются на три группы: объемные, струйные и лопастные (рис.3.1). Действие объемных насосов основано на применении потенциальной энергии перекачиваемой жидкости, а струйных и лопастных – на применении кинетической энергии.

Рис.3.1.
Насосы могут классифицироваться по назначению, конструктивному исполнению, величинам подачи перекачиваемой жидкости и напора, и т.д. На оперативных машинах пожарной и аварийно-спасательной службы применяются насосы всех трех видов (обозначенная область А на рис.3.1).
Устанавливаемые на пожарных автомобилях насосы, выполняют различные функции. Они прежде всего обеспечивают подачу воды из автоцистерн на тушение пожаров. Ряд из них выполняют вспомогательные функции – обеспечивают забор воды центробежными насосами из естественных и искусственных водоисточников. На специальных ПА они используются в качестве приводов механизма в гидравлических системах управления, например, автолестниц и автоколенчатых подъемников (рис.3.2).
| НАСОСЫ |
| ПОДАЧА ОВ |
| ВАКУУМНЫЕ СИСТЕМЫ |
| ГИДРАВЛИЧЕСКИЕ СИСТЕМЫ |
| Центробежные |
| Струйные |
| Шестеренные |
| Струйные |
| Шиберные |
| Поршневые |
| Водокольцевые |
| Шестеренные |
| Аксиально-поршневые |
Рис. 3.2. Область применения насосов
Работа всех насосов с механическим приводом характеризуется двумя процессами: всасывания и нагнетания перекачиваемой жидкости. При этом насос любого типа характеризуется величиной подачи жидкости, развиваемым напором, высотой всасывания, величиной коэффициента полезного действия и эффективной мощности.
Подачей насоса называется объем жидкости, перекачиваемой в единицу времени, Q, л/с.
Напором насоса называется разность удельных энергий жидкости после и до насоса. Его величину измеряют в метрах водяного столба, Н, м.
Напор Н, развиваемый насосом, должен (рис.3.3) подъем воды на высоту Нг, преодолеть сопротивление перемещению во всасываемых рукавах hвс и напорных рукавах hн и обеспечить требуемый напор на стволе Нств.
Учитывая незначительное расстояние между z1 и z2, принимают:
z1 - z2 = 0, тогда, высоту всасывания по рукавной линии принимают равной расстоянию от поверхности воды до центра насоса. Можно записать
Н = Нг+ hвс + hн + Нств , м(3.1)
Потери во всасывающей и напорной линиях определяют по формуле
hвс = Sвс Q2 , м и hн = Sн Q2,м (3.2)
где Sвс и Sн – коэффициенты сопротивления рукавов линий всасывания и нагнетания.

Эффективная мощность насоса расходуется на совершение работы по перемещению определенного объема жидкости Q с плотностью ρ c напором Н, м:
Ne = ρgQH, Вт(3.3)
Мощность, потребляемая насосом, равна
| Рис. 3.3. Схема насоса, установленного на водоисточник: 1 – насос; 2 – всасывающий патрубок; 3 – коллектор; 4 – напорная задвижка; 5 – рукавная линия; 6 – ствол; 7 – всасывающая сетка; 8 – всасывающий рукав |
. (3.4)
Полный КПД ηнасоса определяют по формуле
η = ηо ηг ηм, (3.5)
где ηо, ηг и ηм – КПД объемный, гидравлический и механический.
Объемные насосы
Объемные насосы – насосы, в которых перемещение жидкости (или газа) осуществляется в результате периодического изменения объема рабочей камеры. К ним относятся: поршневые насосы, пластинчатые, шестеренчатые, водокольцевые.
Поршневые насосы (рис. 3.4). В поршневых насосах рабочий орган (поршень) совершает в цилиндре возвратно-поступательное движение, сообщая перекачиваемой жидкости энергию.
Подача Q, м3/с, насоса определяется по формуле
Q =
(3.5)
где d – диаметр поршня, м; S – ход поршня, м; n – частота перемещения поршня, с-1.
| Рис. 3.4. Поршневой насос: 1 – клапан; 2 – поршень; 3 – цилиндр |
| 1 |
| 2 |
| 3 |
| S |
Поршневые насосы перекачивают различные жидкости, создавая большие напоры (до 15 МПа), обладают хорошей всасывающей способностью (до 7 м) и высоким КПД η = 0,75–0,85.
Их недостатками являются: тихоходность, неравномерность подачи жидкости и невозможность ее регулировать.
Поршневые насосы применяют для заполнения огнетушителей, газовых баллонов, их испытаний и т.д.
Аксиально-поршневые насосы (рис. 3.5). Несколько поршневых насосов 2 размещены в одном барабане 3, вращающемся на оси распределительного диска 1. Штоки поршней 4 шарнирно закреплены на диске, вращающемся на оси 5. При вращении вала 6 поршни перемещаются в осевом направлении и одновременно вращаются с барабаном.
| Рис. 3.5. Аксиально-поршневой насос: 1 – распределительный диск; 2 – поршень; 3 – барабан; 4 – шток; 5 – ось; 6 – вал распределительный диск |
| 1 |
| 2 |
| 3 |
| 4 |
| 5 |
| 6 |
| 7 |
| a |
| b |
| a |
| b |
| g |
За один оборот вала барабана каждый поршень совершает ход
вперед и назад (всасывание и нагнетание).
Подача насоса определяется
по формуле
(3.6)
где Dб – диаметр барабана, м; d – диаметр поршня, м; i – число поршней;
n – скорость вращения вала, об/мин.
Достоинством насосов является равномерность подачи жидкости, высокое развиваемое давление (40–50 МПа) и КПД (η)= 0,85–0,9.
В системах управления автолестниц и подъемников насосы используются и как гидромоторы и как гидронасосы.
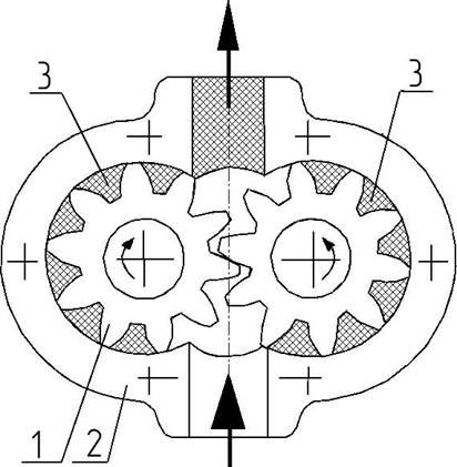
Шестеренчатый насос (рис. 3.6) состоит их корпуса 2 и зубчатых колес 1. Одно из них приводится в движение, второе в зацеплении с первым свободно вращается на оси. При вращении шестерен жидкость перемещается впадинами 3 зубьев по окружности корпуса.
| Рис. 3.6. Шестеренчатый насос: 1 – зубчатое колесо; 2 – корпус; 3 – впадина |
| 1 |
| 2 |
| 3 |
| 3 |
Они характеризуются постоянной подачей жидкости и работают в диапазоне 500–2500 об/мин. Их КПД в зависимости от частоты вращения и давления достигает 0,65–0,85. Они обеспечивают глубину всасывания до 8 м и могут развивать напор более 10 МПа. Используемый в пожарной технике насос НШН-600 обеспечивает подачу Q = 600 л/мин и развивает напор Н до 80 м при n = 1500 об/мин.
Подача насоса определяется по формуле
(3.7)
где R и r – радиусы шестерен по высоте и впадинам зубьев, см; b – ширина шестерен, см; n – частота вращения вала, об/мин; η – КПД.
В этих насосах предусматривается перепускной клапан. При избыточном давлении через него перетекает жидкость из полости нагнетания во всасывающую полость.
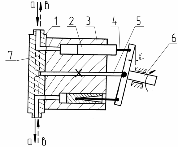
Пластинчатый насос (шиберный) насос (рис. 3.7) состоит из корпуса с запрессованной с него гильзой 1. В роторе 2 размещены стальные пластины 3. Приводной шкив закреплен на роторе 2.
Ротор 2 размещен в гильзе 1 эксцентрично. При его вращении лопатки 3 под действием центробежной силы прижимаются к внутренней поверхности гильзы, образуя замкнутые полости. Всасывание происходит за счет изменения объема каждой полости при ее перемещении от всасывающего отверстия к выпускному.
Подача, см3/мин, пластинчатых насосов равна
, (3.8)
| Рис. 3.7. Пластинчатый насос: 1 – гильза; 2 – ротор; 3 – пластина |
| 1 |
| 2 |
| 3 |
Пластинчатые насосы могут созда-
вать напоры 16–18 МПа, обеспечивают
забор воды с глубины до 8,5 м при КПД,
равном 0,8–0,85.
Смазка вакуумного насоса осуществляется маслом, которое подается в его всасывающую полость из масляного бака вследствие разрежения, создаваемого самим насосом.
Струйные насосы
Струйные насосы используются как водоструйные, так и газоструйные.
Водоструйный насос – гидроэлеватор пожарный входит в комплект ПО каждого пожарного автомобиля. Он используется для забора воды из водоисточников с уровнем воды, превышающим высоту всасывания пожарных насосов. С его помощью можно забирать воду из открытых водоисточников с заболоченными берегами, к которым затруднен подъезд пожарных машин. Он может быть использован как эжектор для удаления из помещений воды, пролитой при тушении пожаров.
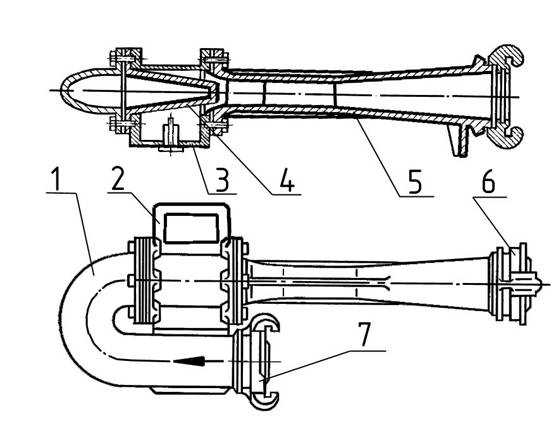
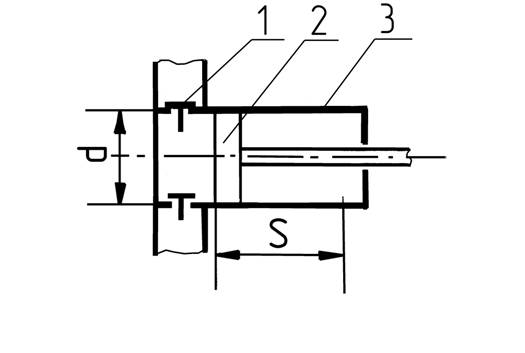
Пожарный гидроэлеватор (рис. 3.8) представляет собой устройство эжекторного типа. Вода (рабочая жидкость) от пожарного насоса поступает по рукаву, подсоединенному к головке 7, в колено 1 и далее в сопло 4.
В камере смешения 2 создается разрежение, чем обеспечивается всасывание подаваемой жидкости. Затем в диффузоре давление смеси рабочей и транспортируемой жидкостей значительно повышается в результате снижения скорости движения. Это позволяет осуществлять нагнетание воды.
| Рис.3.8. Гидроэлеватор пожарный Г-600А: 1 – колено; 2 – камера смешения; 3 – решетка;4 – сопло; 5 – диффузор; 6 – головка соединительная ГМ-80; 7 -головка соединительная ГМ-70 |
| 1 |
| 2 |
| 3 |
| 4 |
| 5 |
| 6 |
| 7 |
Струйные насосы просты по устройству, надежны и долговечны в эксплуатации. Существенным их недостатком является низкий коэффициент полезного действия, его величина не превышает 30 %.
| Рис. 3.9. Газовый струйный эжектор: 1 – сопло высокого давления; 2 – корпус насоса; 3– камера разрежения; 4 – камера смешения; 5 - диффузор 5 – диффузор |
| 1 |
| 2 |
| 3 |
| 4 |
| 5 |
| Qэ |
| Qр |
| Qр+э |
Рабочим телом этого насоса являются отработавшие газы двигателя внутреннего сгорания АЦ. Они поступают в сопло 1 высокого давления, затем в камеру 3 корпуса насоса 2, в камеру смешения 4 и диффузор 5. Как и в жидкостном эжекторе, в камере 3 создается разрежение.
Эжектируемый из пожарного насоса воздух обеспечивает создание в нем вакуума и, следовательно, заполнение всасывающих рукавов и пожарного насоса водой. Газовые струйные насосы на АЦ используются также для проверки создаваемого вакуума в пожарных насосах.
Газовые струйные насосы обеспечивают заполнение систем всасывания и центробежных насосов при заборе воды с глубины до 7 м в течение 30–60 с.
Наиболее часто из открытых водоисточников производят забор воды при геометрических высотах всасывания до 5 м. Высота всасывания 6 и 7 м встречается крайне редко и составляет около 1 % от общего числа случаев.
Пожарные центробежные насосы серии ПН
Центробежные насосы обладают рядом достоинств. При постоянной скорости вала насоса nном, об/мин, изменяя подачу Q, л/с, в широких пределах (до 10 раз), напор Н, м, развиваемый им, изменяется на 10–15 %. Следовательно, напор при изменении подачи всегда будет достаточно высоким. Центробежные насосы подают жидкость равномерно без пульсаций. Важным является и то, что они способны работать «на себя». При перекрытии ствола, засорении его или заломе напорных рукавов насос не выключается.
Центробежные насосы не требуют сложного привода от двигателя, надежны в работе и просты в управлении. Существенным их недостатком является то, что они не могут забирать воду из открытых водоисточников. Поэтому их оборудуют специальными вакуумными системами с ручным или автоматическим включением.
К центробежным насосам для целей пожаротушения предъявляется ряд специфических требований. Они должны обеспечивать подачу воды и водных растворов пенообразователя с водородным показателем рНот 7 до 10 плотностью 1010 кг/м3 и массовой концентрацией твердых частиц до
0,5 % при их максимальном размере 3 мм. Насос может потреблять не более 70 % мощности, развиваемой двигателем, расположенным на шасси, и обеспечивать работу непрерывно в течение 6 ч при любых температурах окружающей среды.
Насосы серии ПН устанавливают на автоцистернах и автонасосах. Они обозначаются так: ПН-40УВ. В этом обозначении ПН – пожарный насос; 40 – максимальная подача насоса 40 л/с; У – унифицированный и В – особенность выпускаемой серии. Геометрически подобны этой серии пожарные насосы ПН-60 и ПН-110. Они применяются на пожарных аэродромных автомобилях и пожарных насосных станциях, соответственно. Все эти насосы имеют одинаковую номенклатуру основных деталей, идентичны по конструкции, но имеют различные габариты и массу.
| Рис. 3.10. Пожарный насос ПН-40УВ: 1 – насос; 2 – напорный патрубок; 3 – напорная задвижка; 4 – пеносмеситель; 5 – коллектор; 6 – задвижка коллектора; 7 – отвод насоса |
| 1 |
| 2 |
| 3 |
| 4 |
| 5 |
| 6 |
| 7 |
В осевом направлении оно закреплено гайкой и стопорится стопорной шайбой. От проворачивания оно крепится одной и двумя шпонками, соответственно, на ПН-40У и ПН-40УА. В ПН-40У корпус насоса 1 и масляная ванна 10 выполнены в виде одной детали. Все корпусные детали насосов, рабочие колеса изготовлены из алюминиевого сплава АЛ9В. Валы насосов изготовлены из стали 45Х и термически обработаны.
| Рис. 3.11. Продольный разрез насоса ПН-40УВ: 1 – корпус; 2 – крышка; 3 и 4 – уплотнительные кольца; 5 – рабочее колесо; 6 – сливной краник; 7 – уплотнительный стакан с манжетами; 8 – подшипник; 9 – вал насоса; 10 – масляная ванна; 11 – червячная шестерня привода тахометра; 12 – муфта-фланец; 13 – предохранительный клапан; 14 – манжета; 15 – корпус привода тахометра; 16 – подшипник; 17 – шланг |
| 1 |
| 2 |
| 3 |
| 4 |
| 5 |
| 6 |
| 7 |
| 8 |
| 9 |
| 10 |
| 11 |
| 12 |
| 13 |
| 14 |
| 15 |
| 16 |
| 17 |
| A |
| Б |
| Б |
| A |
| Рис. 3.12. Эпюра осевых сил на колесе |
| F |
| Rв |
| a |
| b |
Важным элементом в насосе является крепление вала. Это обусловлено особенностями конструкции рабочего колеса. Оно выполнено из двух дисков – ведущего и покрывающего. Между ними расположены лопасти, загнутые в сторону, противоположную вращению. Размеры дисков колеса различны (рис. 3.12, а). Это обусловливает возникновение осевой силы, которая направлена по оси в сторону всасывающего патрубка и стремится сместить колесо по оси (рис. 3.12, б). Величину этой силы приближенно вычисляют по формуле
(3.9)
где S – коэффициент сопротивления щелевого уплотнения (S = 0,6); Р – давление на насосе, Па; R1 – радиус входного отверстия, м; Rв – радиус вала, м.
| Рис.3.13. Крепление подшипника: 1 – корпус привода тахометра; 2 – прокладка; 3 – полукольцо верхнее; 4 – корпус насоса; 5 – вал насоса; 6 – подшипник; 7 – втулка |
| 1 |
| 2 |
| 3 |
| 4 |
| 5 |
| 6 |
| 7 |
Работоспособность центробежных насосов во многом определяется совершенством его герметизации.
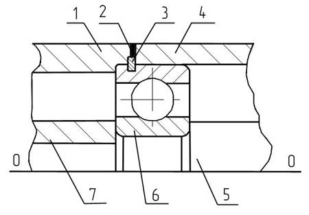
Внутренняя герметизация рабочего колеса 5 (см. рис. 3.11) от корпуса 1 и крышки 2 осуществляется уплотнительными кольцами 3 в корпусе 4, в крышке (они изготовлены из чугуна) и на колесе 5 (они изготовлены из бронзы Бр 0ЦС-6-6-3). Радиальный зазор между кольцами находится в пределах 0,2–0,3 мм. Эти щелевые уплотнения уменьшают циркуляцию жидкости в насосе. При изнашивании колец она увеличивается.
| Рис. 3.14. Уплотнительный стакан: а: 1 – вал насоса; 2 – манжета; 3 – стальной корпус; 4 – пружина; б: 1 – манжета; 2 – кольцо; 3 – кольцо; 4 – упорное кольцо; 5 – стопорное кольцо; 6 – резиновые кольца |
| 1 |
| 2 |
| 3 |
| 4 |
| а |
| б |
| 1 |
| 2 |
| 3 |
| 4 |
| 5 |
| 6 |
осуществлена двумя способами. Все стенки соединяемых корпусных дета-
лей герметизируют резиновыми прокладками.
Герметизация насоса по валу производится резиновыми манжетами (рис. 3.14), размещаемыми в специальном уплотнительном стакане 7 (см. рис. 3.11).
В уплотнительном
стакане ПН-40УВ смонтиро-
ваны три манжеты АСК-45. Одна из них (на рис. 3.14, б – правая) обеспечивает герметизацию при разрежении в насосе. Две другие – при давлении. Для обеспечения долговечности уплотнения в него по шлангу 17 (см. рис. 3.11) периодически подается смазка. На пожарных насосах других конструкций в стакане монтируют четыре манжеты.
Изнашивание манжет и вала ухудшает герметизацию насоса. При этом затрудняется забор воды и увеличиваются ее утечки.
| Рис. 3.15. Коллектор насоса: 1 – корпус; 2 – седло клапана; 3 – клапан в сборе; 4 – прокладка; 5 – полукольца; 6 – втулка; 7 – шпиндель; 8 – корпус задвижки; 9 – колпачок; 10 – маховичок |
| 1 |
| 2 |
| 3 |
| 4 |
| 5 |
| 6 |
| 7 |
| 8 |
| 9 |
| 10 |
Для смазки подшипников качения и привода тахометра в масляную ванну заливается трансмиссионное масло ТАп-15В через отверстие для щупа. Слив его производится через сливную пробку.
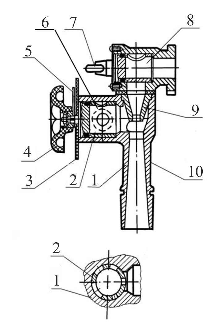
Коллектор (поз. 5 на рис. 3.10) предназначен для распределения воды в рукавные линии или цистерну. Кроме того, на нем крепится напорная задвижка 3, пеносмеситель 4 и вакуумный кран для соединения внутренней полости насоса с атмосферой или вакуумным насосом.
Поперечный разрез коллектора с напорной задвижкой показан на рис. 3.15. Корпус 1 коллектора фланцем с отверстием диаметром 90 мм крепится к диффузору пожарного насоса.
| Рис. 3.16. Напорная задвижка ПН-40УВ: 1 – клапан; 2 – ось клапана; 3 – корпус; 4 – втулка; 5 – винт; 6 – уплотнение; 7 – гайка; 8 – маховик |
| 1 |
| 2 |
| 3 |
| 4 |
| 5 |
| 6 |
| 7 |
| 8 |
К фланцам торцовых поверхностей коллектора (отверстия с диаметром 70 мм) шпильками крепятся две напорные задвижки (рис. 3.16). Их устройство не требует особых объяснений. При вращении маховичка 8 шпиндель с винтовой нарезкой 5 перемещается во втулке 4. Под напором воды клапан 1 поворачивается вокруг оси 2 и вода поступает в рукавную линию.
При прекращении подачи воды на высоту клапан 1 под ее напором закроет вход в коллектор.
Пеносмеситель. На насосах ПН-40УВ установлены пеносмесители ПС-5 (рис. 3.17). Регулируя маховичком 4 положение дозатора 2, возможно подавать 5 различных доз пенообразователя (ПО). При включении рукояткой 7 крана 8 вода из коллектора поступит в сопло 9, а затем в диффузор 10 и во всасывающий патрубок насоса.
Образующееся в камере ПС разрежение обеспечит поступление ПО из пенобака через отверстие 6.
Положение дозатора 2 фиксируется стрелкой 5 на диске 3. Обратный клапан установлен в патрубке с отверстием 6.
| Рис. 3.17. Пеносмеситель ПС-5: 1 – корпус; 2 – дозирующий кран; 3 – диск; 4 – маховичок; 5 – стрелка; 6 – отверстие в штуцере подвода; 7 – рукоятка; 8 – кран включения; 9 – сопло; 10 – диффузор |
Технические характеристики насосов ПН приводятся в табл. 3.1.
Значения Н, м, и Q, л/с, представлены при nном, указанном в таблице, и высоте всасывания 3,5 м. Подача насоса с максимальной геометрической высоты всасывания должна быть не менее 50 % от номинальной, а напор – не менее 95 % от номинального.
Рабочие характеристики насосов ПН представлены на рис. 3.18 и 3.19. Характеристика Q-H называется главной рабочей характеристикой насоса.
При закрытой задвижке на напорном патрубке (Q = 0) напор, создаваемый насосом, равен 100–120 м. При этом насосом потребляется значительная мощность (см. рис. 2.23). Она затрачивается на механические потери в подшипниках, сальниках и нагревание воды в корпусе насоса. Перегрев воды внутри насоса может вызвать термические деформации в насосе, перегрев подшипников и срыв его работы. Поэтому с закрытой задвижкой возможна только кратковременная работа.
Таблица 3.1
| Наименование показателей | Размерность | ПН-40УВ | ПН-60 | ПН-110 |
| Напор | м | |||
| Подача | л/с | |||
| Частота вращения | об/мин | |||
| Диаметр рабочего колеса | мм | |||
| КПД | - | 0,61 | 0,6 | 0,6 |
| Потребляемая мощность | кВт | |||
| Максимальная высота всасывания | м | 7,5 | ||
| Масса | кг |
| 1 |
| 3 |
| 2 |
| Рис. 3.18. Рабочие характеристики насосов: 1 – ПН-40УВ; 2 – ПН-60; 3 – ПН-110 |
| 100 Q, л/с |
| Н, м |
| Рис. 3.19. Мощность, потребляемая насосом: 1 – ПН-40УВ; 2 – ПН-60; 3 – ПН-110 |
| 100 Q, л/с |
| N, кВт |
| 3 |
| 2 |
| 1 |
Пожарные насосы ПН-40УВ устанавливают на ряде автоцистерн и автонасосов, выпускаемых промышленностью. Пожарные насосы ПН-60 и ПН-110 заменяются новыми моделями ПН-70 и ПН-110, устанавливаемыми на пожарных аэродромных автомобилях и пожарных насосных станциях.
Пожарные насосы центробежные (ПН) надежны в эксплуатации. Поддержание их работоспособности обеспечивается выполнением ряда мер при технических обслуживаниях (ТО).
Техническое обслуживание – это комплекс операций по поддержанию работоспособности или исправности насосов при их использовании по назначению. В ГПС проводят ряд ТО насосов, включающих: ежедневное ТО (ЕТО), ТО-1 и ТО-2 после общего пробега пожарного автомобиля, равного соответственно 1500 и 7000 км. Кроме того, их обслуживание производят и на пожаре, а также после пожара.
ТО н а п о ж а р е. Периодически контролировать герметичность насосной установки по утечке воды через соединения и сальники.
На насосах ПМ каждый час работы подается смазка в сальники через колпачковую масленку.
Поддерживать положительную температуру в насосном отсеке.
ТО п о с л е п о ж а р а. Слить воду из насоса. Зимой – из трубки, соединяющей ПН с газоструйным вакуум-аппаратом, удалить воду кратковременным его включением.
После тушения пожара пеной промыть водой систему подачи пенообразователя и насос.
Работы по регламентированному техническому обслуживанию при ТО-1 и ТО-2 приводятся в табл.3.2.
Таблица 3.2
| Вид обслуживания | Перечень работ |
| ЕТО | 1. Проверить работоспособность кранов и вентилей, целостность коммуникаций и уровень масла в картерах. 2. Проверить работоспособность вакуумных систем (проверка герметичности). |
| ТО-1 | 1. Выполняют объем работ ЕТО. 2. Проверяют состояние и исправность привода вакуумного аппарата из насосного отделения. 3. Разбирают пеносмеситель и очищают его, проверяют состояние кранов. 4. Проверяют крепление насоса. |
| ТО-2 | 1. Выполняют объем работ ТО-1. 2. Проверяют техническое состояние насоса и дозирование пенообразователя. 3. Проверяют работоспособность контрольно-измерительных приборов. |
Насосы центробежные пожарные (НЦП)
Пожарные насосы серии ПН обладают хорошими техническими возможностями. Но, к сожалению, подача ими воды по высоте струй ограничивалась 30 м. Появилась необходимость создавать пожарные насосы с величинами напоров более 100 м в ст. На насосах необходимо ежедневно проверять работоспособность вакуумных систем. Это связано со значительными расходами топлива и моторесурса двигателей.
Вакуумные струйные насосы характеризуются невысокой надежностью. Это и ряд других причин (например, ограничение расхода пенообразователя) потребовало создания пожарных насосов более совершенных.
Промышленностью была создана серия пожарных центробежных насосов с различными техническими возможностями. Для пожарных автоцистерн и автонасосов стали производить насосы четырех типов в исполнениях нормального (Н) давления, высокого (В) давления и комбинированных (К).
Насосы центробежные пожарные (НЦП) обозначаются НЦПН, НЦПВ и НЦПК, соответственно.
Насос НЦПН и первая ступень (нормального давления) насоса НЦПК идентичны. Различие только в том, что на ступени нормального давления насоса НЦПК имеется муфта включения второй ступени. Поэтому изложение устройства начнется с комбинированного насоса.
Дата добавления: 2015-04-07; просмотров: 2269;
