Сигнализаторы обледенения
Безопасность полетов летательных аппаратов в значительной степени зависит от контроля метеорологических условий полета и своевременного выявления начала процесса его обледенения. Это осуществляется при помощи сигнализаторов обледенения, устанавливаемых на борту самолетов и вертолетов. Они могут быть как автономными приборами, так и входить в состав противообледенительных систем. В последнем случае сигнализаторы обледенения используются для автоматического включения и выключения противообледенителей наиболее важных агрегатов или автоматического управления режимами работы противообледенительных систем.
|
| Рис.7. Схема защиты самолета от обледенения: 1 – электрообогреватель датчика углов атаки; 2 – датчик сигнализатора обледенения; 3 – фара для освещения носков воздухозаборников двигателей; 4 – электрообогреватель приемников полного давления; 5 – электрическая ПОС смотровых стекол фонаря; жидкостно-механическая система защиты смотровых стекол фонаря; жидкостно-механическая: система защиты смотровых стекол при посадке, система защиты смотровых стекол и иллюминаторов от запотевания и обмерзания с внутренней стороны; 6,7 – ПОС кока и ВНА двигателей; 8 – ПОС входной части воздухозаборника двигателя; 9 – ПОС предкрылков; 10 – ПОС хвостового оперения; 11 – фара для освещения носков хвостового оперения |
К сигнализаторам обледенения предъявляются следующее технические требования. Они должны:
- быть безотказны в работе и выдавать достоверную информацию при любых условиях обледенения, иметь максимальную чувствительность;
- обеспечивать подачу сигнала опасности обледенения, начала и окончания обледенения;
- измерять интенсивность обледенения;
- обеспечивать автоматическое управление противообледенительными системами в зависимости от интенсивности обледенения;
- быть простыми в эксплуатации;
- иметь минимальные аэродинамическое сопротивление датчиков, габариты и массу.
Существующие в настоящее время сигнализаторы обледенения условно можно разделить на две основные группы: косвенного и прямого действия.
Сигнализаторы первой группы реагируют на наличие в атмосфере капель воды. Принцип их действия основан на преобразовании физических параметров в электрические сигналы. Они имеют высокую чувствительность. Чтобы исключить их ложные срабатывания при положительной температуре, требуется обязательное измерение температуры атмосферного воздуха (чтобы отличить обычные капли от переохлажденных, обуславливающих обледенение).
Сигнализаторы второй группы реагируют непосредственно на образование на датчике слоя льда. Они уступают в чувствительности первым, так как для образования слоя льда требуется определенное время.
В общем виде сигнализаторы обледенения включают в себя: датчик, преобразователь сигнала и визуальный указатель (сигнальная лампочка, табло, прибор на пульте летчика) или звуковой элемент.
Сигнализаторы первой группы. Из существующих в настоящее время сигнализаторов к сигнализаторам 1-й группы могут быть отнесены: электропроводный сигнализатор (контактный и химический), тепловые сигнализаторы, в частности, тепловой сигнализатор-интенсиметр, и дистанционные сигнализаторы в виде локационных устройств.
Сигнализаторы второй группы срабатывают непосредственно от толщины отложившегося льда на датчике. Они обладают большей инерционностью по сравнению с сигнализаторами первой группы так как требуется определенное время для нарастания определенного слоя льда на поверхности датчика.
Наиболее часто применяются в противообледенительных системах пневматические, радиоизотопные и резисторные сигнализаторы обледенения. Основным элементом каждого сигнализатора является датчик.
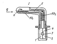
У пневматических сигнализаторов в качестве датчика использовано сочетание приемника воздушного давления с дифференциальным манометром (рис. 8). Датчик сравнивает динамическое давление со статическим с помощью мембраны, отделяющей полость динамического давления от полости статического давления. При отсутствии обледенения динамическое давление, воздействующее на мембрану, превышает статическое давление. В результате этого мембрана прогибается и разрывает контакт в цепи питания реле и сигнальной лампы. При возникновении обледенения динамическое давление перед мембраной уменьшается вследствие закрытия отверстия пленкой льда. Давление в камерах выравнивается с помощью жиклера, подвижный контакт на мембранной пружине соединяется с неподвижным. Это приводит к срабатыванию реле и загоранию лампы. При срабатывании реле подается сигнал на включение нагревательного элемента, предназначенного для обогрева. Такие сигнализаторы используются для контроля обледенения крыла, оперения и воздухозаборников авиадвигателей.
|
| Рис.8. Электропневматический сигнализатор обледенения: I – для авиационного двигателя; 1,2 – камеры динамического и статического давлений; 3 – электрические контакты, 4 – чувствительный элемент – мембрана, 5 – жиклер, 6 – рабочее отверстие, НЭ1 и НЭ2 соответственно нагревательные элементы датчика и колена корпуса сигнализатора |
Принцип действия, радиоизотопного сигнализатора обледенения (см. рис.9) основан на поглощении бета-излучения радиоактивного вещества слоем льда, нарастающим на выносном штыре датчика. Поток бета-частиц, непрерывно излучаемых радиоактивным веществом, проникая через тонкую стенку штыря, по падают на счетчик заряженных частиц. Импульсы напряжения, снимаемые со счетчика, регистрируются электронным блоком. Нарастающий лед уменьшает количество бета-частиц, попадающих на счетчик, вследствие чего уменьшается средняя величина импульса тока. При достижении определенной величины напряжения срабатывает релейная схема электронного блока, контакты которого включают одновременно лампу сигнализации, предупреждающую пилота об обледенении, и обогревательный элемент, сбрасывающий лед с поверхности штыря.
Импульсный ток при этом увеличивается, контакты электронного блока выключают сигнальную лампу и нагревательный элемент. Процесс повторяется в течение всего периода нахождения самолета в зоне обледенения. Прекращение обледенения определяется по выключению лампы на длительное время. Конструкция датчика сигнализатора такова, что выход прямого радиоактивного излучения из датчика во внешнюю среду исключен.
Радиоизотопный сигнализатор обледенения имеет чувствительность 0,3 ± 0,1 мм льда, обеспечивает сигнализацию начала и окончания обледенения, непрерывную сигнализацию при полете в зоне обледенения.
При достижении на датчике толщины льда 0,3 мм включается исполнительное реле, управляющее работой блока задержки, в котором предусмотрено два реле времени. Одно – увеличивает время нагрева штыря, обеспечивая, полное сбрасывание льда, а второе – время подачи сигнала "Обледенение" и продление время работы автоматически включенной ПОС.
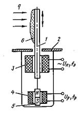
На современных ЛА широкое распространение получили сигнализаторы обледенения, непосредственно реагирующие на величину отложившегося льда. На рис.10 представлена принципиальная схема сигнализатора вибрационного типа. Его работа происходит следующим образом: штырь сигнализатора 1 сквозь отверстие в обшивке 2 выходит в набегающий поток, содержащий переохлажденные капли воды. С помощью обмотки возбуждения 3, к которой подводится переменное напряжение, стержень приводится в колебательное движение вдоль своей оси. Образованная таким образом электромеханическая система колеблется с некоторой эталонной частотой fэ. Вместе со стержнем колеблется жестко связанный с ним постоянный магнит 5, наводя в измерительной обмотке 4 переменное напряжение Uр, с частотой fр. Эта частота регистрируется с помощью электронных устройств и сравнивается с эталонной.
|
| |
| Рис. 9. Датчик радиационного сигнализатора обледенения: 1 – корпус; 2 – фланец; 3 –щелевидное окно; 4 – счетчик радиоактивного излучения; 5 – слой льда на рабочей поверхности штыря; 6 – цилиндрический штырь; 7 – патрон с источником радиоактивного излучения; 8 – экран; 9 – электроизоляция; 10 – нагревательный элемент; 11 – корпус | Рис.10. Принципиальная схема сигнализатора обледенения вибрационного типа: 1 – колеблющийся штырь; 2 – обшивка ЛА; 3 – обмотка возбуждения; 4 – измерительная обмотка; 5 – постоянный магнит; 6 – слой льда; q – набегающий поток; Uw, fэ — напряжение питания и эталонная частота соответственно; Uр, fр – напряжение и частота, регистрируемые измерительной обмоткой |
При отсутствии обледенения регистрируемая частота fр совпадает с эталонной fэ.
При образовании слоя льда 6 изменяются масса и собственная частота колебаний стержня 1 и соответственно – магнита 5. Возникающее рассогласование частот fр и fэрегистрируется электронным блоком, выдающим сигнал об интенсивности обледенении.
Дата добавления: 2016-03-04; просмотров: 3645;
