Пултрузия и роллтрузия
Этот процесс производства профильных изделий из одноосно-ориентирован-ных пластиков непрерывным способом является точной аналогией экструзии металлов или термопластов (рис.3.21).

Рис. 3.21. Схема пултрузии: 1 - шпули; 2 - арматура; 3 - ванна со связующим;
4 - отжимающие ролики; 5 - направляющая; 6 - форма с фильерами; 7 - фильера;
8 - тянущее устройство; 9 - печь; 10 - отрезное устройство
По мере усовершенствования пултрузия превратилась в метод производства практически неограниченного ассортимента сплошных и полых профильных изделий. Одновременно появилась возможность получать изделия, свойства которых удовлетворяют широкому диапазону технологических и конструкционных требований, поэтому основное внимание уделяется обеспечению точной ориентации армирующего волокна, что позволяет оптимизировать свойства изделий в соответствии с их конкретным назначением. Гибкость непрерывной технологии при современном подходе можно проиллюстрировать на примере получения трубы следующего строения: внутренний слой из полиэфирной смолы (для придания поверхности необходимой гладкости), затем слой мата из непрерывного волокна (для создания ненаправленных свойств), три продольных слоя ровинга (для обеспечения прочности на изгиб), окружной слой ровинга (для прочности на разрыв под действием внутреннего давления), слой ровинга, наложенного под углами +45° и -45° (для сопротивления скручивающим нагрузкам), еще один слой мата из непрерывного волокна (для увеличения ударной прочности) и, наконец, наружный слой из химически стойкого стекловолокна (для обеспечения высокой коррозионной стойкости). Эта конструкция показывает широкие возможности варьирования свойств конструкционных изделий, получаемых пултрузией.
Очевидно, что изделия, полученные пултрузией, по свойствам превосходят детали, сделанные более традиционными методами формирования. Более высокая стоимость компенсируется рядом преимуществ, характерных для этого процесса - строгим контролем натяжения и ориентации волокон, поддержанием постоянного содержания волокна в композите. Даже такое трудногарантируемое свойство, как сопротивление межслоевому сдвигу, значительно улучшается.

Рис.3.22. Схема формующего узла при роллтрузии
Другим примером непрерывной технологии получения ПКМ является роллтрузия. При реализации этого процесса роль фильеры выполняют группы профилированных роликов (рис.3.22), последовательно формирующих контур поперечного сечения изделия.
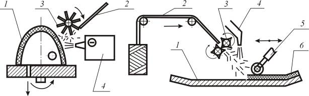
Напыление
Нанесение композиционных покрытий напылением представляет собой фактически автоматизированный вариант метода формования ручной укладкой, к нему относятся все рекомендации, касающиеся правильной и достаточной прикатки материалов и параметров полимеризации. При реализации этого процесса (рис.3.23) волоконный ровинг 2 проходит через рубильное устройство 3 и вдувается в поток связующего, который направляется на поверхность формы 1 распылительной системой с наружным или внутренним смешением компонентов.

Рис.3.23. Схема нанесения покрытий напылением: 1 - форма; 2 - ровинг;
3 - рубильное устройство; 4 - форсунки со связующим; 5 - прикатной
валик; 6 - уплотненный слой ПКМ; а -электроосаждение; б - уплотнение
прикатным валиком
После напыления на форму смеси штапельных волокон со связующим образовавшийся слой прикатывают вручную для удаления воздуха, уплотнения волокон и получения гладкой поверхности.
Для изготовления изделий сложной формы с поверхностями переменной кривизны используются рубленые волокна высокой степени ориентации, дающие максимальное упрочнение композиту. Ориентация волокон осуществляется с помощью фильтрования. Ориентированные в жидком носителе волокна осаждаются на плоский фильтр, носитель откачивается вакуум-насосом, затем осуществляется пропитка связующим. Из полученного таким образом препрега получают в пресс-форме различные изделия, например, сопла ракетных двигателей.
Дата добавления: 2015-12-29; просмотров: 3771;
