Пьезоэлектрические преобразователи (ПЭП) к дефектоскопам.
Прямой контактный преобразователь предназначен для излучения продольных волн, направленных нормально (т.е. под прямым углом) к поверхности объекта контроля (ОК). В нем пьезопластина 1 приклеена к демпферу 2 и защищена протектором 3 (рис.2.20,а).
При контроле иммерсионным методом применяют преобразователи, подобные прямым, но отличающиеся некоторыми конструктивными особенностями. Их называют иммерсионными.
Наклонный преобразователь предназначен для излучения волн наклонно к поверхности ОК. В нем пьезопластина приклеена к призме 4 (рис.2.20,б). Чаще всего он излучает поперечные волны. Для этого угол призмы делают между первым и вторым критическими углами, но иногда это продольные волны (если угол призмы меньше первого критического). Возбуждаемые одновременно поперечные волны в этом случае являются мешающими. Наклонными преобразователями с соответствующими углами призм возбуждают также поверхностные волны, волны в пластинах и стержнях.
Раздельно-совмещенный (РС) преобразователь, состоящий из излучателя и приемника. На рисунке 2.20,в) показан прямой РС преобразователь, в нем обычно применяют призмы с малыми углами, так что излучаются и принимаются продольные волны. Однако существуют также наклонные РС преобразователи, например, головные волны возбуждают и принимают наклонными РС преобразователями с углами призм, равными первому критическому. Применяют также наклонные РС преобразователи для поперечных и поверхностных волн. Наклонные РС преобразователи располагают либо один за другим (схема тандем), либо рядом (схема дуэт), как показано на рис. 2.22. Основное преимущество РС преобразователей – низкий уровень помех, особенно помех самого преобразователя. Их
применяют для контроля тонких изделий, когда необходима маленькая мертвая зона.
Определим некоторые понятия. Акустической осью совмещенного прямого преобразователя называют геометрическую ось пьезопластины АО (см. рис. 2.20,а). Для наклонного преобразователя так же называют продолжением геометрической оси в призме О"О в изделии О'В после ее преломления на границе призма - ОК (рис.2.20,б).
Точка выхода О – точка пересечения геометрической оси О"О с контактной (контактирующей с ОК) поверхностью преобразователя. При малой толщине слоя контактной жидкости она практически совпадает с точкой ввода О', где акустическая ось в изделии О'В пересекается с поверхностью ОК (поверхностью ввода).
Угол ввода a - угол между акустической осью и перпендикуляром к поверхности ввода. Угол b между перпендикуляром и геометрической осью в призме называют углом призмы.
Фокусом РС преобразователя С (рис. 2.20,в) называют точку пересечения акустических осей излучателя и приемника в ОК. Немного выше ее находится максимум чувствительности.
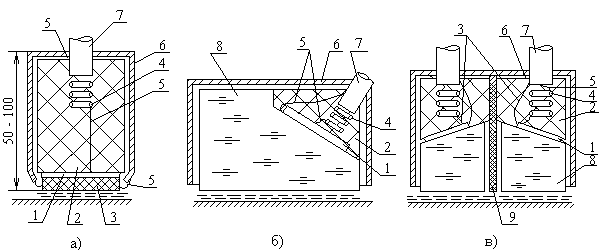
Основные конструктивные элементы преобразователя показаны на рис. 2.23. К ним относятся:
Пьезоэлемент или пьезопластина 1 – основной чувствительный элемент преобразователя.
Демпфер 2, к которому приклеивается не излучающая в ОК сторона пьезопластины. Он способствует гашению (демпфированию) колебаний для получения короткого импульса (при этом увеличивается широкополостность преобразователя). Он также повышает механическую прочность тонкой и хрупкой пьезопластины. Материал и форма демпфера подбираются такими, чтобы не возникали ложные сигналы от его поверхности, противоположной пьезопластине.
Протектор 3, предохраняющий пьезопластину от повреждений и износа. При соответствующем выборе материала и толщине он способствует передаче колебаний в среду (особенно при иммерсионном способе контакта) и стабилизации акустического контакта (при контактном способе).
Преломляющая призма 8 обеспечивает требуемый угол наклона. Ее конструируют так, чтобы не возникали сигналы помех в результате отражений волн от поверхностей. Например, помеха может появиться в результате отражения излученной пьезоэлементом продольной волны от угла D призмы (рис. 2.20,б), если сделать малой стрелупреобразователя – расстояние от точки выхода О до D. Если сделать малым путь в призме О"О, то помеха возникает от продольных и поперечных волн, отраженных от контактной поверхности призмы и попадающих на пьезопластину.
Кроме перечисленных основных элементов конструкции в преобразователе имеются проводники 5 (рис. 2.23), соединяющие электроды на плоскостях пьезопластины с корпусом преобразователя 6 и с внутренним проводником кабеля 7; электроакустический экран 9 (в РС преобразователе), разделяющий излучатель и приемник.
УЗ- преобразователи. маркировка.
Расшифровка условного обозначения преобразователей П111, П112, П121:
П – преобразователь;
Цифры: 1 – контактный;
1 – прямой или 2 – наклонный;
1 – совмещенный или 2 – раздельно-совмещенный.
Цифры – номинальная частота МГц.
Для П111, П112:
К - керамическая защита.
Цифры: диаметр и размеры пьезоэлемента.
Цифры: 002 – порядковый № преобразователя.
Для П121:
Цифры: угол ввода.
Цифры: порядковый № модели.
|
Рис. 2.23. Конструкции основных типов преобразователей:
а – прямой, б – наклонный, в - раздельно-совмещенный.
Дата добавления: 2015-08-14; просмотров: 4410;
