Геофізичні дослідження та роботи у свердловинах
Геофізичні дослідження та роботи у свердловинах (ГДРС) включають всі види геофізичних досліджень свердловин (ГДС), геолого-технологічні і геохімічні дослідження, роботи з перфорації та торпедування свердловин та інші. Матеріали ГДРС є одними із основних видів геологічної документації і повинні забезпечувати всебічне вивчення геологічного розрізу (літології, фізичних і колекторських властивостей гірських порід, нафтогазонасиченості тощо).
Геофізичні методи, які використовуються для вивчення геологічних розрізів свердловин, поділяються на електричні, магнітні, радіоактивні, акустичні, термічні та геохімічні. Найбільш поширеними є електричні та радіоактивні методи.
Електричні методи дослідження розрізів свердловин базуються на вивченні електричних властивостей гірських порід, до яких належать питомий електричний опір або електропровідність, абсолютна діелектрична проникність, природна електрохімічна активність та інші. При цьому виділяють методи позірного (уявного) опору, (метод потенціалів самочинної поляризації), методи опору заземлення і потенціалів зумовленої (викликаної) поляризації та діелектричні методи.
Методи позірного (уявного) опору. Цю групу методів складають стандартний електрокаротаж, бокове каротажне зондування, методи мікрозондів (мікрокаротаж), пластова нахилометрія, резистивіметрія.
Питомий опір гірських порід міняється в дуже широких межах – від часток до сотень тисяч омметрів. Величина питомого опору (rп) залежить від опору породоутворюючих мінералів і товщини пласта, напроти якого знаходиться зонд, опору бурового розчину, діаметра свердловини, зони проникнення фільтрату бурового розчину, діаметра цієї зони, а також від взаємного розташування електродів зонда (типу зонда ) і відстані між ними (розміру зонда). Практично у свердловинах заміряють деякий параметр, який називають позірним (уявним) опором, що залежить від питомого опору породи.
Для заміру позірного опору в свердловину на спеціальному кабелі спускають зонд, який складається переважно з трьох електродів A, M, N. Четвертий електрод В встановлюють на поверхні. Електроди А і В призначені в схемі для пропускання електричного струму, а електроди M i N – для вимірювання різниці потенціалів між двома точками середовища в момент перебігу електричного струму. Принципова схема вимірювання позірного опору зображена на рисунку 10.1.
При переміщенні зонда вздовж стовбура свердловини в залежності від питомого опору навколишніх порід змінюється різниця потенціалів між вимірювальними електродами M і N позірний опір rп обчислюють за формулою

де kз – коефіцієнт зонда, який залежить від відстані між електродами;
DU – різниця потенціалів між електродами M і N;
І – сила струму.

|
Результати замірів позірного опору представлені у вигляді кривої, яка відображає залежність позірного опору rп від глибини.
У залежності від розташування електродів живлення та вимірювання розрізняють потенціал- і градієнт-зонди, підошовні і покрівельні зонди, зонди прямого живлення, або однополюсні та взаємного живлення, або двополюсні. Вибір того чи іншого зонда для досліджень залежить, передусім, від геологічних умов розрізу. Потенціал-зонди найбільш доцільно використовувати у розрізах, представлених пластами великої товщини з низьким, або високим питомим електричним опором. Градієнт-зонди ефективні у розрізах з пластами малої товщини.
При стандартному електрокаротажі зміну позірного опору з глибиною досліджують за допомогою стандартних градієнт-зонда А2.0М0.5N і потенціал-зонда А0.5М6.0N та використовують для розчленування розрізів, оцінки літології, виділення опорних горизонтів та нафто- і газоносних об’єктів.
За показами стандартних зондів не завжди вдається одержати достатньо точну характеристику питомого опору порід, особливо при формуванні великої зони проникнення фільтрату бурового розчину. У таких умовах використовують бокове електричне зондування (БКЗ), яке полягає у вимірюванні позірного опору пластів набором однотипних зондів різної довжини, що забезпечують різний радіус дослідження. Переважно застосовують такий комплекс зондів: А0.4М0.1N, А1.0М0.1N, A2.0M0.5N, A4.0M0.5N, A8.0M1.0N.
Сприятливими умовами для застосування методу є однорідність досліджуваних пластів і порід, співвідношення питомих опорів пласта і бурового розчину не більше 500 – для пластів великої товщини і не більше 250 – для пластів малої товщини, товщиною пластів не менше трьох діаметрів свердловини. Результати досліджень за боковим електричним зондуванням використовують для визначення питомого електричного опору незабрудненої частини пласта і зони проникнення фільтрату бурового розчину, оцінки радіуса зони проникнення, пористості та нафтогазонасиченості.
Мікрокаротаж (МК) або мікрокаротажне зондування (МКЗ) полягає у детальному вивченні позірного опору присвердловинної зони пласта за допомогою зондів дуже малої довжини (мікрозондів) у необсадженій свердловині. При дослідженні застосовують зонди з відстанями між електродами до 5 см. У звичайних мікрозондах встановлюють 3 електроди з відстанню між ними 2,5 см, які утворюють градієнт-мікрозонд А0.025М0.025N і потенціал-мікрозонд А0.5М, де функції електрода N виконує корпус.
Градієнт-мікрозонд має незначний радіус дослідження і на його покази більше впливає шар бурового розчину та глиниста (фільтраційна) кірка; для потенціал-мікрозонда цей вплив менший.
Метод дає змогу вивчати розрізи, представлені пластами малої товщини, що забезпечується малими розмірами зондів і щільним притисненням ізольованої пластини з електродами до стінки свердловини. Наявність фільтрату бурового розчину у пристовбурній зоні пласта ускладнює одержання даних про характер газонафтонасиченості пласта, але метод мікрозондування дає змогу одержати детальне розчленування розрізу свердловини, виділити колектори й оцінити їх пористість.
Метод резистивіметрії (РЕЗ) застосовують для визначення питомого електричного опору бурового розчину при бурінні та експлуатації випробуванні свердловин з метою кількісної інтерпретації даних електрокаротажу, визначення мінералізації пластових вод за допомогою методів самочинної поляризації, установлення місць припливів і швидкості фільтрації підземних вод, виділення інтервалів поглинання бурового розчину в свердловині, місць руйнування обсадних колон та ін.
Метод потенціалів самочинної поляризації (ПС) використовують для визначення характеристик гірських порід за даними вимірювань потенціалів електричних полів, що виникають в них самочинно.
Вимірювання потенціалів електричного поля здійснюють за допомогою рухомого у свердловині електрода М і нерухомого електрода N, який міститься на поверхні. При цьому записують різницю потенціалів між електродами M і N, яка належить до точки запису (електроду M):

Виникнення потенціалів самочинної поляризації зумовлено дифузією солей із пластових вод у буровий розчин і навпаки, а також адсорбцією іонів на поверхні мінералів гірської породи, фільтраційними процесами в системі “свердловина-пласт”, окисно-відновними процесами між гірськими породами і буровим розчином. У результаті цих процесів виникають дифузійно-адсорбційні, фільтраційні та окисно-відновні потенціали, значення і знак яких визначаються співвідношенням мінералізації пластових вод і фільтрату бурового розчину, мінеральним складом і структурою гірських порід та іншими факторами. Таким чином, вимірювання потенціалів
U дає інформацію про літологію розрізу свердловини, мінералізацію пластових вод і колекторські властивості порід.
Метод потенціалів самочинної поляризації проводиться одночасно з реєстрацією уявного опору і застосовується для розчленування розрізу свердловин, виділення у розрізі глинистих порід і колекторів, визначення мінералізації пластових вод, оцінки пористості колекторів, визначення місця прориву прісної води в свердловину тощо.
Методи опору заземлення базуються на існуючій різниці у значеннях питомих електричних опорів гірських порід. Існує декілька модифікацій методу, найбільш поширеними серед яких є боковий каротаж, мікрокаротаж і дивергентний каротаж.
Боковий каротаж (БК) проводять з використанням трьох-,
семи-, і дев’ятиелектродного зонда з автоматичним фокусуванням струму. На практиці частіше застосовують трьохелектродні зонди. За результатами вимірювань потенціалу
U між електродами і силою струму І через центральний електрод зонда визначають уявний опір
порід.
Боковий каротаж доцільно використовувати при бурінні на високомінералізованому буровому розчині з питомим опором до 0,1...0,5 Ом·м. За результатами досліджень за допомогою бокового каротажу здійснюють детальне розчленування розрізу за значеннями позірного опору порід, вивчення літології, пористості і проникності порід, визначення параметрів зони проникнення, фільтрату бурового розчину і характеру насичення пластів.
Боковий мікрокаротаж (БМК) проводять з використанням
двох-, трьох- і чотирьохелектродних мікроустановок. Покази бокового мікрокаротажу менш спотворені впливом глинистої кірки і шаром бурового розчину, ніж при вимірюванні електричного опору звичайними мікрозондами. Результати досліджень використовують для уточнення границь і товщин пластів, визначення літології розрізів і виділення колекторів. Цей метод у комплексі з іншими геофізичними методами дає змогу оцінити пористість, глинистість і нафтогазонасиченість колекторів.
Дивергентний каротаж (ДК) ґрунтується на вивченні електропровідності гірських порід. Особливість дивергентного методу полягає у регулюванні струму через електроди живлення за значенням його радіальної дивергенції, тобто за векторною величиною густини струму, що проходить через бокову поверхню свердловини на ділянці розміщення вимірних електродів. Реєструється величина, пропорційна опорові середовища, яким поширюється радіальна складова струму.
Дивергентний каротаж доцільно проводити у свердловинах, заповнених високомінералізованим буровим розчином. На основі його результатів можна розв’язувати задачі розчленування розрізу, визначення його літології, виділення колекторів тощо.
Методи потенціалів викликаної поляризації (ВП) базуються на вивченні штучних вторинних стаціонарних електричних полів, походження яких пов’язується з фізико-хімічними процесами, що відбуваються в породах внаслідок дії електричного струму на поверхні розділу твердої та рідкої фаз. Поляризація виникає в гірській породі при пропусканні через неї постійного електричного струму (поляризуючого струму). Після виникнення поляризуючого струму потенціали викликаної поляризації плавно зменшуються з часом. Викликана поляризація іонопровідних середовищ (пісковики, алевроліти) збільшується зі зростанням ступеня дисперсності і зменшується зі збільшенням проникності. Ця властивість дозволяє використовувати метод потенціалів викликаної поляризації для розчленування розрізу, виділення тріщинуватих зон, оцінки проникності колекторів тощо.
Індукційний каротаж ґрунтується на вивченні вторинного електромагнітного поля середовища, створеного джерелом електричного свердловинного приладу.
На рисунку 10.2 зображено принципову схему індукційного методу. Зондова установка має кілька котушок високої індуктивності, високочастотний генератор і підсилювач. При пропусканні через генераторну котушку змінного струму високої частоти від генератора навколо цієї котушки створюється змінне електромагнітне поле, яке індукує в середовищі кругові струми. Електрорушійна сила кругових струмів залежить від електропровідності середовища. Під дією електромагнітного поля кругових струмів у вимірювальній котушці зонда індукується електрорушійна сила, пропорційна електропровідності середовища, яка підсилюється і реєструється на поверхні.
|
Індукційний каротаж не вимагає безпосереднього контакту вимірювальної системи з буровим розчином і може використовуватись у сухих свердловинах або заповнених слабопровідним буровим розчином чи прісною рідиною. У цих випадках використовувати звичайні методи електрометрії не можна. Індукційний каротаж характеризується великим радіусом дослідження і дає позитивні результати при вивченні пластів зі значним проникненням фільтрату бурового розчину та низькоомних розрізів (0,3
50
100 Ом·м).
На основі даних індукційного каротажу здійснюють розчленування розрізу свердловин за питомим електричним опором порід, виділення водо- і нафтогазоносних горизонтів. Результати індукційного каротажу у комплексі з іншими методами дають змогу оцінити коефіцієнти анізотропії пластів.
Радіоактивні методи. Радіоактивні методи поділяються на методи реєстрації природних радіоактивних випромінювань гірських порід і методи реєстрації вторинних випромінювань, пов’язаних з опроміненням гірських порід з допомогою спеціальних джерел (гамма-квантів і нейтронів), розміщених у свердловинному приладі. Важливою перевагою більшості ядерних методів є можливість їх застосування як у необсаджених колоною, так і обсаджених свердловинах.
Із радіоактивних методів найбільш розповсюдженими є гамма- каротаж (ГК), нейтронний гамма-каротаж (НГК), нейтрон-нейтронний каротаж (ННК), в меншій мірі – гамма-гамма-каротаж (ГГК).
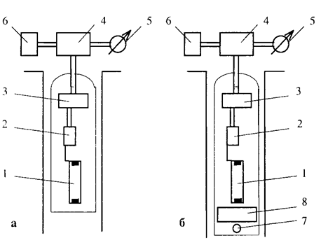
Гамма-каротаж заснований на вивченні інтенсивності природного g-випромінювання, що виникає при розпаді радіоактивних елементів, розсіяних у гірських породах (рис. 10.3). Підвищена радіоактивність характерна для глин і глинистих осадів. Значно меншою інтенсивністю радіоактивності характеризуються піски, пісковики, доломіти і вапняки. Ще меншу радіоактивність мають гіпси, галіт, вугілля та ангідрит.

Рис. 10.3 – Принципова схема гамма-методу (а) та
нейтронного гамма-методу (б)
1 – лічильник; 2 – генератор високої напруги; 3 – підсилювач;
4 – вимірювальний блок; 5 – реєструючий прилад; 6 – блок живлення;
7 – джерело нейтронів; 8 – екран
У комплексі з даними інших геофізичних досліджень результати природного гамма-випромінювання використовуються для літологічного розчленування розрізів свердловин, їх кореляції, виділення порід – колекторів, оцінки глинистості порід, виявлення в розрізі свердловини радіоактивних руд, дослідження якості цементації заколонного простору і висоти підйому цементу тощо.
Нейтронний гамма-каротаж ґрунтується на вивченні інтенсивності вторинного гамма-випромінювання, розсіяного гірською породою або нейтронного випромінювання (нейтрон-нейтронний каротаж), при опроміненні її нейтронами (рис. 10.3).
Нейтронні методи застосовують для літологічного розчленування розрізів, виділення колекторів, оцінки пористості порід, визначення водонафтового, газоводяного і газонафтового контактів, визначення характеру насичення пластів, ступеня їх обводнення і швидкості руху пластових вод в родовищі, вивчення технічного стану свердловини, контролю гідравлічного розриву пластів, уточнення глибини перфорації колон.
Основним недоліком нейтронних методів є їх значна чутливість до зміни умов у свердловині (зміна діаметра свердловини, товщини фільтраційної кірки).
Основними модифікаціями імпульсних і нейтронних радіоактивних методів є імпульсний нейтрон-нейтронний каротаж (ІННК) і імпульсний нейтронний гамма-каротаж (ІНГК). За допомогою цих методів каротажу розв’язують такі ж задачі, як і нейтронним гамма-каротажем або нейтрон-нейтронним каротажем. Однак при високій мінералізації пластових вод імпульсний нейтрон-нейтронний метод дає змогу визначити коефіцієнт нафтонасиченості колекторів і стежити за поточним нафтонасиченням пластів родовищ, які знаходяться в розробці.
Гамма-гамма каротаж базується на вимірювання інтенсивності штучного гамма-випромінювання, розсіяного елементами гірської породи під час їх опромінення потоком гамма-квантів.
Існують дві модифікації гамма-гамма-методу: гамма-гамма-каротаж за густиною (ГГК-Г) та гамма-гамма-метод за м’якою компонентою – селективний (ГГК-С).
За допомогою першого методу проводиться розчленування геологічних розрізів, визначення густини та пористості порід, виділення різних корисних копалин, які мають аномальну густину (вугілля, апатит, флюорит, марганцеві і хромові руди, поліметалічні руди густиною більше 3 г/см3), відбивка муфт на обсадних колонах, контроль якості колон і їх цементування та рівня рідини в свердловинах.
Результати досліджень гамма-гамма-методу селективного використовують для вирішення різних завдань з пошуків твердих корисних копалин.
Акустичні методи. Акустичні методи геофізичних досліджень у свердловинах ґрунтуються на вивченні пружних властивостей гірських порід при розповсюдженні в них пружних деформацій. Швидкість поширення пружних хвиль у гірських породах залежить від мінералогічного складу, пористості, структури порового простору, типу флюїду й тісно пов’язана з літолого-петрографічними властивостями порід. У табл. 10.5 наведені діапазони значень швидкостей розповсюдження хвиль у деяких гірських породах і пластових флюїдах.
Таблиця 10.5
Швидкість поширення пружних хвиль у гірських породах
| Гірська порода | Швидкість, м/с | Гірська порода | Швидкість, м/с |
| Глина | 1200–2500 | Кам’яна сіль | 4500–5500 |
| Мергель | 2000–3500 | Кристалічні породи | 4500–6500 |
| Пісковик незцементо-ваний | 1500–2500 | Вода, буровий розчин | 1500–1700 |
| Пісковик щільний | 3300–5250 | Нафта | 1300–1400 |
| Вапняк | 5570–7100 | Вуглеводневі гази | 430–450 |
| Ангідрит | 5800–6100 |
При акустичному каротажі (АК) реєструється повне відображення сигналу, тобто його звукові образи: хвильові картини – запис повного сигналу спільно з погодинними відмітками і фазокореляційні діаграми – запис повного сигналу у вигляді фазових ліній сигналу, величина інтервального часу Т ( , де vp – швидкість повздовжньої хвилі), декремент затухання акустичної хвилі ( , де A1 і A2 – амплітуди хвиль, що реєструються приймачами; l – база зонда).
При акустичному каротажі застосовується трьохелементний зонд, який складається з приймача і двох розташованих на деякій відстані від нього випромінювачів. Відстань між випромінювачами називається базою зонда. Довжина зонда визначається відстанню між віддаленим випромінювачем і приймачем.
Акустичний каротаж за швидкістю базується на вивченні швидкості поширення пружних хвиль в гірських породах шляхом вимірювання інтервального часу
, де t1, t2 – час надходження хвилі відповідно на другий і перший приймачі;
L – база зонда. Швидкість поширення хвилі у пласті називають пластовою або інтервальною.
Акустичний каротаж за затуханням базується на вивченні характеристик затухання пружних хвиль у породі. На затухання пружних коливань значно впливає неоднорідність середовища, яка зумовлює послаблення коливань і зниження амплітуди хвилі. Здатність гірських порід поглинати пружні коливання оцінюється коефіцієнтом (декрементом) поглинання.
Акустичний каротаж застосовується для літологічного розчленування розрізів свердловини, визначення пористості порід, характеру насичення колекторів, виділення в розрізі тріщинно-кавернозних зон, інтерпретації результатів сейсморозвідки та розв’язання інших задач.
До геолого-технічних методів дослідження в процесі буріння свердловин відносяться: газовий каротаж, метод вибіркових електродів, комплексні геофізичні дослідження (реєстрація параметрів буріння): детальний механічний каротаж, фільтраційний каротаж, метод тиску. При бурінні нахилонаправлених і горизонтальних свердловин використовують спеціальні комплексні геофізичні автономні прилади (апаратурно-методичний комплекс “Горизонт”). Прилади забезпечують отримання наступних основних параметрів: потенціалів самочинної поляризація (ПС), інтенсивності природного гамма-випромінювання (ГК), нейтронного гамма-випромінювання (НГК), кута нахилу свердловини (0
180
0,1 град.), азимута нахилу свердловини (0
360
1 град.), уявного електричного опору.
Використання комплексу геофізичних методів дослідження свердловин в процесі буріння дозволяє крім оперативного отримання важливої геолого-геофізичної і технологічної інформації скоротити терміни будівництва свердловин на 15–20 %. Комплексі геофізичні дослідження свердловин у процесі буріння дозволяють оперативно приймати рішення про відбір керна, випробування пластів та ін.
Методи дослідження технічного стану свердловини. Для дослідження технічного стану свердловин застосовують комплекс різних геофізичних методів.
Інклінометрія (Інкл) використовується для вимірювання кута і магнітного азимута викривлення стовбура свердловини. Кут нахилу стовбура (зенітний кут) свердловини визначається між вертикаллю та фактичним напрямком осі стовбура свердловини. Магнітний азимут викривлення характеризується кутом у горизонтальній площині між напрямком на магнітний північ і напрямком горизонтальної проекції осі свердловини.
Кут і азимут викривлення свердловин вимірюють інклінометрами з дистанційним електричним заміром, фотоінклінометрами і гіроскопічними інклінометрами.
Найбільш поширені інклінометри з обертальною немагнітною рамкою, які дають змогу проводити багаторазове вимірювання кута і азимута викривлення на заданих глибинах свердловини. Азимут викривлення визначається в цих приладах за допомогою магнітної бусолі, а кут викривлення від вертикалі у площині викривлення – виском. Визначення азимута викривлення такими приладами можливе тільки у незакріплених свердловинах. Для вимірювання азимута викривлення в закріплених свердловинах використовують гіроскопічні інклінометри.
За результатами систематичних замірів кута і азимута викривлення на різних глибинах свердловини будують інклінограми – проекції стовбура свердловини на горизонтальну і вертикальну площини. Інклінограми різного виду наведені на рис. 10.4.
У залежності від ступеня кривизни свердловини інтервали вибирають різні. При викривленнях до 10° приймаються інтервали 20–50 м, при значних викривленнях і похило направленому бурінні вони зменшуються до 5–10 м.

Рис. 10.4 – Інклінограми різного виду
Кавернометрія використовується для визначення усередненого діаметра свердловини. Для вимірювань застосовують каверноміри, за допомогою яких записують криву зміни діаметра свердловини з глибиною (кавернограму).
Максимальна похибка вимірювання діаметра свердловин становить 10 мм при діапазоні вимірювань від 70 до 760 мм.
Профілеметрія використовується для визначення діаметра свердловини у двох взаємно перпендикулярних площинах, що дає змогу оцінювати форму поперечного перерізу стовбура свердловини. Якщо діаметри свердловини у двох взаємно перпендикулярних площинах суттєво відрізняються, то це свідчить про наявність жолобних виробок або інших порушень форми стовбура свердловини.
Кавернометрія і профілеметрія застосовуються для визначення розмірів і форми стовбура свердловини, уточнення свердловинних умов при інтерпретації результатів окремих геофізичних методів, контролю за станом стовбура свердловини під час буріння. За результатами досліджень проводиться розрахунок об’єму затрубного простору при визначенні кількості цементу, необхідного для цементування обсадних колон, виявлення колекторів за наявність глинистої кірки тощо.
Методи оцінки якості цементування свердловини використовуються для визначення параметрів, що характеризують якість розмежування пластів і герметичність затрубного простору. Найбільш поширеними є методи термометричного, радіоактивного та акустичного контролю якості цементування.
Термометричний метод визначення цементного кільця базується на вивченні природних і штучних теплових полів у свердловинах.
У процесі тверднення тампонажного розчину в затрубному просторі свердловини відбувається відновлення природного співвідношення між буровим і тампонажним розчином. Розподіл температури на глибині зацементованої свердловини залежить від багатьох факторів: природного теплового поля, теплового поля і виділення тепла в результаті гідратації цементу, часу з початку цементування, теплофізичних властивостей порід та ін. Максимальна температура тепловиділення при твердненні тампонажного розчину із портландцементу спостерігається через 6–9 годин після його приготування.
Аналіз результатів вимірювань температури в процесі тверднення тампонажного розчину дає змогу уточнити за характерним підвищенням температури глибину підйому тампонажного розчину в затрубному просторі.
Метод термометрії може використовуватись також і для діагностики міжпластових перетоків. Характерною ознакою їх можуть слугувати температурні аномалії по глибині свердловини порівняно з природнім розподілом температур.
Радіоактивні методи контролю цементування свердловин використовуються для контролю товщини цементного кільця при опромінюванні від радіоактивного джерела приладу навколосвердловинного простору. Принцип їх дії базується на реєстрації інтенсивності гамма-випромінювання при обертанні навколо індикатора приладу свинцевою екрану із прорізом. Інтенсивність гамма-випромінювання за одне обертання обернено залежить від товщини цементного каменю.
Гамма-каротаж може використовуватись також для діагностики зон міжпластових перетоків у випадку їх гідродинамічного зв’язку із внутрішньою порожниною обсадної колони.
Для реєстрації кривих розподілу інтенсивності розсіяного гамма-випромінювання по периметру обсадної колони застосовують селективний гамма-дефектомір-товщиномір СГДТ-2, який характеризується підвищеними чутливістю та інтерпретаційними можливостями.
Основними недоліками гамма-гамма методу контролю якості цементування є обмеження у різниці між густинами тампонажного і бурового розчинів (більше 300–500 кг/м3) та температурою в свердловині (до 100–120°С).
Акустичний метод контролю цементування свердловин базується на вимірюванні амплітуди заломленої повздовжньої хвилі та часу пробігу пружних коливань. Метод дає змогу визначити глибину підйому тампонажного розчину в затрубному просторі, його наявність за колоною, ступінь зчеплення цементного каменю з обсадною колоною і гірськими породами, наявність дефектів у цементному камені.
У вітчизняній практиці використовують акустичні цементоміри: АКЦ-4 – для 146–219 мм обсадних колон (максимальна робоча температура 150°С, максимальний тиск 80 МПа); АКН-1 – для обсадних колон діаметром до 300 мм (максимальна робоча температура 120°С, максимальний тиск 60 МПа).
Методи контролю технічного стану обсадних колон використовують для виявлення вм’ятин, тріщин, місць порушення герметичності, обривів по тілу труби та інших дефектів.
Відомо чимало методів і приладів для визначення дефектів в обсадних колонах. Це прямі методи контролю – оптичний, акустичний, електромеханічний, механічний, магнітний, індукційний, метод розсіяного гамма-випромінювання та непрямі методи – резистивіметрія, термометрія, метод радіоактивних ізотопів.
Оптичний метод базується на одержанні оптичних зображень, стінок обсадної колони та візуальному їх вивченні. Для цього використовують свердловинні фотоапарати, фото- і кінотелевізійні установки. Недолік цього методу полягає в тому, що стан обсадної колони можна контролювати тільки в оптично прозорому середовищі. Окрім цього, виникають труднощі в діагностиці дефектів обсадної колони на основі візуальних зображень її поверхні.
Акустичний метод ґрунтується на реєстрації відбитих від поверхні труб високочастотних ультразвукових хвиль, що дає змогу одержати акустичний образ досліджуваної поверхні. Розроблений свердловинний акустичний телевізор сприяє контролю внутрішньої поверхні обсадних труб на необхідних інтервалах глибин. З його допомогою можна визначити місцезнаходження перфораційних отворів, тріщин та ін. Недоліки акустичного методу полягають у його нечутливості до локальних порушень геометрії труб (типу вм’ятин) та похибках, зумовлених наявністю на поверхні труб або в буровому розчині різних неметалевих включень (шламу).
Електромеханічний метод контролю зміни внутрішнього діаметру базується на вимірюванні переміщень шести-восьми важелів, які ковзають на внутрішній поверхні обсадної колони і їх радіальні переміщення передаються на рухомий контакт реостата, що призводить до зміни співвідношень між електричними опорами і реєструється на поверхні (такий принцип реалізований у каверномірі). Розроблений у ВНДІГеофізики прилад НЭМ–68 для вимірювань діаметру обсадної колони та реєстрації муфтових з’єднань, характеризується достатньо високою точністю (до 1 мм). Недоліки електромагнітного методу полягають в усередненні результатів вимірювань, а також у неможливості діагностики поздовжніх дефектів.
Механічний метод контролю технічного стану обсадних колон базується на тому ж принципі, що й електромеханічні, тільки результати вимірювань реєструються безпосередньо в приладі.
Магнітний метод ґрунтується на реєстрації магнітних полів розсіювання біля отворів у колоні при її намагнічуванні стаціонарним магнітним полем. Розроблений у НДІморгеофізики локатор перфораційних отворів ЛПО-1 з магнітним датчиком характеризується високою здатністю діагностування. Випробування при щільності перфорації 10отв./м дає можливість діагностувати отвори діаметром 7–8 мм і більше. Прилад розрахований на максимально допустиму температуру до 150°С і тиск до 80 МПа.
Індукційний метод контролю базується на реєстрації вихрових струмів, що збурюються в обсадній трубі змінним магнітним полем. Використовують для вимірювань товщини стінок труб, виявлення тріщин та інших дефектів. Розроблені у НДІморгеофізики дефектоміри ДИ-1 і ДСИ дають змогу визначати тріщини та інші дефекти розміром близько 10 мм. Ці прилади працюють при температурі до 150°С і тиску до 80 МПа.
Метод розсіяного гамма-випромінювання застосовується для вимірювань середньої товщини стінок, внутрішнього діаметру і дефектів обсадних колон. За допомогою дефектоміра-товщиноміра СГДТ-2 визначають товщину стінок і діаметр обсадних труб з точністю до 0,5 мм, а також місце розташування муфт і центраторів.
Непрямі методи контролю стану обсадних колон (резистивіметрія, термометрія, метод радіоактивних ізотопів) використовують разом із іншими операціями, пов’язаними з припливом або поглинанням рідини через місце порушення. Дефекти в обсадних колонах визначають на основі характерних аномалій питомого електричного опору рідини в свердловині, температури та інтенсивності гамма-випромінювання.
Усі перелічені роботи виконуються з участю представника геологічної служби, який складає інформацію про технічний стан стовбуру свердловини.
Геофізичні дослідження та роботи у нафтогазових свердловинах виконуються згідно галузевого стандарту України від 10.01.2000 р.
У залежності від завдань, що вирішуються ГДРС, виділяються загальні, детальні та спеціальні дослідження:
– загальні виконуються скороченим (основним) комплексом ГДС по всьому стовбуру свердловини;
– детальні дослідження виконуються розширеним комплексом ГДС (основним і додатковим) в перспективних на нафту і газ інтервалах;
– спеціальні дослідження виконуються в окремих пластах або цільових інтервалах за спеціальними технологіями.
Загальні дослідження розрізу свердловин повинні забезпечувати:
– поділ розрізу на пласти, їх прив’язку по глибині вздовж осі свердловини і за абсолютними позначками;
– поділ розрізу на літолого-стратиграфічні комплекси та типи (теригенний, карбонатний, хемогенний, вулканогенний, кристалічний тощо);
– виділення стратиграфічних реперів;
– прив’язку відібраного керна по глибині;
– літологічне вивчення розрізу;
– інформаційне забезпечення інтерпретації наземних геофізичних польових досліджень (сейсморозвідки, електророзвідки, граві-магніторозвідки);
– попередню оцінку нафтогазоперспективності розрізу та колекторських властивостей гірських порід;
– визначення просторового розміщення вибою свердловини.
Детальні дослідження в комплексі з іншими геолого-геофізичними даними повинні забезпечувати:
– розчленування досліджуваного розрізу на пласти з максимальною детальністю, їх прив’язку по глибині та абсолютних позначок;
– визначення літотипів виділених пластів;
– виділення колекторів та оцінку їх фільтраційно-ємнісних властивостей;
– якісну та кількісну характеристику флюїдонасичення, встановлення міжфлюїдальних контактів і границь перехідних зон.
Детальні дослідження в опорних і параметричних свердловинах виконуються у невивченій частині розрізу та у передбачуваних нафтогазоперспективних інтервалах; у структурних, пошукових, розвідувальних свердловинах – у перспективних інтервалах; в експлуатаційних свердловинах – у продуктивних інтервалах.
Спеціальні види та технології ГДС у свердловинах всіх категорій застосовують в окремих найбільш перспективних пластах та в інтервалах суцільного відбору керна для уточнення фазового стану флюїдів і положення міжфлюїдних контактів, контролю випробувань у колоні та заходів з інтенсифікації припливів, отримання опорної інформації для побудови петрофізичних моделей та детальної прив’язки керна до каротажних матеріалів.
На основі результатів інтерпретації матеріалів ГДРС пошуково-розвідувальних та експлуатаційних свердловин з використанням петрофізичної та іншої геолого-геофізичної інформацій розвідувальної площі (родовища) проводиться оцінка та підрахунок запасів нафтогазових родовищ.
Комплексна інтерпретація матеріалів ГДРС повинна забезпечити:
– детальне стратиграфічне та літологічне розчленування і кореляцію розрізів, побудову кореляційних схем;
– виділення у розрізі свердловин колекторів всіх типів і визначення їх параметрів;
– побудову інтерпретаційних моделей з врахуванням матеріалів петрографічних досліджень;
– розподіл колекторів на продуктивні та водоносні, а продуктивних – на газо- та нафтоносні;
– визначення положень міжфлюїдних контактів шляхом міжсвердловинної кореляції, ефективних газонафтоносних товщ;
– визначення та узагальнення по пластах (покладах) коефіцієнтів пористості, газонафтонасиченості, проникності, витіснення, оцінку неоднорідності пластів (покладів, об’єктів);
– підрахунок запасів нафти та (або) газу;
– визначення пластових тисків та температур;
– прогнозування потенційних дебітів;
– прогнозування геологічного розрізу у навколосвердловинному та міжсвердловинному просторі.
На сучасному етапі розвитку геофізики обробка результатів ГДС проводиться на основі широкого використання автоматизованих комп’ютеризованих систем інтерпретації. Фахівцями УкрДГРІ та Інституту кібернетики НАН України створено комп’ютеризовану технологію “Геопошук”, яка дозволяє виконувати усі етапи оперативної інтерпретації результатів ГДС, які містять:
– редагування цифрових записів даних різних методів ГДС;
– перегляд, виправлення узгодження каротажних кривих за глибиною;
– створення, заповнення та редагування попластової бази даних;
– відбиття меж прошарків, аналіз результатів інтерпретації, їх редагування;
– зняття відліків геофізичних параметрів та коригування їх;
– оцінку якості методів електрометрії, визначення опору промивної рідини та пластів-колекторів за даними комплексу методів БКЗ+БК+ІК;
– визначення глинистості, пористості, проникності, нафтогазонасиченості та інших параметрів продуктивних горизонтів;
– формування оперативного геофізичного висновку за даними ГДС.
Крім формування оперативного висновку за даними ГДС, комп’ютеризована технологія “Геопошук” дозволяє виконувати етапи зведеної інтерпретації, які включають:
– побудову кореляційних профілів, перетинів;
– побудову карт геофізичних параметрів;
– автоматизований підрахунок запасів вуглеводнів;
– побудову геологічної моделі нафтогазового родовища.
На рис. 10.5 наведено результат оперативної інтерпретації даних стандартного комплексу ГДС за допомогою комп’ютеризованої технології “Геопошук” з метою побудови геологічного розрізу свердловини та оцінки характеру насичення пластів-колекторів.

Рис. 10.5 – Геолого-геофізичний розріз свердловини та оцінка
характеру насичення пластів-колекторів за допомогою комп’ютеризованої технології “Геопошук”
При визначенні технічного стану відкритого стовбуру свердловини методи ГДРС мають надати інформаційну основу для:
– оцінки просторового положення стовбура свердловини (відповідності кута та азимуту заданій траєкторії стовбура);
– визначення геометрії перетину стовбура, виділення жолобів, каверн, сальників, місць вилучення та течії солей і глин;
– прогнозування небезпечних зон прихоплення бурового інструменту;
– виявлення зон нафтогазопроявів і поглинань бурового розчину.
Під час контролю та дослідження затрубної ізоляції пластів, методи ГДРС повинні надати інформацію для визначення:
– висоти підйому цементу за колоною, однорідності цементного каменю, повноти заповнення цементом затрубного простору, наявності затрубних каналів, заповнених рідиною та газом;
– суцільності зчеплення цементу з колоною та породою;
– затрубних перетоків рідини та газу поза колоною;
– прив’язки до розрізу та місць установки пакерів.
Безпосереднє випробування пластів виконується спеціальними приладами (випробовувачами) на каротажному кабелі або бурових трубах і має забезпечити:
– інформацію про появу припливу флюїду;
– відбір герметизованих проб рідин і газів із пласта;
– реєстрацію діаграм тиску та припливу при випробуванні;
– детальні дослідження для точного визначення положення міжфлюїдних контактів;
– визначення гідродинамічної однорідності пластів.
Геофізичні дослідження під час випробування та освоєння свердловин повинні надати можливість:
– виявити заколонну циркуляцію, негерметичність ізоляційного моста і колони (контроль якості розділення об’єктів випробування);
– встановити сполученість об’єктів випробування з сусідніми пластами в процесі випробувань;
– здійснити контроль інтервалів і характеру роботи продуктивних горизонтів та складу припливу, а також контроль за результатами кислотних та інших обробок привибійної зони свердловин.
Набори методів ГДС (табл. 10.6) з метою вивчення геологічної характеристики розрізу свердловин відрізняються за геолого-технічними умовами проведення вимірів і завдань, що вирішуються:
– за категоріями свердловин, що досліджуються – параметричні і пошукові, розвідувальні та експлуатаційні;
– за складністю будови геологічного розрізу;
– за електричним опором промивної рідини: прісна
>0,1Ом·м, солона
<0,1Ом·м та рідина, яка не проводить електричний струм;
– за типом досліджень: загальні дослідження по всьому розрізу свердловини в масштабі глибин 1:500 і детальні дослідження в перспективних інтервалах у масштабі глибин 1:200.
Комплекси ГДС для вирішення геологічних завдань повинні включати обов’язкові (основні) методи досліджень та, за необхідністю, додаткові. Вони повинні мати мінімальний набір обов’язкових методів, які забезпечують у відносно простих геолого-технічних умовах вирішення встановленого мінімуму геолого-інформаційних і технічних завдань. Обов’язкові методи ГДС підлягають повному та безумовному виконанню всіма організаціями і підприємствами, незалежно від їх підпорядкування та форм власності, що проводять ГДС у
табл. 10.6
нафтогазоносних регіонах України. Додаткові методи досліджень визначаються, виходячи із специфіки досліджуваного розрізу та конкретних геолого-технічних умов, коли необхідно отримати додаткову інформацію для виконання поставлених завдань.
Після завершення буріння інтервалів, намічених для перекриття кондуктором, технічною та експлуатаційною колонами, повинні бути проведені загальні дослідження обов’язковим комплексом ГДС.
У нафтогазоперспективних частинах розрізу після закінчення їх буріння разом з загальними дослідженнями повинні виконуватись детальні. При цьому їх інтервал повинен включати водонасичені колектори і покришки як зі сторони покрівлі, так і зі сторони підошви нафтогазоносних пластів (об’єктів).
Комплекс детальних досліджень повинен виконуватись у мінімально короткі строки після розкриття розрізу бурінням. Інтервали досліджень при цьому не повинні перевищувати зазначених у таблиці 10.7.
Таблиця 10.7
Дата добавления: 2015-07-24; просмотров: 4127;
