Сварочные установки с твердотельным лазером
Первые установки для сварки, термической резки и пробивки отверстий были созданы на твердотельных лазерах, в которых в качестве рабочего тела применен искусственный монокристалл рубина. Сейчас для сварочных установок широко используются лазеры на алюмоиттриевом гранате с неодимом (Nd-АИГ-лазеры). В качестве примера рассмотрим принцип действия и устройство сварочной установки с лазером на рубине (рис. 9.1). Для лазеров используют искусственно выращенные монокристаллы бледнорозового рубина.

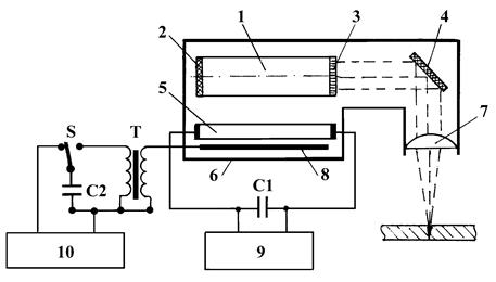
Рис. 9.1. Схема сварочной установки с твердотельным лазером:
1 - рабочее тело; 2, 3 - зеркала оптического резонатора; 4 - зеркало для поворота луча; 5 - лампа накачки; 6 - кожух эллиптического сечения; 7 - фокусирующее устройство; 8 - запускающий электрод; Т - импульсный трансформатор
Рубин состоит из окиси алюминия Al2O3, в котором часть атомов замещена атомами хрома. В бледнорозовом рубине хрома - 0.05%. Искусственно выращенные монокристаллы (були) имеют размеры: диаметр - до 30 мм, длина - до 1 м и более. Монокристалл тщательно обрабатывают, особенно торцевые поверхности, которые должны быть параллельны друг другу и перпендикулярны к оси стержня. На торцы стержня наносят специальное покрытие, чтобы получить высокий коэффициент отражения. Выходное зеркало имеет частичное отражение света и оно может пропускать свет, второе зеркало имеет полное отражение света. Эти два зеркала образуют на рабочем теле оптический резонатор. В некоторых лазерах зеркала отделены от рабочего тела, они могут быть плоскими или сферическими.
Рабочее тело помещают в кожух с зеркальной внутренней поверхностью. В кожухе размещают мощную ксеноновую лампу, дающую мощную вспышку света при разряде конденсаторной батареи С1. Целесообразно применять кожух, который в сечении имеет форму эллипса. В этом случае рабочее тело и лампу устанавливают по осям, совпадающим с фокусом эллипса, чтобы все излучение лампы собиралось на рабочем теле.
Значительная часть излучения лампы тратится на нагрев рабочего тела. Поэтому в лазерных технологических установках предусмотрено охлаждение рабочего тела воздушным потоком, проточной водой, или даже жидким азотом для лазеров с высокой частотой излучения или непрерывным излучением.
Рассматриваемый лазер работает в импульсном режиме.
Для разряда С1 через лампу-вспышку необходимо вызвать первичную ионизацию газа в лампе. Для этого на запускающий электрод 8 лампы 5 с импульсного трансформатора Т подается импульс напряжения до 40 кВ, который образуется при разряде конденсатора С2 через первичную обмотку трансформатора.
Мощный световой импульс лампы переводит рубин в возбужденное состояние. В рубине активными центрами возбуждения являются атомы хрома. Лазер на рубине (как и большинство лазеров) работает по трехуровневой схеме (рис. 9.2).

Рис. 9.2. Схема энергетических уровней атома хрома в кристалле рубина
Е1 - нижний (основной) уровень; Е2 - промежуточный (метастабильный) уровень;
Е3 - верхний уровень возбужденного состояния
Известно, что при движении электрона по орбите вокруг ядра атом вещества энергии не излучает. При поглощении атомом кванта энергии
, где n - частота, h - постоянная Планка, электрон переходит на новую орбиту, где энергия электрона увеличивается на величину Е.При переходе с орбиты электрона с большей энергией Еn на орбиту, где энергия электрона Еm меньше, атом излучает квант энергии
, с длиной волны
, где с - скорость света.
Атом, находящийся в основном (невозбужденном) состоянии занимает нижний энергетический уровень с энергией, например, Е1. Атом, поглотивший квант энергии
, переходит в нестабильное (возбужденное) состояние и занимает энергетический уровень с энергией, например,
(верхний энергетический уровень).
Возврат атома на нижний уровень происходит самопроизвольно (спонтанно) или такой переход стимулируется. При этом такой переход может происходить через промежуточные энергетические уровни и подуровни, в этом случае излучаемые кванты энергии будут иметь различные частоты. В рубине возбужденные атомы хрома переходят на нижний уровень преимущественно через промежуточный уровень, т.е. лазер работает по трехуровневой схеме.
Из широкого спектра излучения лампы рубином поглощается излучение преимущественно с длиной волны l=0.56 мкм (зеленый участок спектра). Атомы хрома при этом переходят на энергетический уровень Е3. На этом уровне атомы хрома могут находиться очень короткое время (t3=2×10-7 c) и переходят на промежуточный уровень Е2. Излучаемые при этом кванты энергии с частотой
находятся в инфракрасном участке спектра и расходуются на нагрев рубинового стержня.
Время жизни атомов хрома на уровне Е2 значительно больше (t3=5×10-3 c). Это свойство приводит к тому, что большинство атомов хрома через некоторый интервал времени переходят на уровень с энергией Е2. Стержень рубина как бы накачан возбужденными атомами с энергией Е2. При отсутствии внешнего воздействия атомы хрома спонтанно переходят на нижний уровень Е1. При этом излучаются кванты энергии (фотоны) с частотой
(длина волны
мкм, красный участок спектра).
При наличии оптического резонатора из двух зеркал происходит стимулированный лавинообразный переход атомов хрома в исходное состояние. Образовавшийся при спонтанном переходе фотон стимулирует переход на нижний уровень следующий атом хрома на длине рабочего тела, соизмеримой с длинной волны этого фотона (l2-1»0.7мкм). Новый фотон имеет такие же направление, фазу, поляризацию, как и возбуждающий фотон (т.е. получаем когерентное излучение) и такую же частоту n2-1 (т.е. монохромное излучение).
Лавинообразное размножение фотонов происходит только от светового потока, в котором фотоны направлены строго по оси оптического резонатора. Этот поток фотонов, многократно отражаясь от зеркал, лавинообразно нарастает и выходит через зеркало с частичным отражением практически в виде параллельного луча с ничтожно малым углом расхождения.
Потоки фотонов, имеющие другие направления, без существенного усиления излучаются рабочим телом через выходное зеркало или боковую поверхность. Излучение лазера прекращается, как только все атомы хрома перейдут на нижний уровень.
Для получения следующего импульса лазерного излучения необходимо зарядить конденсаторную батарею и инициировать зажигание лампы накачки.
Существенным недостатком твердотельных лазеров с оптической накачкой является низкий коэффициент полезного действия, его величина меньше 1%. Лазер требует интенсивного охлаждения. Частота импульсов излучения низкая (до 10 импульсов в минуту).
Дата добавления: 2015-07-18; просмотров: 1223;
