Robot Coupe S.A.
3. Машини для переробки м'яса та риби


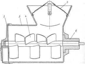
Рис. 8.8. М’ясорубка МИМ-105:1- циліндричний редуктор; 2 – електродвигун; 3- клинопасова передача; 4- вал; 5- хомут; 6- упорний підшипник; 7 – вихідний вал; 8- підшипник ковзання; 9 – косозубе колесо; 10 – втулка; 11 – вхідний вал; 12- радіальні шарикопідшипники; 13 – шестерня; 14 – вилка.
Перед початком роботи необхідно переконатися в надійності кріплення м’ясорубки. Перед завантажуванням в м’ясорубку м'яса і риби відділяють їх від кісток. В залежності від типу м’ясорубки передчасно нарізають на куски.
Збирання м’ясорубки: встановлюють в корпус м’ясорубки шнек таким чином, щоб хвостовик його увійшов в зачеплення з валом приводу, і встановлюють в залежності від необхідного степеню подрібнення продукту належить набір ріжучих інструментів.
Найважливіші правила техніки безпеки:
- проштовхування продукту у горловину завантажувальної тарілки необхідно здійснювати тільки дерев'яним товкачем;
- категорично забороняється знімати корпус м’ясорубки до повної зупинки електродвигуна;
-
очищення м’ясорубки після закінчення роботи проводиться при вимкненому електродвигуні.
Серія TI 12 – TI 22 Серія TI 32 Серія TS 22
Рис. 8.9. М’ясорубки фірми FAMA (Італія)
Всі частини м’ясорубок виготовлено з нержавіючої сталі, вони оснащені самозаточюваними ножами. Бункер завантаження виконано у відповідності з міжнародними стандартами з техніки безпеки. М’ясорубки комплектуються сис темами: “1/2 унгера” – підрізна решітка, решітка з отворами діаметром 3 мм, двосторонній ніж; “цілий унгер” – підрізна решітка, 2 решітки з отворами діаметром 5 і 3 мм, 2 двосторонніх ножа.
| Показники | Одиниці виміру | М'ясорубки | |||||||||
| МРЭ - 1,5 380-375 | МИМ- 300 | МИМ-600 | МИМ-500 | МИМ-82М | М2 (764) | МС-2 150 | МС-2 70 | ММП -II -I | УММ-2 | ||
| Продуктивність Діаметр решітки Потужність Габаритні розміри: довжина ширина висота Маса | кг/год мм кВт мм кг | 1,5 | - 1,5 | - 2,2 | 2,2 | 1,1 | 1,1 | 180..200 1,1 12,5 | 70...80 0,55 6,5 | 0,6/0,85 7,0 | 10...30 0,45 4,0 |
Таблиця 8.2.
Технічні характеристики м’ясорубок
М'ясорозпушувачі на підприємствах харчування використовуються для розрихлення порційних шматків м'яса. М’ясорозпушувачі приводять до дії індивідуальним електродвигуном чи УКМ. На підприємствах харчування використовують м’ясорозпушувачі МРМ -15, МС 19-1400 та МРП - II - 1.

Рис. 8.10. М'ясорозпушувач МРМ-15: а) розріз; б) загальний вигляд
1- корпус; 2 – ножові блоки; 3- гребінки; 4- кришка; 5 – каретка; 6- зубчасті напівмуфти; 7 - зубчасті циліндричні колеса; 8 – клинопасова передача; 9- черв’ячна передача; 10 – електродвигун.
Пилка для розпилювання мяса фірми FAMA (Італія)
Пилка використовується для нарізання крупних кусків мяса з кісткою в тому числі замороженого, а також напівфабрикатів з риби. Корпус пилки виконано з нержавіючої сталі з анодованим покриттям. Дана модель розроблена з урахуванням міжнародних стандартів з техніки безпеки, комплектуються механізмом для подавання продукту в зону різання. Полотно виконує рівний зріз без подрібнення кістки.
Продуктивність м’ясорубок визначається за формулою:
(8.1)
де F0- сумарна площа отворів в першій ножовій решітці, м2;
(8.2)
де d0 – діаметр одного отвору, м;
z0 – кількість отворів ножової решітки, шт.;
υ0 – швидкість руху продукту через отвори ножової решітки,
м2/с.
4 Машина для нарізання хліба.
На підприємствах харчування для нарізання хліба скибочками різної товщини використовуються хліборізки МРХ - 180, МРХ - 200, МРХ - 300М, АХМ - 300 (Болгарія).

Рис. 8.12. Машина для нарізання хліба МРХ-200:
1 – каретка; 2 – лоток завантаження; 3 – лоток розвантаження; 4– загорожа 5 – противага; 6- зірочка; 7 – гвинт; 8 – привідний вал; 9- вісь; 10 – ручка; 11- кронштейн; 12 – корпус; 13- вісь; 14- зірочка; 15 –стійка; 16 –гвинт; 17 –пристрій для загострення ножа; 18 – дисковий ніж; 19 – диск; 20 – фасонна гайка; 21 – захисна решітка; 22 – ручка; 23- клинопасова передача; 24 – фрикційне гальмо; 25 – електродвигун; 26- ланцюгова передача; 27 – ексцентрик; 28 – шатун; 29 – обгінна муфта; 30 - ходовий гвинт; 31 – ролик.

Рис. 8.13. Хліборізка моделі МКР-11.6 (фірма Lozamet)
Завдяки використанню статичного блоку ріжучих ножів, які мають спеціальну форму та пиловидну форму загострення машина має змогу нарізати до 150 батонів за годину. Швидкість нарізання регулюється в залежності від товщини нарізання та виду хліба.
Продуктивність хліборізок визначається за формулою:
(8.3)
де m- маса нарізаємої порції хліба, кг;
tз – час завантаження хліба, с;
tо – час нарізання порції хліба, с.

1. Класифікація подрібнювально-різальних машин.
2. Як класифікуються овочерізальні машини та механізми?
3. Будова, правила експлуатації овочерізального механізму МОП- ІІ- 1.
4. Будова та правила експлуатації машини та механізмів для нарізання варених овочів.
5. Класифікація м’ясопереробних машин та механізмів.
6. Будова та принцип дії м’ясорубок.
7. Які параметри впливають на якість дрібнення м'яса?
8. Особливості конструкції м’ясорозпушувачів.
9. Особливості конструкції та правила експлуатації хліборізок
Лекція 9. Місильно-перемішувальне обладнання
План лекції
1.Класифікація машин для перемішування.
2. Машини та механізми для перемішування.
3. Машини для замішування тіста.
4. Збивальні машини та механізми.
Література: [ 1, 2, 3, 6, 7, 8, 17, 18 ]
- Класифікація машин для перемішування
Перемішування - механічний процес утворення однорідного продукту з окремих компонентів ( сипких, рідких, газоподібних).
Вибір способу перемішування залежить від виду та стану сировини, що перемішується, ємності робочої камери, продуктивності машини, співвідношення дозованих компонентів, дотримання ступіні однорідності.
Ступінь однорідності маси визначають за формулою:
(9.1)
де a – середня концентрація речовин, задана вимогами
перемішування;
b –середнє арифметичне відхилення від заданої концентрації.
На практиці С=0,8…0,9.

2. Машини та механізми для перемішування.
Таблиця 9.1.
Технічні характеристики машин для перемішування
| Показники | Одиниці виміру | Марки | |||
| МС-8-150 | МС-4-7-8-20 | МС-25-200 | МП-II-I | ||
| Продуктивність Ємкість бачка Частота обертання робочих органів: навколоосі бачка навколо своєї осі | кг/год л с-1 | 0,71 3,0 | 6,2 2,9 |
Продовження табл.
| Габаритні розміри: довжина ширина висота Маса | мм кг |

Рис. 9.1 Фаршемішалка МС 8 – 150: 1 –заслінка; 2 – кришка; 3- корпус; 4 – лопаті; 5 – запобіжна хрестовина відкидний гвинт;6 –хвостовик.
3. Машини для замішування тіста.
Тістозамішувальні машини призначені для змішування компонентів та отримання однорідної суміші з води, муки, дріжджів, цукру, солі та масла, а також для надання їй визначених властивостей. В основному, вони мають аналогічні будови і відрізняються лише конструктивними особливостями.
Це сучасні машини ТММ – 2, А2 – ТХ2 – Б, машини фірми «РОСС», МТМ – 110, ТМ – 60 та ін.
Машини та механізми для приготування тіста – устаткування періодичної дії.
До ввімкнення в роботу необхідно перевірити надійність кріплення змінної діжі до платформи, після чого дозволяється випробувати роботу машини на холостому ходу. Накачування, скочування змінної діжі з платформи машини виконуються тільки при верхньому положенні місильного важеля і при вимкненому електродвигуні.

Рис.9.2. Тістомісильна машина марки SP 10
(виробництва фірми Avancini)
Таблиця 9.2
Технічні характеристики тістомісильних машин фірми Avancini
| Модель | SP 10 | SP 20 | SP 25 | SPE 40 |
| Габаритні розміри, мм | 520x280x580 | 690x390x670 | 740x420x720 | 810x480x950 |
| Вмістимість діжі, кг | ||||
| Мощность, кВт | 0,55 | 0,75 | 0,75 | 1,1 -1,4 |
| Напруга | 220В, 50Гц | |||
| Маса, кг | ||||
| Особливості моделей | Моделі мають не з'ємну діжу, рібочий інструмент (спіраль) та діжу виконану з нержавіючої сталі, 1 швидкість обертання спіралі | 2 швидкості обертання спіралі |
4. Збивальні машини
Технологічний процес у збивальних машинах розподіляється на три операції:
- рівномірність розподілу компонентів;
- розчинення окремих продуктів з утворенням однорідної маси;
- насичення рідинної суміші за рахунок складного руху збивача.
Робочою ємністю збивальних машин і механізмів є нерухомий циліндр з дном у вигляді шарового елементу. Робочими інструментами є легко змінні збивачі (рис.9.3).

Рис.9.3. Робочі органи збивальних машин та механізмів:
1, 3, 7, 9, 11, 15 – вінчики; 2, 4, 6, 13, 14 – плоско решітчасті; 5 – крюкоподібні; 8, 10, 12 – спарені плоско решітчасті; 16 – лопатевий.

Рис.9.4. Збивальна машина марки PL30VAR

5KPM50WH 5KSM90EWH
Рис. 9.5. Збивальні машини фірми KITCHENAID (Бельгія)
Збивальні машини фірми KITCHENAID мають компактне виконання, що дозволяє їх встановлювати на підприємствах з невеликими потужностями. Вони мають надійну конструкцію та безпечні в експлуатації. Ємності виконані з нержавіючої сталі та мають окрему пластикову кришку.

B5B В20A В30A / В40A В60А
Рис.9.6. Збивальні машини фірми KITCHENAID серії В
Таблиця 9.3.
Технічні характеристики збивальних машин серії В
| Модель | В5B | В20A | В30A | В40A | В60А |
| Габаритні розміри, мм | 422х279х475 | 550х420х790 | 600х530х890 | 630х560х950 | 870х630х1220 |
| Потужність, Вт | |||||
| Об’єм діжі, л | |||||
| Швидкість обертання робочого інструмента, об/хв | 130/485 | 108/188/403 | 88/168/292 | 88/168/292 | 82/132/288 |
| Маса, кг |
Збивальні машини та механізми це машини періодичної дії. Загальні правила експлуатації та техніки безпеки такі ж як для механічного устаткування.

Продуктивність фаршемішалок, тістомісильних та збивальних машин періодичної дії визначається за формулою:
(9.2)
де V- об’єм робочої камери, л; ρ – насипна маса фаршу, кг/м3;
φ – коефіцієнт завантаження діжі.

1. Класифікація перемішувальних машин (механізмів) за призначенням.
2. Як побудовано механізми для перемішування фаршів МС 4-7-8-20; МС 8-150? Правила експлуатації.
3. Класифікація та особливості конструкції машин для замішування тіста.
4. Конструкція робочих органів збивальних машин.
5. Класифікація та принцип дії машин та механізмів для збивання продуктів.
Лекція 10. Дозувально-формувальне устаткування
План лекції
1. Суттєвість процесів дозування та формування продуктів.
2. Класифікація дозувально - формувального устаткування.
3. Тісторозкатувальні та котлетоформувальні машини.
4. Машини для виготовлення вареників та пельменів.
Література:[1, 2 ,5, 6, 8, 19]
1. Суттєвість процесів дозування та формування продуктів.

- Класифікація дозувально - формувального устаткування
- Тісторозкачувальні та котлетоформувальні машини.
Тісторозкачувальні машини МНРТ - 130/600, МТР - 0,55/380 - 4 та типу МРТ - 60М мають робочі органи у вигляді двох стальних валиків, які розкачують тісто пластами або стрічками товщиною від 1 до 50 мм, з якіх виготовляють різні кондитерські вироби, а також лапшу домашню, пельмені, вареники тощо.

Рис.10.1. Тісторозкатувальна машина МРТ-60М:1-електродвигун; 2- тяга; 3-гвинт; 4-маховик; 5- стійка; 6- гвинт; 7- натяжний вал; 8 – ланцюг; 9 – стійка; 10- лоток завантаження; 11- запобіжна решітка; 12 – храповий механізм; 13 – валки; 14- кронштейн; 15- з’ємний бункер; 16- стійка; 17- протвінь; 18- привідний валик; 19- транспортер; 20- рама; 21- повітрезабірник; 22- стрічка; 23- редуктор; 24- ланцюгова передача; 25- ричав; 26- кулачкова муфта; 27- декоративний щит.
Котлетоформувальні машини призначені для формування та паніровки з однієї сторони виробів із м’ясного, рибного, картопляного фаршу, а також битків з манки круглої форми. Це машини безперервної дії.
Основні елементи: електродвигун, черв’ячний редуктор, кришка з завантажувальним бункером, шнек, формувальний стіл, бункер для сухарів, приймальний лоток, вертикальний вал.
На підприємствах харчування використовують: АФК - 1, АК2М - 40, МФК - 2240.

Рис.10.2. Автоматична універсальна панірувальна машина EconoCrumb.
Машина працює з любим видом панірувальної сировини, забезпечуючи повторне використання панірувальної суміші.
4. Машини для виготовлення вареників та пельменів.
Для виготовлення пельменів та вареників, а також пряників з різними начинками (картоплею, м’ясом, капустою, фруктово-ягідними фаршами) використовують варенично-пельменні машини та пельменні автомати (рис.10.3, рис.10.4).
Рис.10.3. Пельменний автомат JGL-120-5B

Рис.10.4. Пельменний автомат JGL-240
Продуктивність тісторозкатувальної машини визначається за формулою:
(10.1)
де Fo – площа щілини між розкатувальними валками, м2;
υо- швидкість руху стрічки тіста; м2/с;
ρ – щільність тіста, кг/м3;
φ- коефіцієнт завантаження щілини (0,6…0,8)
Продуктивність котлетоформувальної машини визначається за формулою:
(10.2)
де n- число обертів формувального столу, хв.-1;
z- кількість виробів вироблених за один оберт столу, шт.

1. Класифікація дозувально-формувального устаткування.
2. Будова та принципи дії тісторозкатувальних машин.
3. Будова, принцип дії котлетоформувальної машини.
4. Класифікація та будова машин для виготовлення вареників та пельменів.
Лекція 11. Пресуючи обладнання
План лекції
1. Суть процесу та обгрунтування вимог до конструкції сіковидавлювачів.
2. Визначення продуктивності.
Література:[ ]
1. Суть процессу та обґрунтування вимог до конструкції сіковидавлювачів.
Пресування –це механічний процес, сутність якого полягає в тому, що оброблювана сировина зазнає певного тиску, при цьому відбувається відокремлення рідини від твердого тіла.
Для отримання соку з плодів та овочів використовують сіковидавлювачі (рис. 11.1).
Рис. 11.1. Сіковидавлювач МС3-40:1-хвостовик; 2- корпус; 3- горловина; 4- шнек; 5- конічна сітка; 6- чаша для завантаження; 7- регулювальний гвинт; 8-лоток для вихіду жому;
9 – лоток для вихіду соку
2. Визначення продуктивності
Продуктивність сіковидавлювачів може бути визначена за формулою:
(11.1)
де rн – зовнішній радіус шнеку, м;
rв – радіус валу шнека, м;
s – крок першого витка шнека, м;
n – частота обертання шнека, хв.-1;
ρ – насипна маса продукту, кг/м3 ;
φ – коефіцієнт завантаження камери;
Кпр – коефіцієнт проковзування шнека разом з продуктом.

1. Призначення сіковидавлювачів.
2. Режими роботи та будова сіковидавлювачів.
Лекція 12. Підйомно-транспортне обладнання
План лекції
1. Класифікація підйомно-транспортного обладнання.
2. Навантажувально-розвантажувальні машини та механізми.
3. Вантажопідйомні машини та механізми.
4. Транспортуючі машини та установки.
Література:[20, 21, 22]
1. Класифікація підйомно-транспортного обладнання.
Підйомно-транспортне устаткування за принципом роботи поділяють на обладнання періодичної та безперервної дії, за напрямком переміщення вантажів – на механізми горизонтального, вертикального та змішаного переміщення.
Механізми періодичної дії поділяють на підйомники та засоби малої механізації (талі, лебідки, тельфери).
До механізмів безперервної дії відносяться транспортери (контейнери) різних систем.
2.Навантажувально-розвантажувальні машини та механізми.
Донавантажувально-розвантажувального обладнання відносять ручні теліжки, вирівнювальні площадки, самохідні теліжки. Дані машини та механізми призначені для навантаження, розвантаження та транспортування вантажів всередині виробничих та складських приміщень.

Рис.12.1. Ручні теліжки фірми Caddie (Франція)
3. Вантажопідйомні машини та механізми.
До вантажопідйомних машин та механізмів відносять ліфти, лебідки, талі та тельфери.
Лебідки –призначені для піднімання вантажів гнучким тяговим органом. Лебідки бувають з ручним або електричним приводом.
Талі і тельфери –використовуються для вертикального і горизонтального переміщення вантажів.
Ліфти - використовують для вертикального або сильно нахиленого переміщення вантажів на платформах або кабінах. Вони рухаються по напрямним.
4. Транспортуючі машини та установки.
Транспортери призначені для безперервного горизонтального переміщення вантажів. Розрізняють транспортери з гнучким тяговим органом, або без тягового органу.
До транспортерів з гнучким тяговим органом відносять стрічкові, пластинчасті та скребкові транспортери; до транспортерів без тягового органу відносять –роликові транспортери (рольганги), гвинтові транспортери.

1. Класифікація підйомно-транспортного обладнання
2. Види вантажопідйомного обладнання.
3. Класифікація транспортуючих пристроїв.
4. Конструктивні особливості транспортерів.
Лекція 13. Механізовані лінії обробки
продуктів і торгові автомати
План лекції
1. Комплексна механізація технологічних процесів в громадському харчуванні.
Література: [20, 21, 23]
1. Комплексна механізація технологічних процесів в громадському харчуванні.
На підприємствах харчування широко використовують лінії комплектації та видачі продукції (рис.13.1).

Рис. 13.1. Лінія „Modulfree” (Італія)
Лінії комплектації та роздачі обідів класифікують за наступними ознаками: за ступенем механізації, за конструктивними особливостями та асортиментом реалізуємої продукції.
За ступенем механізаціїлінії комплектації та видачі ділять на немеханізовані, механізовані та автоматичні.
За конструктивними особливостями – лінії комплектації поділяють на шість груп: немеханізовані –стаціонарні, пересувні та комбіновані; механізовані - періодичної та безперервної дії а також разові.

1. Призначення ліній комплектацій.
2. Класифікація обладнання для комплектації та видачі обідів.
3. Використання немеханізованих ліній комплектації обідів.
4. Використання механізованих ліній роздачі.
Лекція 14. Ваговимірювальне обладнання
План лекції
1. Основні данні ваговимірювального обладнання та його класифікація.
2. Вимоги, що ставляться до ваговимірювальних приладів.
Література: [8, 20, 21]
1. Основні данні ваговимірювального обладнання та його класифікація.
Класифікаціяваговимірювального обладнання відбувається за наступними ознаками: способом урівноваження; способом встановлення; видом вказуючого пристрою; максимальній границі взвішування.
Рис. 14.1. Ваги торгові електронні

Рис. 14.2. Ваги з функцією друкування етикеток
Рис.14.3. Ваги торгівельні серії ВР (АТ. „ТВЕС”, Росія)
2. Вимоги, що ставляться до ваговимірювальних приладів.
Ваговимірювальне обладнання повинне відповідати відповідним метрологічним, торгово-експлуатаційним та санітарно-гігієнічним вимогам.
До метрологічних вимог відносять точність вимірювання ваги, стійкість, чуттєвість, стабільність показників вимірювання; до торгово-експлуатаційних – висока швидкість вимірювання, наочність показань вимірювання, відповідність прибору характеру вимірюваної сировини, витривалість; до санітарно-гігієнічних вимог - нейтральність матеріалу з якого виготовлено ваги до харчових продуктів, зручність санітарної обробки.

1. Класифікація ваговимірювального устаткування.
2. Переваги електронних вагів над механічними.
3. Правила стандартизації та сертифікації вагів та гир.
Лекція 15. Контрольно-касове обладнання
План лекції
1. Призначення, класифікація та індексація контрольно-касового обладнання.
2. Принципова будова та характеристика основних вузлів контрольно-касових машин.
Література: [8, 20, 21]
1. Призначення, класифікація та індексація контрольно-касового обладнання.
Електронні контрольно-касові апарати (ЕККА) – це електричні пристрої, які призначені для реєстрації касових операцій, збору, зберігання, видачі фінансової та іншої інформації.
Для забезпечення цих вимог ЕККА повинні відповідати наступним вимогам:
- касовий апарат повинен забезпечувати фіскальні функції;
- вся інформація, яка зберігається у фіскальній пам’яті повинні надійно захищатися;
- надійність апарата;
- електробезпечність, електромагнітна сумісність;
- екологічність.
Державний реєстр нараховує більше 120 моделей ЕККА, які розподілено на 7 груп в залежності від функціональних можливостей:
1. Автономні стаціонарні електронно-касові апарати;
2. Портативні електронні контрольно-касові апарати;
3. Системні електронні контрольно-касові апарати;
4. Електронні контрольно-касові реєстратоти;
5. Компюторно-касові системи;
6. Спеціалізовані апарати для АЗС;
7. Електронні таксометри.

Рис. 15.1. ЕККА „SAMSUNG ЕR_350F UА”

Рис.15.2. ЕККА „КРОХА”
Рис. 15.3. ЕККА „ГНОМ”
2. Принципова будова та характеристика основних вузлів контрольно-касових машин.
Функціональна схема ЕККА
- Призначення ЕККА
- Класифікація ЕККА
- Функціональні можливості ЕККА
Перелік використаних джерел
1. Елхина В.Д., Богачёв М.К., Проничкина Л.П. Оборудование предприятий общественного питания. – Т.1.:Механическое оборудование. – М.: Экономика, 1987. – 447 с.
2. Кирпичников В.П., Леенсон Г.Х. Справочник механика. – М.: Экономика, 1990. – 383 с.
3. Одарченко М.С. Охрана праці на підприємствах харчування. –Харків, Основа, 1998.–427 с.
4. Гост 16318 – 77. Оборудование предприятий общественного питания. Термины и определения.
5. Шеляков О.П. Технологічне обладнання і холодильна техніка. – К.: Вища шк., 1996.
6. Каталог устаткування (механічного, теплового, холодильного) підприємств громадського харчування. І.О. Конвісер, Г.А. Бублик. Т.Б. Паригша. – К.: КДТЕУ, 1999.
7. Бублик Г.А. Механічне устаткування: Опорний конспект. – К.: КДТЕУ, 2001.
8. Дейниченко Г.В., Ефимова В.А., Постнов Г.М. Оборудование предприятий питания. Справочник. Ч. 1. – Харьков. Мир Техники и Технологии. 2002. – 256 с.
9. Електронний каталог фірми „Angelo Po” (Італія).
10. Електронний каталог фірми „METOS” (Фінляндія).
11. Електронний каталог фірми „Fagor”, (Італія).
12. Інформаційні листи НПО „РОСС” (м. Харків, Україна).
13. Електронний каталог фірми „La Cimbali”, (Італія).
14. Інформаційні листи фірми „Robot Coupe” (S.A.)
15. Електронний каталог фірми „FAMA ” (Італія).
16. Інформаційні листи фірми „Lozamet”.
17. Інформаційні листи фірми „Avancini ”.
18. Інформаційні листи фірми „KITCHENAID” (Бельгія).
19. Інформаційні листи фірми „Econo Crumb”.
20. Титова А.П., Шляхтина А.М. Торгово-технологическое оборудование. – М.: Экономика, 1983.-295 с.
21. Оборудование предприятий общественного питания: Т.2: Черевко А.И., Попов Л.Н. Торгово-технологическое оборудование. – М.: Экономика, 1988.-271 с.
22. Інформаційні листи фірми „Caddie” (Франція).
23. Інформаційні листи фірми „Modulfree” (Італія).
Дата добавления: 2015-08-26; просмотров: 3341;
